GM Service Manual Online
For 1990-2009 cars only

    Object Number: 338072  Size: SH

    Notice: Vehicles involved in accidents resulting in frame damage, major body or sheet metal damage, or where the steering column has been impacted, may also have a damaged or a misaligned steering column.

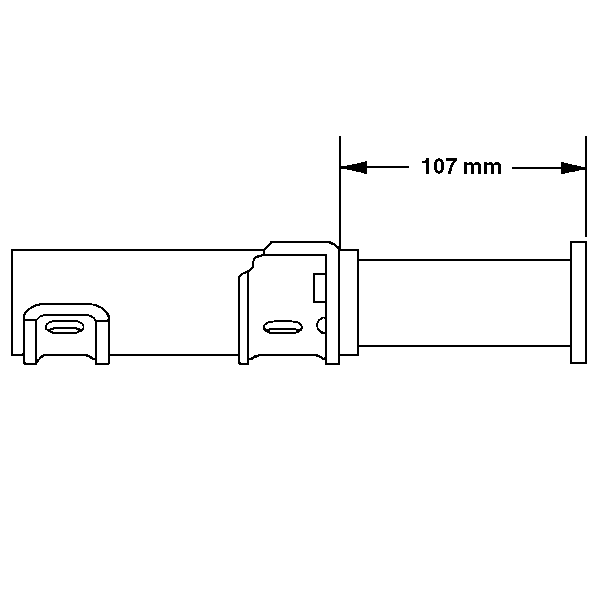
  1. Measure the distance from the lower edge of the upper jacket assembly to a defined point on the lower jacket assembly.
  2. Install a new jacket if measurement dimensions are not within specifications.

  3. Object Number: 303724  Size: SH
  4. Inspect the steering shaft for sheared injected plastic (1).
  5. Install a new steering shaft if the steering shaft contains sheared plastic.
  6. Important: The inflatable restraint steering wheel module coil must be removed from the steering column and allowed to hang freely before the shaft is rotated. Failure to do so could damage the inflatable restraint steering wheel module coil.

  7. Check steering shaft runout by rotating the steering wheel using a dial indicator (1) at the lower end of the steering shaft. Runout must not exceed 1.6 mm (0.0625 in).