GM Service Manual Online
For 1990-2009 cars only

Tools Required

J 41688 Centering Sphere Installer-Tilt Steering Wheel


    Object Number: 242906  Size: SH
  1. Inspect the centering sphere (1) and joint preload spring (2). Discard and replace if parts are worn or broken.

  2. Object Number: 242908  Size: SH
  3. Grease the centering sphere (1,3) with lithium grease.
  4. Grease the lower half of the sphere (3) in the upper shaft assembly engagement areas.
  5. Grease the upper half of the sphere (1) in the shaft engagement areas opposite to the greased area of the lower half of the sphere.
  6. Place the base of J 41688 in a vise.
  7. Place the following items in the base of J 41688 :
  8. 6.1. The lower half of the new centering sphere (3)
    6.2. The new joint preload spring (2)
    6.3. The upper half of the new centering sphere (1)
    6.4. The top half of J 41688

    Object Number: 299881  Size: SH
  9. Compress the joint preload spring.
  10. Rotate the driver 90 degrees clockwise.

  11. Object Number: 338070  Size: SH
  12. Ensure that the feet of the driver slide into the grooves in the base of J 41688 .
  13. Rotate the driver until the arms lock into place.

  14. Object Number: 242918  Size: SH
  15. Firmly attach the upper shaft assembly (2) to the centering sphere (1).
  16. Rotate the upper shaft assembly (2) 90 degrees downward. This locks the centering sphere (1) in place.

  17. Object Number: 299887  Size: SH
  18. Remove the following items from the vise:
  19. 13.1. The centering sphere installer
    13.2. The race and the upper shaft assembly
  20. Disassemble J 41688 by separating the base.
  21. Remove the shaft with the centering sphere attached from J 41688 .

  22. Object Number: 295954  Size: SH
  23. Apply lithium grease to the exposed shaft engagement area.
  24. Install the lower shaft assembly.
  25. Install the race and the upper shaft assembly to the lower shaft assembly.
  26. Tilt the race and the upper shaft assembly and the lower shaft assembly 90 degrees toward each other.

  27. Object Number: 338047  Size: SH

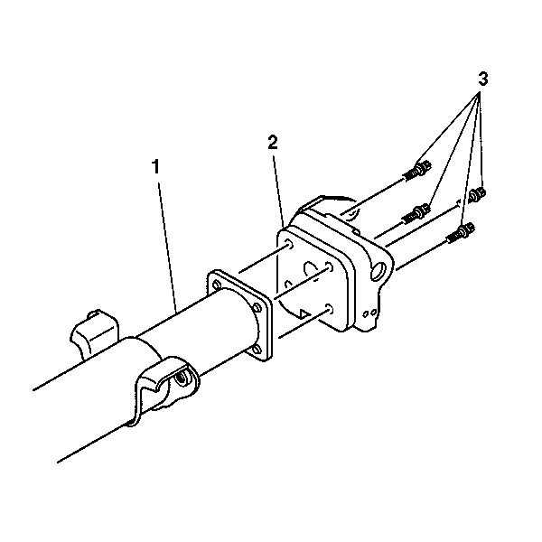
    Important: Replace the steering column support assembly (2) if the steering column support assembly (2) has been staked 3 times.

  28. Install the steering column support assembly (2) to the jacket assembly (1).
  29. Notice: Use the correct fastener in the correct location. Replacement fasteners must be the correct part number for that application. Fasteners requiring replacement or fasteners requiring the use of thread locking compound or sealant are identified in the service procedure. Do not use paints, lubricants, or corrosion inhibitors on fasteners or fastener joint surfaces unless specified. These coatings affect fastener torque and joint clamping force and may damage the fastener. Use the correct tightening sequence and specifications when installing fasteners in order to avoid damage to parts and systems.

  30. Secure by using the 4 new TORX® screws (3).
  31. Tighten
    Tighten the screws to 17 N·m (13 lb ft).


    Object Number: 338068  Size: SH
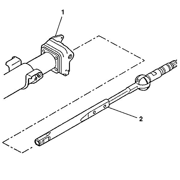
  32. Install the steering shaft assembly (2) to the steering column support assembly (1).
  33. Install the steering column tilt head. Refer to Steering Column Tilt Head Housing - Assemble - Off Vehicle .

  34. Object Number: 338026  Size: SH
  35. Position the tab on the adapter and bearing assembly (5) with the slot on the steering column jacket assembly.
  36. Push the adapter and bearing assembly (5) onto the steering column jacket assembly (6).
  37. Compress the lower bearing spring (3) to a length of 23-24 mm (0.91-0. 94 in) between the lower bearing seat (4), the steering wheel speed sensor assembly (2) and the lower spring retainer (1).

  38. Object Number: 338019  Size: SH
  39. Install the steering shaft seal (1) to the sensor retainer (2).
  40. Install the sensor retainer (2) to the steering shaft assembly (3).