GM Service Manual Online
For 1990-2009 cars only

    Important: The in-line filter, AC P/N 15-1760 must be installed to the AC evaporator tube (liquid line) between the condenser and the evaporator. The installation of the A/C refrigerant filter eliminates the need for flushing.

  1. Recover A/C. Refer to Refrigerant Recovery and Recharging .
  2. Raise the vehicle. Refer to Lifting and Jacking the Vehicle in General Information .
  3. Remove the right front fender liner. Refer to Front Fender Liner Replacement in Body Front End. It may be necessary to turn the front wheels all the way to the right.
  4. Important: Immediately cap or tape the open end of the condenser and the evaporator line to prevent contamination.

  5. Remove the evaporator line bolt at the condenser fitting.
  6. Important: The A/C refrigerant filter, AC P/N 15-1760 will have an orifice contained in it.

  7. Remove and discard the orifice tube.
  8. Wipe the AC line with a clean cloth before cutting.

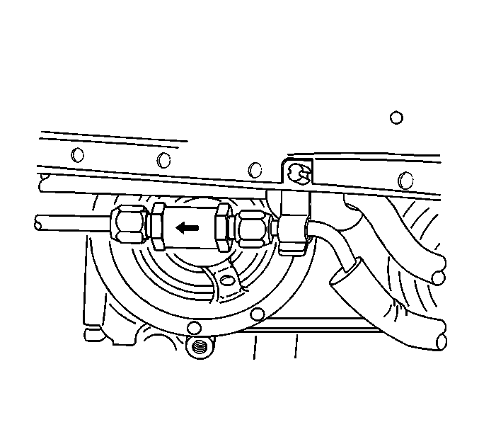
  9. Object Number: 700922  Size: SH
  10. Make two marks one and one half inches apart on the liquid line, approximately two inches away from the first line hanger and after the black foam line insulation.
  11. Important: Do not allow metal burrs from cutting the liquid line from dropping into the line and causing contamination.

  12. Using the line cutter, cut the liquid line at the marked position and remove any burrs.
  13. Notice: Use the correct fastener in the correct location. Replacement fasteners must be the correct part number for that application. Fasteners requiring replacement or fasteners requiring the use of thread locking compound or sealant are identified in the service procedure. Do not use paints, lubricants, or corrosion inhibitors on fasteners or fastener joint surfaces unless specified. These coatings affect fastener torque and joint clamping force and may damage the fastener. Use the correct tightening sequence and specifications when installing fasteners in order to avoid damage to parts and systems.

  14. Reconnect the evaporator line at the condenser fitting and install the bolt.
  15. Tighten
    Tighten the evaporator hose bolt to 25 N·m (18 lb ft).

  16. Remove the nuts, the ferrules and the O-rings from the in-line filter.

  17. Object Number: 700924  Size: SH

    Important: Do not install the O-rings at this step.

  18. Push the nuts and the ferrules over each of the liquid line halves. Install the ferrules with the small end toward the nut.
  19. Install the liquid line into the in-line filter making sure to bottom it out.
  20. While holding liquid line bottomed-out in filter, tighten the nuts securely.
  21. Disassemble the A/C refrigerant filter from the liquid line.
  22. Lubricate the O-rings with clean mineral base 525 viscosity refrigerant oil and install them onto the liquid line.
  23. Install the liquid line into the A/C refrigerant filter bottoming it out.

  24. Object Number: 700923  Size: SH
  25. While holding the liquid line bottomed-out in A/C refrigerant filter, tighten the nuts securely.
  26. Tighten
    Tighten the nuts to 15 N·m (11 lb ft).

  27. Leak test the fittings of the component using the J 39400-A .
  28. Install the right front fender liner. Refer to Front Fender Liner Replacement in Body Front End.
  29. Lower the vehicle.