GM Service Manual Online
For 1990-2009 cars only
Makes
🢒
Chevrolet
🢒
2001
🢒
Alero Export
🢒
Body and Accessories
🢒
Doors
🢒 Door Lock/Indicator Schematics
Figure
1:
Door Lock Motors
Master Electrical Component List
Power Door Locks Description and Operation
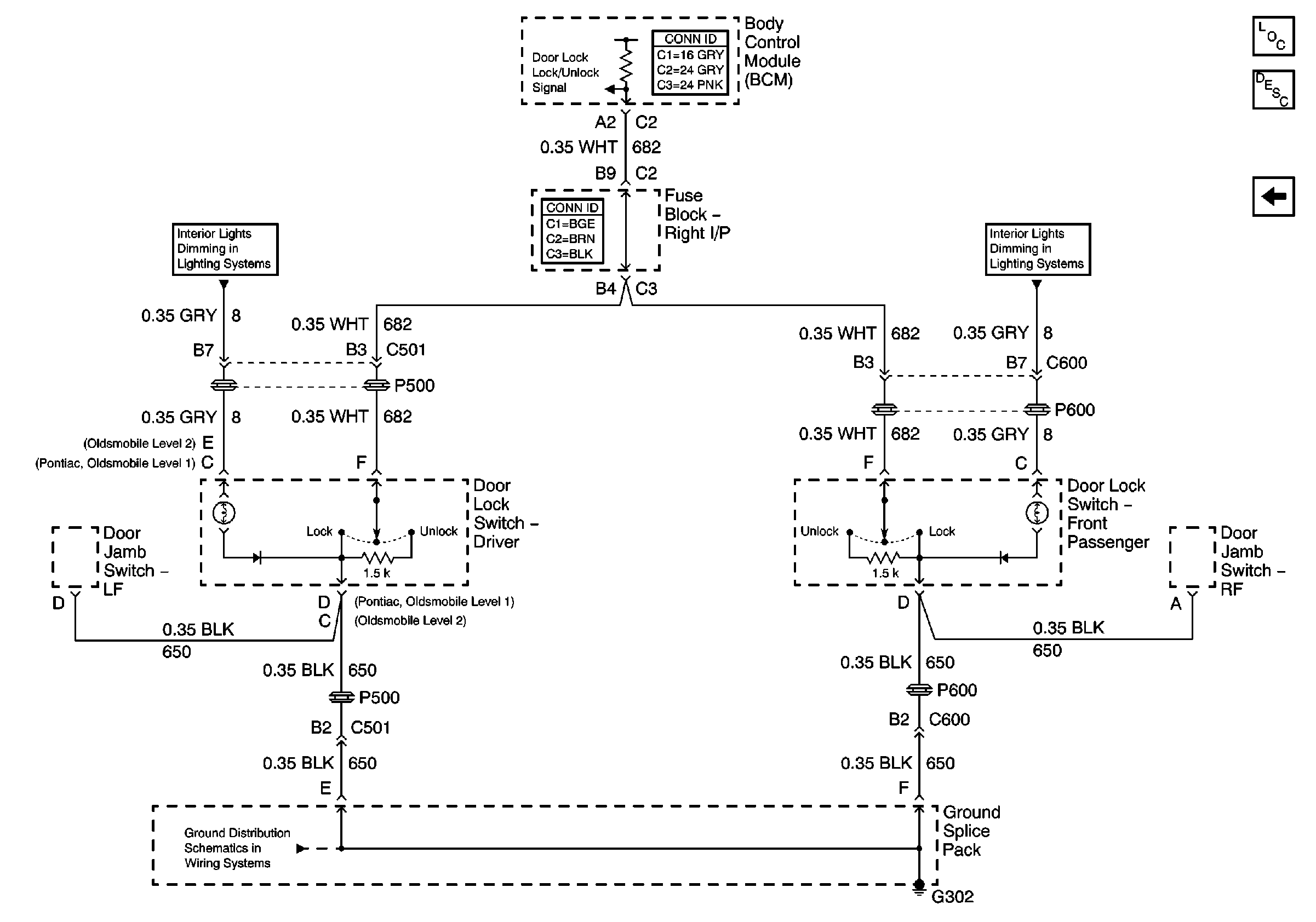
Door Lock Switches
LH BEC BATT1, AUX PWR/CIGAR, PARK LPS, PCM BATT, PWR MIRROR, DR LOCK, TRUNK REL/RFA/Radio Amp Fuses, and RWR SEAT Circuit Breaker
G201
Figure
2:
Door Lock Switches
Master Electrical Component List
Power Door Locks Description and Operation
Door Lock Motors
Pontiac Door Switches
Pontiac Door Switches
G302