GM Service Manual Online
For 1990-2009 cars only

Removal Procedure

  1. Place the rear door window to the down position.
  2. Remove the rear door trim panel. Refer to Rear Side Door Trim Panel Replacement .
  3. Remove the rear door water deflector. Refer to Rear Side Door Water Deflector Replacement .

  4. Object Number: 276426  Size: SH
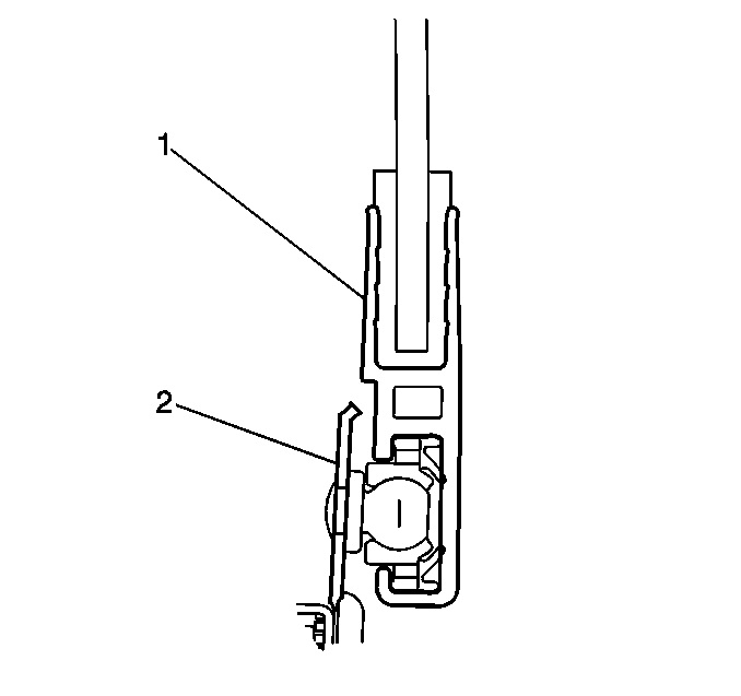
  5. Remove the window to regulator bolts.
  6. Remove the sealing strip, rear door belt inner. Refer to Rear Door Window Belt Inner Sealing Strip Replacement .
  7. Remove the sealing strip, rear door belt outer. Refer to Rear Door Window Belt Outer Sealing Strip Replacement .
  8. Remove the rear door window frame applique. Refer to Rear Door Frame Applique Replacement .

  9. Object Number: 276425  Size: MH
  10. Remove the rear door window weather strip as necessary.
  11. Remove the rear door window (1).

Installation Procedure


    Object Number: 276425  Size: MH
  1. Position the rear door window (1) in the door.
  2. Install the window weatherstrip.

  3. Object Number: 276426  Size: SH

    Notice: Use the correct fastener in the correct location. Replacement fasteners must be the correct part number for that application. Fasteners requiring replacement or fasteners requiring the use of thread locking compound or sealant are identified in the service procedure. Do not use paints, lubricants, or corrosion inhibitors on fasteners or fastener joint surfaces unless specified. These coatings affect fastener torque and joint clamping force and may damage the fastener. Use the correct tightening sequence and specifications when installing fasteners in order to avoid damage to parts and systems.

  4. Install the window to regulator bolts.
  5. Tighten
    Tighten the window to regulator bolts to 10 N·m (89 lb in).

  6. Install the sealing strip, belt inner. Refer to Rear Door Window Belt Inner Sealing Strip Replacement .
  7. Install the sealing strip, belt outer. Refer to Rear Door Window Belt Outer Sealing Strip Replacement .
  8. Install the rear door window frame applique. Refer to Rear Door Frame Applique Replacement .
  9. Install the rear door water deflector. Refer to Rear Side Door Water Deflector Replacement .
  10. Install the rear door trim panel. Refer to Rear Side Door Trim Panel Replacement .