GM Service Manual Online
For 1990-2009 cars only

Tools Required

J 38778 Door Trim Pad Clip Remover

Removal Procedure

  1. Using J 38778 , disengage the door trim panel insert retainers.
  2. Disconnect the electrical connector to the door upper speaker, if equipped.

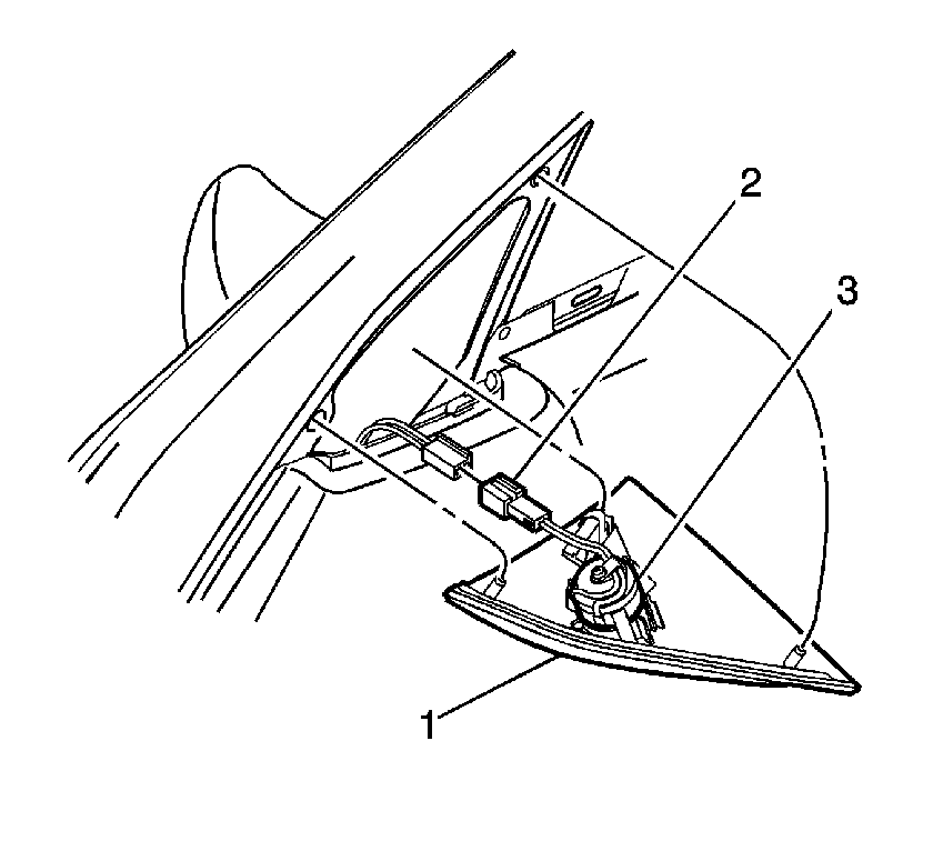
  3. Object Number: 331650  Size: SH
  4. Remove the front door upper trim plate (1).
  5. Remove the door upper speaker from the door upper trim plate, if equipped.
  6. Disengage the retaining clips.

Installation Procedure

  1. Install the door upper speaker to the door upper trim plate, if equipped.
  2. Engage the retainer clips.

  3. Connect the electrical connector to the door upper speaker.

  4. Object Number: 331650  Size: SH
  5. Install the front door upper trim plate (1).

  6. Object Number: 331651  Size: SH
  7. Insert the tabs to the retainers (1).

  8. Object Number: 331649  Size: SH
  9. Apply pressure in order to secure the front door upper trim plate (1).