GM Service Manual Online
For 1990-2009 cars only

EBCM and BPMV


Object Number: 650882  Size: MF
(1)Electronic Brake Control Module (EBCM)
(2)Brake Pressure Modulator Valve (BPMV)

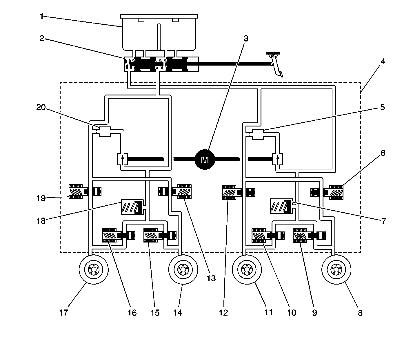
BPMV Hydraulic Flow


Object Number: 468767  Size: LF
(1)Master Cylinder Reservoir
(2)Master Cylinder
(3)Pump
(4)Brake Pressure Modulator Valve (BPMV)
(5)Damper
(6)Right Rear Inlet Valve
(7)Accumulator
(8)Right Rear Brake
(9)Right Rear Outlet Valve
(10)Left Front Outlet Valve
(11)Left Front Brake
(12)Left Front Inlet Valve
(13)Left Rear Inlet Valve
(14)Left Rear Brake
(15)Left Rear Outlet Valve
(16)Right Front Outlet Valve
(17)Right Front Brake
(18)Accumulator
(19)Right Front Inlet Valve
(20)Damper

This vehicle is equipped with the DBC7 antilock braking system.

The vehicle is equipped with the following braking systems:

    • Antilock Brake System (ABS)
    • Dynamic Rear Proportioning (DRP)
    • Traction Control System (TCS) (w/NW7)

The following components are involved in the operation of the above systems:

    • Electronic Brake Control Module (EBCM) - The EBCM controls the system functions and detects failures.
        The EBCM contains the following components:
       - System Relay - The system relay is energized when the ignition is ON and no ABS DTCs are present. It supplies battery positive voltage to the solenoid valves and pump motor.
       - Vent Tube - The vent tube, located in the EBCM connector, is an opening to the internal cavity of the EBCM. It allows ventilation of the EBCM internals.
    • Brake Pressure Modulator Valve (BPMV) - The BPMV contains the hydraulic valves and pump motor that are controlled electrically by the EBCM. The BPMV uses a 4 circuit configuration with a diagonal split. The BPMV directs fluid from the reservoir of the master cylinder to the left front and right rear wheels and fluid from the other reservoir to the right front and left rear wheels. The diagonal circuits are hydraulically isolated so that a leak or malfunction in one circuit will allow continued braking ability on the other.
        The BPMV contains the following components:
       - Pump Motor
       - Inlet Valves (one per wheel)
       - Outlet Valves (one per wheel)
    • Wheel Speed Sensors (WSS) - As the wheel spins, the wheel speed sensor produces an AC signal. The EBCM uses this AC signal to calculate wheel speed. The wheel speed sensors are replaceable only as part of the wheel hub and bearing assemblies.
    • Traction Control Switch (w/NW7) - The TCS is manually disabled or enabled using the traction control switch.
    • Stoplamp Switch - The EBCM uses the stoplamp switch as an indication that the brake pedal is applied.

Initialization Sequence

The EBCM performs 1 initialization test each ignition cycle. The initialization of the EBCM occurs when 1 set of the following conditions occur:

Both of the following conditions occur:

    • The EBCM detects that there is a minimum of 500 RPM from the PCM via a serial data message.
    • The stop lamp switch is not applied.

OR

Both of the following conditions occur:

    • The vehicle speed is greater than 16 km/h (10 mph).
    • The stop lamp switch is applied.

The initialization sequence may also be commanded with a scan tool.

The initialization sequence cycles each solenoid valve and the pump motor, as well as the necessary relays, for approximately 1.5 seconds to check component operation. The EBCM sets a DTC if any error is detected. The initialization sequence may be heard and felt while it is taking place, and is considered part of normal system operation.

The EBCM defines a drive cycle as the completion of the initialization sequence.

Antilock Brake System

When wheel slip is detected during a brake application, the ABS enters antilock mode. During antilock braking, hydraulic pressure in the individual wheel circuits is controlled to prevent any wheel from slipping. A separate hydraulic line and specific solenoid valves are provided for each wheel. The ABS can decrease, hold, or increase hydraulic pressure to each wheel brake. The ABS cannot, however, increase hydraulic pressure above the amount which is transmitted by the master cylinder during braking.

During antilock braking, a series of rapid pulsations is felt in the brake pedal. These pulsations are caused by the rapid changes in position of the individual solenoid valves as the EBCM responds to wheel speed sensor inputs and attempts to prevent wheel slip. These pedal pulsations are present only during antilock braking and stop when normal braking is resumed or when the vehicle comes to a stop. A ticking or popping noise may also be heard as the solenoid valves cycle rapidly. During antilock braking on dry pavement, intermittent chirping noises may be heard as the tires approach slipping. These noises and pedal pulsations are considered normal during antilock operation.

Vehicles equipped with ABS may be stopped by applying normal force to the brake pedal. Brake pedal operation during normal braking is no different than that of previous non-ABS systems. Maintaining a constant force on the brake pedal provides the shortest stopping distance while maintaining vehicle stability.

Pressure Hold

The EBCM closes the inlet valve and keeps the outlet valve closed in order to isolate the system when wheel slip occurs. This holds the pressure steady on the brake so that the hydraulic pressure does not increase or decrease.

Pressure Decrease

The EBCM decreases the pressure to individual wheels during a deceleration when wheel slip occurs. The inlet valve is closed and the outlet valve is opened. The excess fluid is stored in the accumulator until the return pump can return the fluid to the master cylinder.

Pressure Increase

The EBCM increases the pressure to individual wheels during a deceleration in order to reduce the speed of the wheel. The inlet valve is opened and the outlet valve is closed. The increased pressure is delivered from the master cylinder.

Traction Control System (TCS) (NW7)

When drive wheel slip is noted while the brake is not applied, the EBCM will enter traction control mode.

The EBCM requests the PCM to reduce the amount of torque to the drive wheels via serial data messages. The PCM reduces torque to the drive wheels by retarding spark timing and turning off fuel injectors. The PCM reports the amount torque delivered to the drive wheels via serial data messages.

Dynamic Rear Proportioning (DRP)

The dynamic rear proportioning (DRP) is a control system that replaces the hydraulic proportioning function of the mechanical proportioning valve in the base brake system. The DRP control system is part of the operation software in the EBCM. The DRP uses active control with existing ABS in order to regulate the vehicle's rear brake pressure.

The red brake warning indicator is illuminated when the dynamic rear proportioning function is disabled.

Brake System Indicator

The IPC illuminates the brake indicator when the following occurs:

    • The body control module (BCM) detects that the park brake is engaged. The IPC receives a class 2 message from the BCM indicating the park brake status. If the vehicle speed is greater than 5 km/h (3.1 mph) with the park brake engaged, the BCM sends a class 2 message to the radio in order to activate an audible warning.
    • The electronic brake control module (EBCM) detects a low brake fluid condition (signal circuit is low). The IPC receives a class 2 message from the EBCM requesting illumination. The IPC sends a class 2 message to the BCM indicating that the brake indicator is illuminated due to a brake malfunction. The BCM sends a class 2 message to the radio in order to activate an audible warning.
    • The EBCM detects a malfunction in the braking system. The IPC receives a class 2 message from the EBCM requesting illumination. The IPC sends a class 2 message to the BCM indicating that the brake indicator is illuminated due to a brake malfunction. The BCM sends a class 2 message to the radio in order to activate an audible warning.
    • The IPC performs the displays test at the start of each ignition cycle. The indicator illuminates for approximately 3 seconds.
    • The IPC detects a loss of class 2 communications with the EBCM.

ABS Indicator

The IPC illuminates the ABS indicator when the following occurs:

    • The electronic brake control module (EBCM) detects a malfunction with the antilock brake system. The IPC receives a class 2 message from the EBCM requesting illumination. The IPC sends a class 2 message to the body control module (BCM) indicating that the ABS indicator is illuminated. The BCM sends a class 2 message to the radio in order to activate an audible warning.
    • The IPC performs the displays test at the start of each ignition cycle. The indicator illuminates for approximately 3 seconds.
    • The IPC detects a loss of class 2 communications with the EBCM.

Traction Control System Indicator(s)

Low Traction

The IPC illuminates the low traction indicator when the following occurs:

    • The electronic brake control module (EBCM) detects a traction control event. The IPC receives a class 2 message from the EBCM requesting illumination.
    • The IPC performs the displays test at the start of each ignition cycle. The indicator illuminates for approximately 3 seconds.

Traction Off

The IPC illuminates the traction off indicator when the following occurs:

    • The electronic brake control module (EBCM) inhibits the traction control system. The IPC receives a class 2 message from the EBCM requesting illumination. The traction control system is disabled when the following occurs:
       - For Chevrolet only, the shift lever is in FIRST (1) or SECOND (2) gear. The EBCM receives a class 2 message from the powertrain control module (PCM) indicating the gear position.
       - For Pontiac and Oldsmobile only, the body control module (BCM) detects that the traction control switch is pressed (signal circuit is low). The EBCM receives a class 2 message from the BCM indicating the switch status.
       - The BCM detects that the park brake is engaged (signal circuit is low) and that the engine is on. The EBCM receives a class 2 message from the BCM indicating the park brake status.
       - The PCM detects certain malfunctions and is unable to perform torque reduction requests from the EBCM. The EBCM receives a class 2 message from the PCM indicating that traction control cannot be performed.
    • The EBCM detects a malfunction in the traction control system. The IPC receives class 2 messages from the EBCM requesting illumination of both the service vehicle soon and traction off indicators.
    • The IPC performs the displays test at the start of each ignition cycle. The indicator illuminates for approximately 3 seconds.