GM Service Manual Online
For 1990-2009 cars only
Figure 1:

Intake and Exhaust Manifold Components


Object Number: 645901  Size: LF
(1)Fuel Return Line
(2)Fuel Pressure Regulator Vacuum Harness
(3)Fuel Line
(4)Fuel Rail (with Injectors)
(5)Fuel Injector Harness
(6)Fuel Rail to Cylinder Head Bolt
(7)Fuel Line Retainer Bolt
(8)Fuel Line Retainer
(9)Fuel Line Seal
(10)Fuel Line Retainer
(11)Fuel Line Retainer Bolt
(12)Oil/Air Separator Fresh Air Tube
(13)Throttle Cable Bracket
(14)Throttle Body to Intake Manifold Bolt
(15)Throttle Body
(16)Throttle Body to Intake Manifold Bolt
(17)Manifold Absolute Pressure Sensor
(18)MAP Sensor Vacuum Line
(19)Fuel Rail Bracket
(20)Intake Manifold to Cylinder Head Bolt
(21)Intake Manifold to Cylinder Head Nut
(22)Intake Manifold
(23)Oil/Air Separator to Engine Block Bolt
(24)Oil/Air Separator
(25)Oil/Air Separator Foul Air Tube
(26)Intake Manifold to Cylinder Head Stud
(27)Oil/Air Separator Tube Clamp
(28)Cylinder Head
(29)Exhaust Manifold Gasket
(30)Exhaust Manifold to Cylinder Head Nut
(31)Exhaust Manifold to Cylinder Head Stud
(32)Exhaust Manifold Heat Shield
(33)Exhaust Manifold Heat Shield to Exhaust Manifold Bolt
(34)Exhaust Manifold
(35)Oxygen Sensor
Figure 2:

Cylinder Head and Components


Object Number: 188569  Size: LF
(1)Ignition Cover Bolt
(2)Ignition Cover Washer
(3)Exhaust Camshaft End Cover Gasket
(4)Exhaust Camshaft Housing End Cover
(5)Exhaust Camshaft Housing End Cover Bolt
(6)Cup Plug
(7)Air Intake Preplenum Bracket
(8)Air Intake Preplenum Bracket Nut
(9)Camshaft Housing Bolt
(10)Camshaft Housing Bolt
(11)Intake Camshaft Housing Cover
(12)Camshaft Position Sensor
(13)Camshaft Position Sensor Bolt
(14)Intake Camshaft
(15)Intake Camshaft Housing Cover Seal
(16)Oil Pressure Sending Unit
(17)Intake Camshaft Housing Cover Seal
(18)Intake Camshaft Housing
(19)Intake Camshaft Housing to Cylinder Head Gasket
(20)Engine Coolant Air Bleed Line
(21)Oxygen Sensor Wiring Harness Clip
(22)Engine Coolant Air Bleed Line Bolt
(23)Engine Coolant Air Bleed Line Seal
(24)Engine Coolant Temperature Sensor
(25)Engine Water Outlet Bolt
(26)Engine Water Outlet
(27)Engine Water Outlet Gasket
(28)Engine Cylinder Head
(29)Camshaft Housing to Cylinder Head Alignment Pin
(30)Cylinder Head Water Jacket Core Plug
(31)Cylinder Head Bolt
(32)Exhaust Valve Seat
(33)Exhaust Valve
(34)Cylinder Head Gasket
(35)Engine Block
(36)Intake Valve
(37)Intake Valve Seat
(38)Cylinder Head Water Jacket Core Plug
(39)Cylinder Head Bolt
(40)Valve Guide
(41)Valve Spring Seat (Exhaust Valves Only)
(42)Valve Stem Seal
(43)Valve Spring
(44)Valve Spring Retainer
(45)Valve Rotator (Intake Valves Only)
(46)Valve Spring Keepers
(47)Exhaust Camshaft Housing to Cylinder Head Gasket
(48)Exhaust Camshaft Housing
(49)Exhaust Camshaft Housing Oil Passage Cup Plug
(50)Exhaust Camshaft Housing Cover Seal
(51)Exhaust Camshaft Housing Cover Seal
(52)Valve Lifter
(53)Camshaft Housing to Camshaft Housing Cover Alignment Pin
(54)Camshaft to Camshaft Sprocket Alignment Pin
(55)Exhaust Camshaft
(56)Exhaust Camshaft Housing Cover
(57)Camshaft Housing Bolt
(58)Camshaft Housing Bolt
(60)Spark Plug
(61)Electronic Ignition Cover
Figure 3:

Cylinder Block and Components


Object Number: 588888  Size: LF
(1)Piston Ring -- Second Compression Ring
(2)Piston Ring -- Oil Control Rings
(3)Connecting Rod Cap Bolt
(4)Connecting Rod Cap Bolt Nut
(5)Cylinder Head Alignment Dowels
(6)Engine Block
(7)Oil Passage Plug
(8)Transmission to Engine Block Alignment Pin
(9)Crankshaft Position Sensor Bolt
(10)Crankshaft Position Sensor
(11)Oil Passage Plug
(12)Rear Crankshaft Seal Carrier Bolt
(13)Rear Crankshaft Seal
(14)Clutch Disc (Manual Transmission Only)
(15)Clutch Cover (Manual Transmission Only)
(16)Flywheel to Crankshaft Bolt
(17)Clutch Cover to Flywheel Alignment Pin
(18)Flywheel to Crankshaft Bolt
(19)Flywheel Spacer
(20)Flywheel
(21)Engine Block to Rear Crankshaft Seal Carrier Alignment Pin
(22)Rear Crankshaft Seal Carrier
(23)Rear Crankshaft Seal Carrier Gasket
(24)Transmission to Engine Block Alignment Pin
(25)Accessory Drive Belt Tensioner Bracket Bolt
(26)Accessory Drive Belt Tensioner and Bracket
(27)Oil Filter Bypass Valve
(28)Oil/Air Separator Splash Shield
(29)Oil/Air Separator Splash Shield to Engine Block Bolt
(30)Crankshaft Bearing Upper Half
(31)Crankshaft Bearing Upper Half
(32)Crankshaft
(33)Balance Shaft Drive Sprocket
(34)Crankshaft Bearing Lower Half
(35)Crankshaft Bearing Lower Half
(36)Crankshaft Bearing Cap
(37)Crankshaft Bearing Cap Bolt
(38)Crankshaft Bearing Cap
(39)Crankshaft Bearing Cap
(40)Crankshaft Bearing Cap
(41)Crankshaft Bearing Cap
(42)Crankshaft Bearing Lower Half
(43)Crankshaft Balancer Bolt
(44)Crankshaft Balancer Bolt Washer
(45)Crankshaft Balancer
(46)Timing Chain Drive Sprocket
(47)Crankshaft Damper and Timing Chain Sprocket Alignment Key
(48)Crankshaft Bearing Upper Half
(49)Engine Block to Timing Chain Housing Alignment Pins
(50) Timing Chain Housing to Engine Block Gasket
(51)Oil Passage Plug
(52)Oil Passage Plug
(53)Oil Passage Plug
(54)Cylinder Head Oil Check Valve
(55)Oil Passage Plug
(56)Knock Sensor
(57)Connecting Rod Bearing Cap
(58)Connecting Rod Bearing
(59)Connecting Rod
(60)Piston Pin Locking Ring
(61)Piston Pin
(62)Piston
(63)Piston Ring -- Oil Ring Spacer
(64)Piston Ring -- Top Compression Ring
Figure 4:

Timing Chain and Housing Components


Object Number: 188573  Size: LF
(1)Water Pump Cover
(2)Water Pump Cover to Pump Bolt
(3)Water Pump Cover to Pump Bolt
(4)Water Pump Cover to Pump Bolt
(5)Water Pump Cover to Engine Block Gasket
(6)Timing Chain Housing to Cam Carrier Gasket
(7)Engine Block
(8)Timing Chain Housing
(9)Timing Chain Housing to Block Bolt
(10)Timing Chain Housing to Block Bolt
(11)Timing Chain Tensioner
(12)Timing Chain Tensioner Shoe Stud
(13)Timing Chain Tensioner Bolt
(14)Timing Chain Tensioner Shoe
(15)Timing Chain Guide
(16)Timing Chain Guide
(17)Timing Chain Housing to Cover Gasket
(18)Timing Chain Housing to Cover Gasket (Outer)
(19)Front Crankshaft Seal
(20)Front Engine Mount Bracket
(21)Front Engine Mount Bracket Bolt
(22)Vacuum Line Bracket
(23)Engine Front Cover to Timing Chain Housing Bolt
(24)Engine Front Cover
(25)Engine Front Cover to Timing Chain Housing Nut
(26)Timing Chain
(27)Camshaft Sprocket to Camshaft Bolt
(28)Camshaft Sprocket
(29)Timing Chain Housing to Camshaft Carrier Bolt
(30)Timing Chain Guide
(31)Water Pump to Timing Chain Housing Gasket
(32)Water Pump
(33)Water Pump to Timing Chain Housing Nut
(34)Water Pump to Water Pump Cover Gasket
(35)Water Pump Cover to Engine Block Bolt
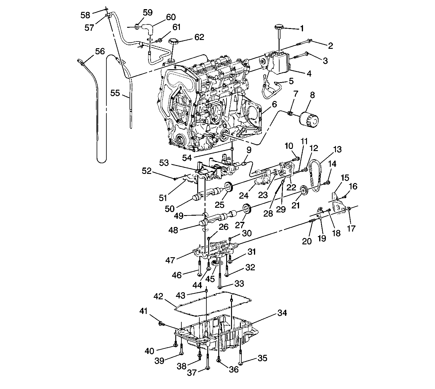
Figure 5:

Oil Pan and Balance Shaft Components


Object Number: 188576  Size: LF
(1)Power Steering Fluid Level Indicator
(2)Power Steering Pump to Camshaft Carrier Bolt
(3)Power Steering Pump to Camshaft Carrier Bolt
(4)Power Steering Pump and Reservoir
(5)Power Steering High Pressure Line
(6)Engine Block
(7)Oil Filter Adapter
(8)Oil Filter
(9)Oil Pump to Balance Shaft Housing Alignment Pin
(10)Oil Pump to Balance Shaft Housing Bolt
(11)Oil Pump to Balance Shaft Housing Alignment Pin
(12)Oil Pump to Balance Shaft Housing Bolt
(13)Balance Shaft Drive Chain
(14)Balance Shaft Driven Sprocket Bolt
(15)Balance Shaft Chain Cover
(16)Balance Shaft Drive Chain Cover Bolt
(17)Balance Shaft Drive Chain Cover Nut
(18)Balance Shaft Drive Chain Guide Bolt
(19)Balance Shaft Drive Chain Guide
(20)Balance Shaft Drive Chain Cover Stud
(21)Balance Shaft Driven Sprocket
(22)Oil Pump Cover
(23)Oil Pump Gerotor Assembly
(24)Oil Pump Housing
(25)Balance Shaft Driven Gear
(26)Balance Shaft Housing Alignment Pin
(27)Balance Shaft Drive Gear
(28)Oil Pump Pressure Relief Valve Spring
(29)Oil Pump Pressure Relief Valve
(30)Balance Shaft Housing Alignment Pin
(31)Balance Shaft Housing Bolt
(32)Balance Shaft Housing Bolt
(33)Balance Shaft Housing Bolt
(34)Oil Pan
(35)Oil Pan to Engine Block Bolt
(36)Oil Pan to Engine Block Bolt
(37)Oil Pan to Engine Block Bolt
(38)Oil Pan to Engine Block Bolt
(39)Oil Pan to Engine Block Bolt
(40)Oil Pan to Engine Block Bolt
(41)Oil Pan to Engine Block Bolt
(42)Engine Oil Pan Gasket
(43)Engine Oil Pan Alignment Pin
(44)Balance Shaft Housing Bolt
(45)Engine Oil Pick Up Screen
(46)Balance Shaft Housing Bolt
(47)Balance Shaft Housing -- Lower
(48)Balance Shaft
(49)Balance Shaft Bearing
(50)Balance Shaft
(51)Balance Shaft Housing End Plate
(52)Balance Shaft Housing End Plate Bolt
(53)Balance Shaft Housing -- Upper
(54)Balance Shaft Housing Alignment Pin
(55)Oil Level Indicator Tube
(56)Oil Level Indicator
(57)Power Brake Vacuum Harness
(58)Power Brake Vacuum Harness Bolt
(59)Power Brake Vacuum Harness Clamp
(60)Power Brake Vacuum Harness Connector
(61)Power Brake Vacuum Harness Bolt
(62)Engine Oil Fill Cap