GM Service Manual Online
For 1990-2009 cars only
Makes
🢒
Chevrolet
🢒
2001
🢒
Alero Export
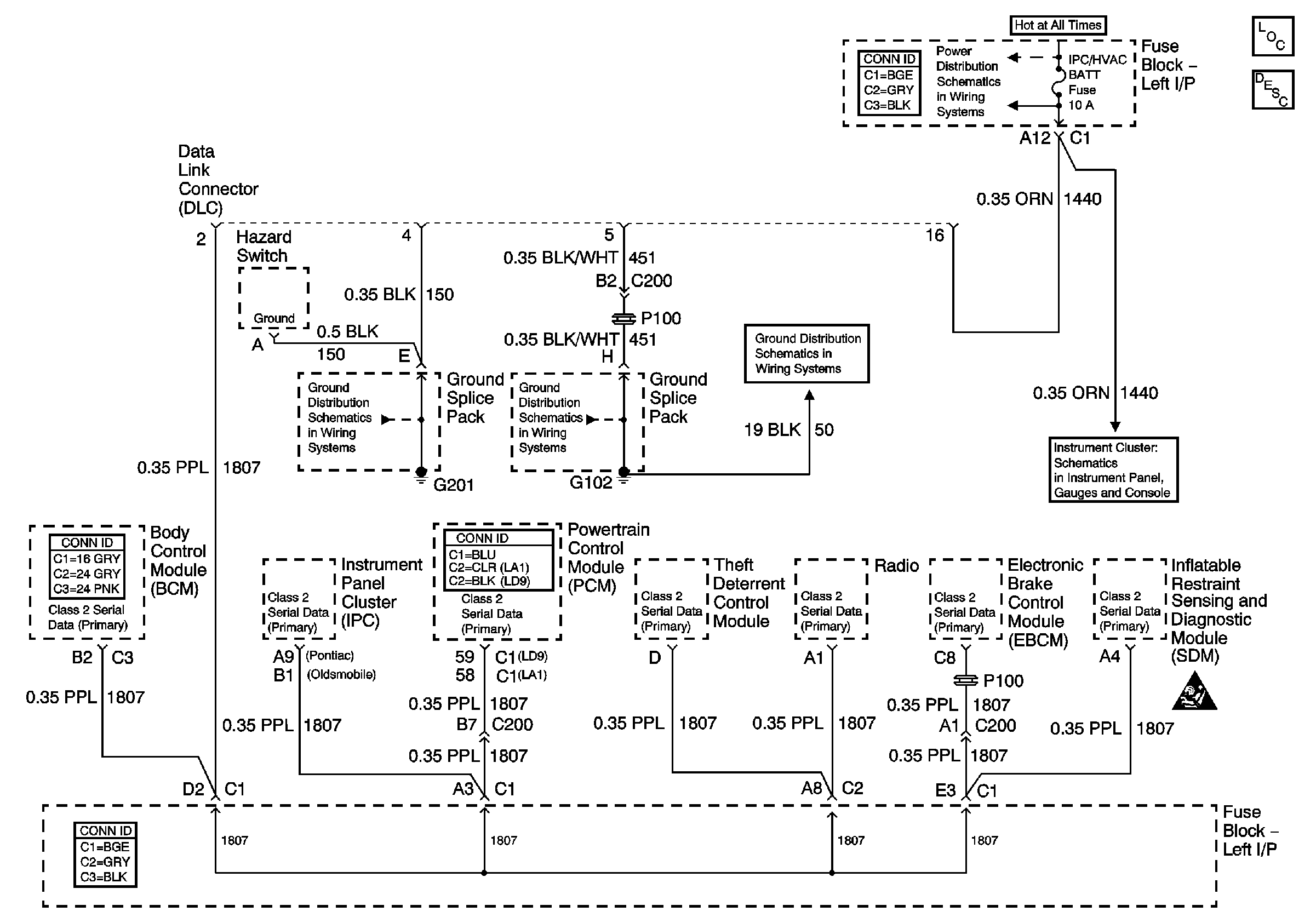
🢒 Data LInk Communications
Data LInk Communications
G201
G102 and G104
G102 and G104
Power, Ground, and DLC
RH HDLP, LH HDLP, GEN BATT, LH BEC BATT 2, STOP LPS, HAZARD LPS, IPC/HVACBATT, BFC BATT Fuses
Master Electrical Component List
Data Link Communications Description and Operation