GM Service Manual Online
For 1990-2009 cars only

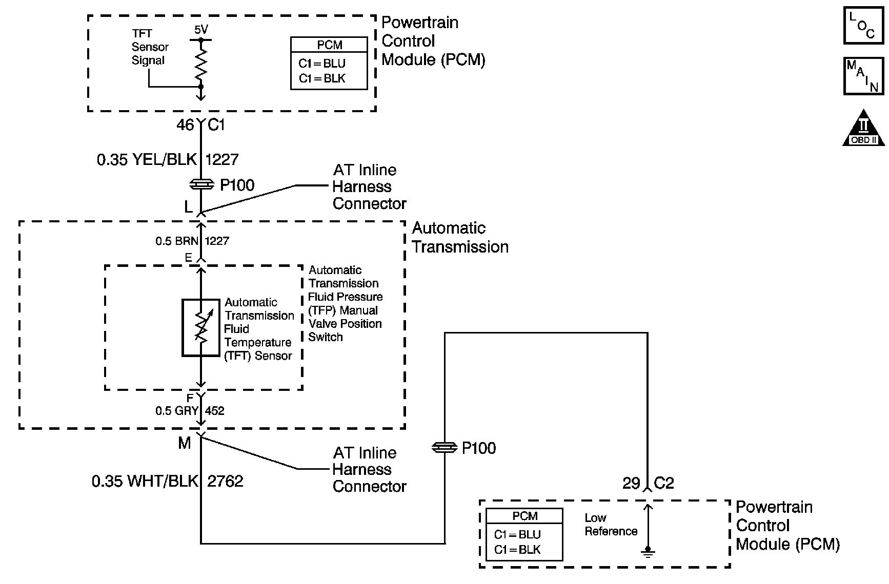
DTC P0712 2.4 L


Object Number: 653021  Size: MF
Master Electrical Component List
Automatic Transmission Controls Schematics LD9
OBD II Symbol Description Notice

Circuit Description

The automatic transmission fluid temperature (TFT) sensor is a thermistor. The TFT sensor is part of the automatic transmission fluid pressure (TFP) manual valve position switch. The PCM supplies a 5-volt reference signal to the sensor. When the transmission fluid is cold, the sensor resistance is high and the PCM senses a high signal voltage. As the transmission fluid warms, the sensor resistance lowers and the PCM senses lower voltage. The PCM uses the TFT reading in order to control the torque converter clutch (TCC), line pressure adjustments, and temperature compensated shifts.

When the PCM detects a continuous short to ground in the TFT circuit or the TFT sensor, then DTC P0712 sets. DTC P0712 is a type C DTC.

Conditions for Running the DTC

    • The ignition switch is in the ON position.
    • The system voltage is 8-18 volts.

Conditions for Setting the DTC

The TFT voltage is 0.33 volts or less for 10 seconds.

Action Taken When the DTC Sets

    • The PCM does not illuminate the malfunction indicator lamp (MIL).
    • The PCM freezes transmission adapt functions.
    • The PCM calculates a default transmission fluid temperature based on engine coolant temperature, intake manifold air temperature, and engine run time.
    • The PCM records the operating conditions when the Conditions for Setting the DTC are met. The PCM stores this information as Failure Records.
    • The PCM stores DTC P0712 in PCM history.

Conditions for Clearing the DTC

    • A scan tool can clear the DTC.
    • The PCM clears the DTC from PCM history if the vehicle completes 40 warm-up cycles without a non-emission related diagnostic fault occurring.
    • The PCM cancels the DTC default actions when the fault no longer exists and the DTC passes.

Test Description

The numbers below refer to the step numbers on the diagnostic table.

  1. This step tests the PCMs ability to detect an open circuit.

  2. This step tests the TFT sensor for correct resistance.

DTC P0712 Transmission Fluid Temperature Sensor Circuit -- Low Input

Step

Action

Value(s)

Yes

No

1

Did you perform the Powertrain Diagnostic System Check?

--

Go to Step 2

Go to Diagnostic System Check - Engine Controls in Engine Controls

2

  1. Install a Scan Tool .
  2. Turn ON the ignition, with the engine OFF.
  3. Important: Before clearing the DTC, use the Scan Tool in order to record the Failure Records. Using the Clear Info function erases the Failure Records from the PCM.

  4. Record the DTC Failure Records.
  5. Clear the DTC.
  6. Select TFT Sensor on the Scan Tool .

Does the Scan Tool display a TFT sensor voltage greater than the specified value?

0.33 V

Go to Intermittent Conditions in Engine Controls

Go to Step 3

3

  1. Turn OFF the ignition.
  2. Disconnect the AT inline 20-way connector. Additional DTCs may set.
  3. Turn ON the ignition, with the engine OFF.

Does the Scan Tool display a TFT sensor voltage greater than the specified value?

4.92 V

Go to Step 5

Go to Step 4

4

Test the signal circuit (CKT 1227) of the TFT sensor for a short to ground between the PCM connector C1 and the AT inline 20-way connector.

Refer to Circuit Testing and Wiring Repairs in Wiring Systems.

Did you find and correct the condition?

--

Go to Step 11

Go to Step 10

5

  1. Install the J 44152 jumper harness (20 pins) on the transmission side of the AT inline 20-way connector.
  2. Using the J 39200 digital multimeter (DMM) and the J 35616 connector test adapter kit, measure the resistance between terminals L and M of the J 44152 .
  3. Refer to Automatic Transmission Inline Harness Connector End View .

Is the resistance within the range specified for the given transmission temperatures?

20°C (68°F)

3106-3923 ohms

100°C (212°F)

164-190 ohms

Go to Step 6

Go to Step 7

6

Measure the resistance between terminal L of the J 44152 and ground.

Refer to Automatic Transmission Inline Harness Connector End View .

Is the resistance less than the specified value?

1000 ohms

Go to Step 9

Go to Intermittent Conditions in Engine Controls

7

  1. Disconnect the TFP manual valve position switch from the automatic transmission wiring harness.
  2. Measure the resistance between terminal L and all other terminals of the J 44152 .
  3. Refer to Automatic Transmission Inline Harness Connector End View .

Is the resistance between terminal L and any other terminal less than the specified value?

1000 ohms

Go to Step 9

Go to Step 8

8

Replace the TFP manual valve position switch.

Refer to the Pressure Switch Assembly Replacement.

Did you complete the replacement?

--

Go to Step 11

--

9

Replace the automatic transmission wiring harness.

Refer to Transmission Overhaul in Transmission Unit Repair Manual.

Did you complete the replacement?

--

Go to Step 11

--

10

Replace the PCM.

Refer to Powertrain Control Module Replacement in Engine Controls.

Did you complete the replacement?

--

Go to Step 11

--

11

Perform the following procedure in order to verify the repair:

  1. Select DTC.
  2. Select Clear Info.
  3. Operate the vehicle under the following conditions:
  4. • Turn ON the ignition, with the engine OFF.
    • The TFT signal voltage must be greater than 0.33 volts for 10 seconds.
  5. Select Specific DTC.
  6. Enter DTC P0712.

Has the test run and passed?

--

System OK

Go to Step 1

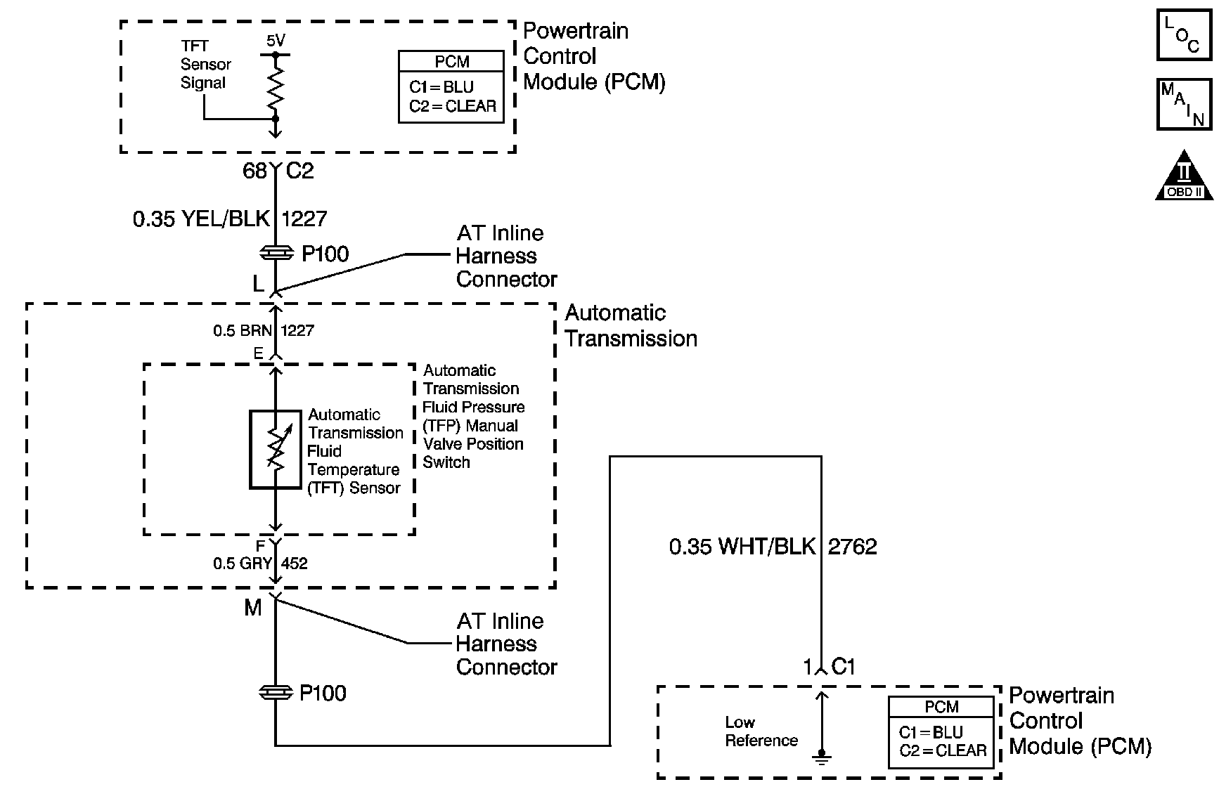
DTC P0712 3.4 L


Object Number: 650095  Size: MF
Master Electrical Component List
Automatic Transmission Controls Schematics LA1
OBD II Symbol Description Notice

Circuit Description

The automatic transmission fluid temperature (TFT) sensor is a thermistor. The TFT sensor is part of the automatic transmission fluid pressure (TFP) manual valve position switch. The PCM supplies a 5-volt reference signal to the sensor. When the transmission fluid is cold, the sensor resistance is high and the PCM senses a high signal voltage. As the transmission fluid warms, the sensor resistance lowers and the PCM senses lower voltage. The PCM uses the TFT reading in order to control the torque converter clutch (TCC), line pressure adjustments, and temperature compensated shifts.

When the PCM detects a continuous short to ground in the TFT circuit or the TFT sensor, then DTC P0712 sets. DTC P0712 is a type C DTC.

Conditions for Running the DTC

    • The ignition switch is in the ON position.
    • The system voltage is 8-18 volts.

Conditions for Setting the DTC

The TFT voltage is 0.33 volts or less for 10 seconds.

Action Taken When the DTC Sets

    • The PCM does not illuminate the malfunction indicator lamp (MIL).
    • The PCM freezes transmission adapt functions.
    • The PCM calculates a default transmission fluid temperature based on engine coolant temperature, intake manifold air temperature, and engine run time.
    • The PCM records the operating conditions when the Conditions for Setting the DTC are met. The PCM stores this information as Failure Records.
    • The PCM stores DTC P0712 in PCM history.

Conditions for Clearing the DTC

    • A scan tool can clear the DTC.
    • The PCM clears the DTC from PCM history if the vehicle completes 40 warm-up cycles without a non-emission related diagnostic fault occurring.
    • The PCM cancels the DTC default actions when the fault no longer exists and the DTC passes.

Test Description

The numbers below refer to the step numbers on the diagnostic table.

  1. This step tests the PCMs ability to detect an open circuit.

  2. This step tests the TFT sensor for correct resistance.

DTC P0712 Transmission Fluid Temperature Sensor Circuit -- Low Input

Step

Action

Value(s)

Yes

No

1

Did you perform the Powertrain Diagnostic System Check?

--

Go to Step 2

Go to Diagnostic System Check - Engine Controls in Engine Controls

2

  1. Install a Scan Tool .
  2. Turn ON the ignition, with the engine OFF.
  3. Important: Before clearing the DTC, use the Scan Tool in order to record the Failure Records. Using the Clear Info function erases the Failure Records from the PCM.

  4. Record the DTC Failure Records.
  5. Clear the DTC.
  6. Select TFT Sensor on the Scan Tool .

Does the Scan Tool display a TFT sensor voltage greater than the specified value?

0.33 V

Go to Intermittent Conditions in Engine Controls

Go to Step 3

3

  1. Turn OFF the ignition.
  2. Disconnect the AT inline 20-way connector. Additional DTCs may set.
  3. Turn ON the ignition, with the engine OFF.

Does the Scan Tool display a TFT sensor voltage greater than the specified value?

4.92 V

Go to Step 5

Go to Step 4

4

Test the signal circuit (CKT 1227) of the TFT sensor for a short to ground between the PCM connector C2 and the AT inline 20-way connector.

Refer to Circuit Testing and Wiring Repairs in Wiring Systems.

Did you find and correct the condition?

--

Go to Step 11

Go to Step 10

5

  1. Install the J 44152 jumper harness (20 pins) on the transmission side of the AT inline 20-way connector.
  2. Using the J 39200 digital multimeter (DMM) and the J 35616 connector test adapter kit, measure the resistance between terminals L and M of the J 44152 .
  3. Refer to Automatic Transmission Inline Harness Connector End View .

Is the resistance within the range specified for the given transmission temperatures?

20°C (68°F)

3106-3923 ohms

100°C (212°F)

164-190 ohms

Go to Step 6

Go to Step 7

6

Measure the resistance between terminal L of the J 44152 and ground.

Refer to Automatic Transmission Inline Harness Connector End View .

Is the resistance less than the specified value?

1000 ohms

Go to Step 9

Go to Intermittent Conditions in Engine Controls

7

  1. Disconnect the TFP manual valve position switch from the automatic transmission wiring harness.
  2. Measure the resistance between terminal L and all other terminals of the J 44152 .
  3. Refer to Automatic Transmission Inline Harness Connector End View .

Is the resistance between terminal L and any other terminal less than the specified value?

1000 ohms

Go to Step 9

Go to Step 8

8

Replace the TFP manual valve position switch.

Refer to the Pressure Switch Assembly Replacement.

Did you complete the replacement?

--

Go to Step 11

--

9

Replace the automatic transmission wiring harness.

Refer to Transmission Overhaul in Transmission Unit Repair Manual.

Did you complete the replacement?

--

Go to Step 11

--

10

Replace the PCM.

Refer to Powertrain Control Module Replacement in Engine Controls.

Did you complete the replacement?

--

Go to Step 11

--

11

Perform the following procedure in order to verify the repair:

  1. Select DTC.
  2. Select Clear Info.
  3. Operate the vehicle under the following conditions:
  4. • Turn ON the ignition, with the engine OFF.
    • The TFT signal voltage must be greater than 0.33 volts for 10 seconds.
  5. Select Specific DTC.
  6. Enter DTC P0712.

Has the test run and passed?

--

System OK

Go to Step 1