GM Service Manual Online
For 1990-2009 cars only

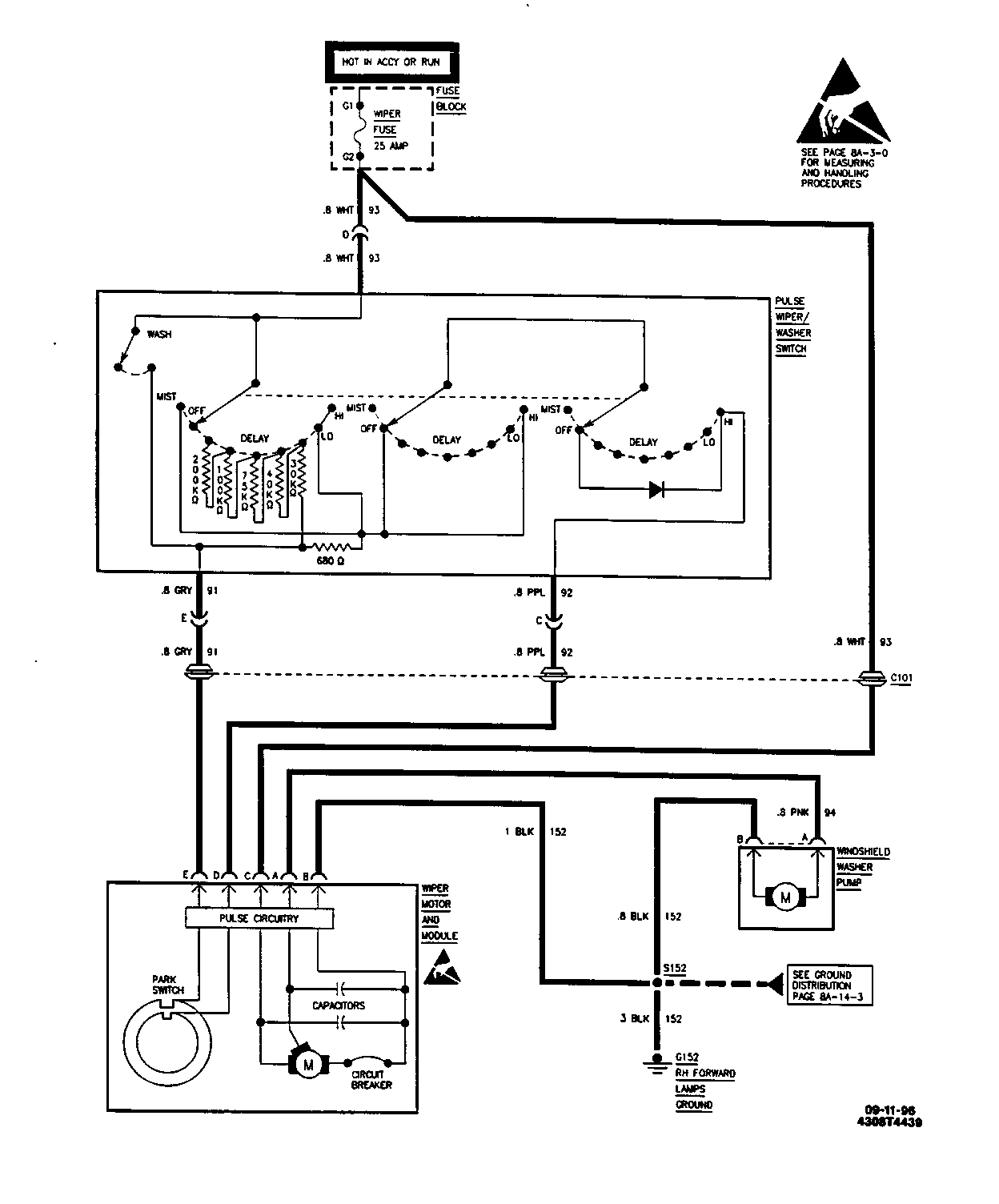
SMU - SECTION 8A - 91 - FRONT WIPER/WASHER - REVISED

SUBJECT: SERVICE MANUAL UPDATE: - SECTION 8A-91 - FRONT WIPER/ WASHER - REVISED SCHEMATIC AND TEXT PAGES

MODELS: 1994 CHEVROLET AND GMC TRUCK M/L MODELS

THIS BULLETIN REVISES THE COMPONENT LOCATION TABLE ON PAGE 8A-91-2. IT ALSO REVISES THE SCHEMATIC ON PAGE 8A-91-3 AS WELL AS THE DIAGNOSTIC TABLES ON PAGES 8A-91-4,5, AND 6.

FIGURES: 0 ATTACHMENTS: 5


Object Number: 85891  Size: FS


Object Number: 88283  Size: FS


Object Number: 88406  Size: FS


Object Number: 89828  Size: FS


Object Number: 90176  Size: FS

GENERAL MOTORS BULLETINS ARE INTENDED FOR USE BY PROFESSIONAL TECHNICIANS, NOT A "DO-IT-YOURSELFER". THEY ARE WRITTEN TO INFORM THOSE TECHNICIANS OF CONDITIONS THAT MAY OCCUR ON SOME VEHICLES, OR TO PROVIDE INFORMATION THAT COULD ASSIST IN THE PROPER SERVICE OF A VEHICLE. PROPERLY TRAINED TECHNICIANS HAVE THE EQUIPMENT, TOOLS, SAFETY INSTRUCTIONS AND KNOW-HOW TO DO A JOB PROPERLY AND SAFELY. IF A CONDITION IS DESCRIBED, DO NOT ASSUME THAT THE BULLETIN APPLIES TO YOUR VEHICLE, OR THAT YOUR VEHICLE WILL HAVE THAT CONDITION. SEE A GENERAL MOTORS DEALER SERVICING YOUR BRAND OF GENERAL MOTORS VEHICLE FOR INFORMATION ON WHETHER YOUR VEHICLE MAY BENEFIT FROM THE INFORMATION.

COPYRIGHT 1996 GENERAL MOTORS CORPORATION. ALL RIGHTS RESERVED.