GM Service Manual Online
For 1990-2009 cars only

Object Number: 156506  Size: SH

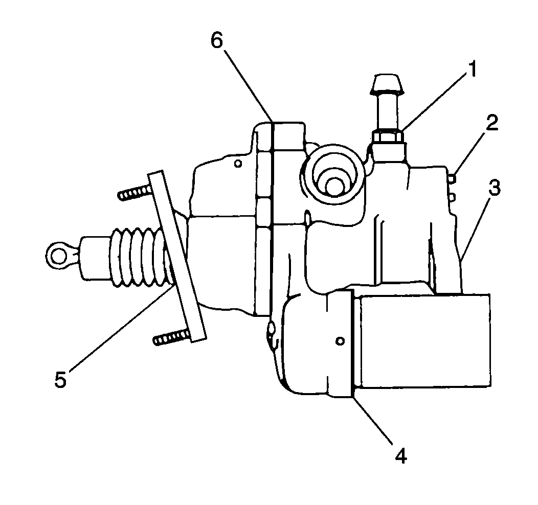
Input Rod Seal

A fluid leak from the mounting bracket vent hole indicates a damaged input rod seal (5).

Power Piston Seal

Damage to the power piston seal causes fluid to leak at the common master cylinder brake booster vent and may cause a reduction in power assist.

Housing Seal

A fluid leak between the two housings indicates a damaged housing seal (6).

Spool Valve Plug Seal

Damage to the spool valve plug seal (2) causes fluid to leak past the plug.

Accumulator Seal

Damage to the accumulator seal (4) causes fluid to leak past the accumulator cap.

Return Port Fitting

Tighten the return port fitting (1) to 10 N·m (88 lb in).