GM Service Manual Online
For 1990-2009 cars only

Removal Procedure

Important: After installation, calibrate the new EBCM to the tire size that is appropriate to the vehicle. Refer to Tire Size Calibration and to Trim Level Calibration portions of ABS Operation .

    Caution: Refer to Battery Disconnect Caution in the Preface section.

  1. Disconnect the negative battery cable.
  2. Raise the vehicle.
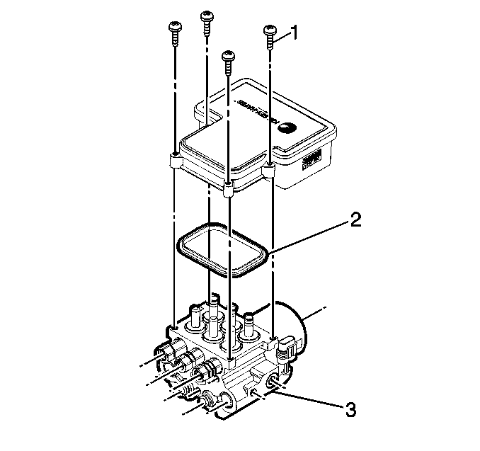
  3. Remove two 13 mm weld/stud nuts fastening the shield and the BPMV to the EHCU mounting bracket.
  4. Disconnect three electrical connectors from the EBCM.

  5. Object Number: 184226  Size: SH
  6. Remove the four T-25 TORX® screws (1) that fasten the EBCM to the BPMV (3).
  7. Important: Do not use a tool to pry the EBCM or the BPMV. Excessive force will damage the EBCM.

  8. Fully remove the EBCM from the BPMV (3).
  9. Check gasket (2) for wear or damage. Replace if worn or damaged.

Installation Procedure

Important: Do not reuse the old mounting screws. Always install new mounting screws with the new EBCM.

    Important: Do not use RTV or any other type of sealant on the EBCM gasket or mating surfaces.

  1. Install EBCM on to the BPMV (3).

  2. Object Number: 184226  Size: SH
  3. Install the four new T-25 TORX® screws (1) in the EBCM.
  4. Tighten
    Tighten the four T-25 TORX® screws to 5 N·m (39 lb in) in an X-pattern.

    Notice: Use the correct fastener in the correct location. Replacement fasteners must be the correct part number for that application. Fasteners requiring replacement or fasteners requiring the use of thread locking compound or sealant are identified in the service procedure. Do not use paints, lubricants, or corrosion inhibitors on fasteners or fastener joint surfaces unless specified. These coatings affect fastener torque and joint clamping force and may damage the fastener. Use the correct tightening sequence and specifications when installing fasteners in order to avoid damage to parts and systems.

  5. Connect three electrical connectors to the EBCM.
  6. Install two 13 mm weld/stud nuts fastening the shield and the BPMV to the EHCU mounting bracket.
  7. Tighten
    Tighten two 13 mm weld/stud nuts to 25 N·m (18 lb ft).

  8. Lower the vehicle.
  9. Connect the negative battery cable.
  10. Revise the tire calibration using the Scan Tool . Refer to Diagnostic System Check .