Important: Replace damaged or broken steering linkage and components. Do not attempt
to repair steering linkage components.
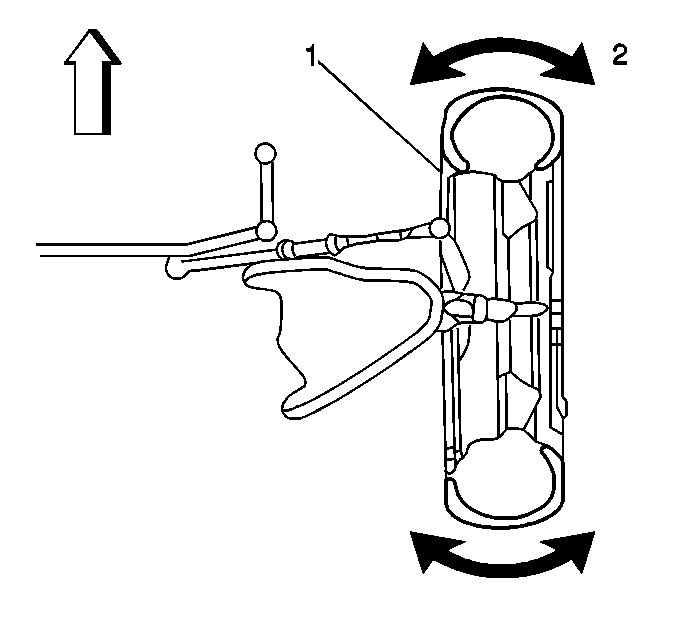
- Set the wheels in the straight ahead position.
- Set the steering wheel into the locked position.
- Raise the vehicle on one side so that the tire is about 25 mm
(1 in) above the floor.
- Position a dial indicator
at position (1) (as shown).
- Move the wheel back and forth (2) without moving the steering
wheel.
The gauge reading should not exceed 2.74 mm (0.108 in).
- Inspect all linkage pivots and ball studs for looseness if the
gauge reading exceeds the specifications.
- Replace any worn components, as necessary.