GM Service Manual Online
For 1990-2009 cars only
Makes
🢒
Chevrolet
🢒
1998
🢒
Astro - 2WD
🢒
Body and Accessories
🢒
Doors
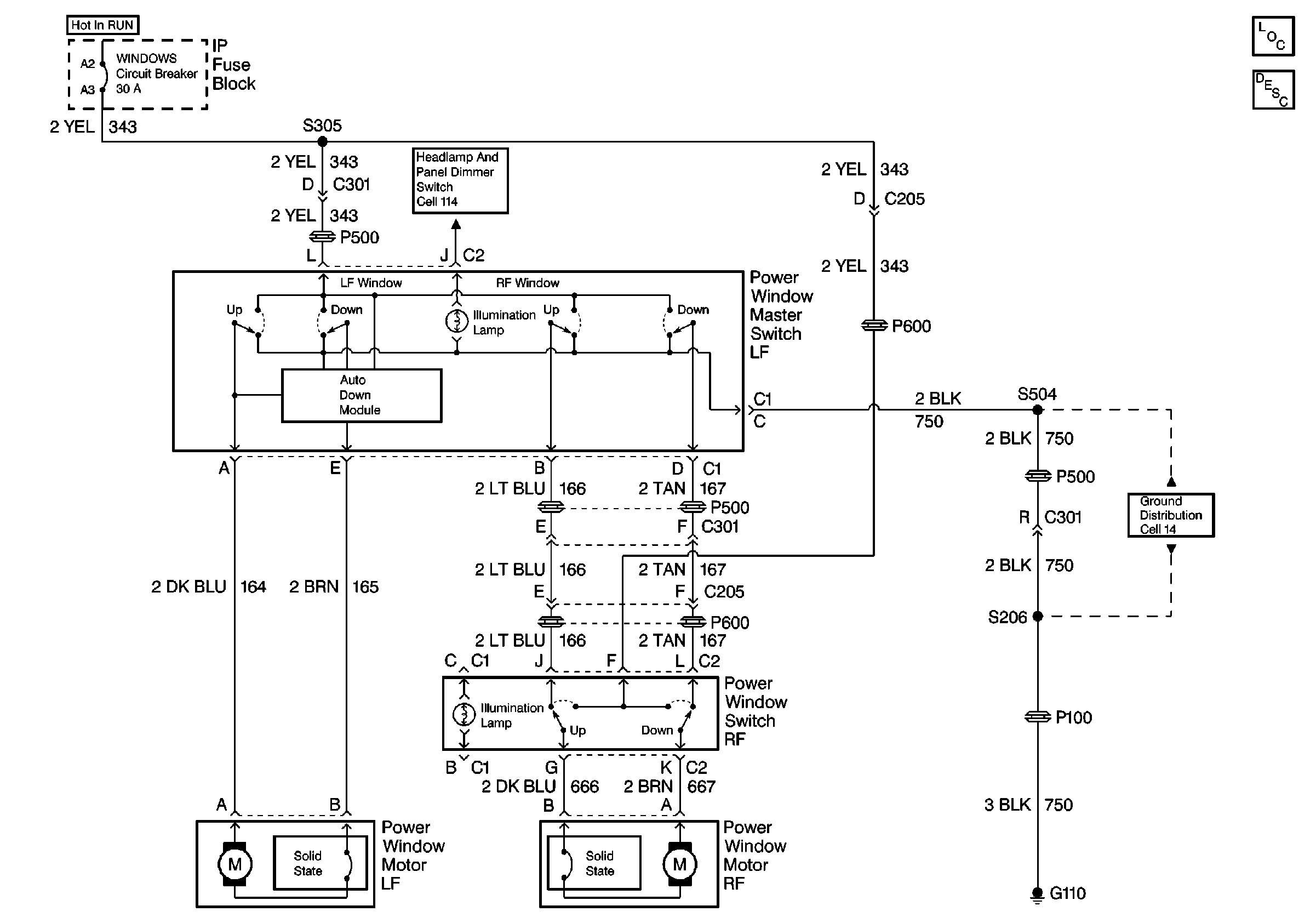
🢒 Power Window Schematics
Cell 120: Power Windows
Interior Lights Schematics
Ground Distribution Schematics
Power Door Systems Components
Interior Lights Circuit Description