GM Service Manual Online
For 1990-2009 cars only
Makes
🢒
Chevrolet
🢒
1998
🢒
Astro - 2WD
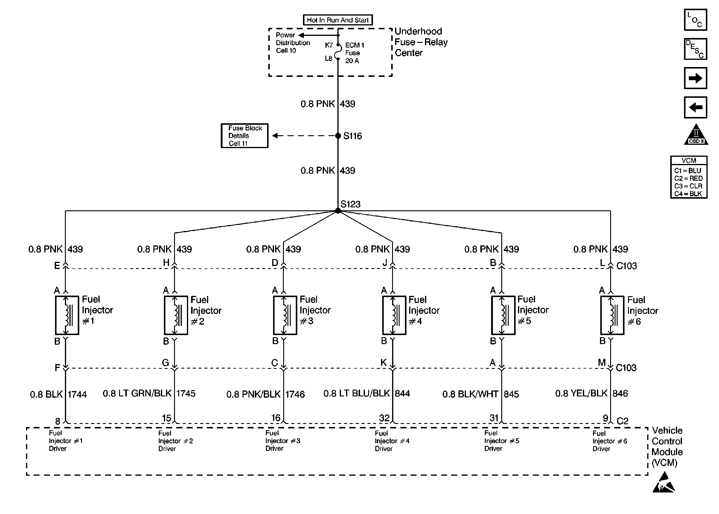
🢒 Fuel Injector Controls
Fuel Injector Controls
Fuel Injection Controls
Engine Controls Components
Fuel Metering System Component Description
Fuel Mixture Input Controls
Fuel Delivery
Engine Controls Schematic Icons
Engine Controls Schematic Icons