GM Service Manual Online
For 1990-2009 cars only

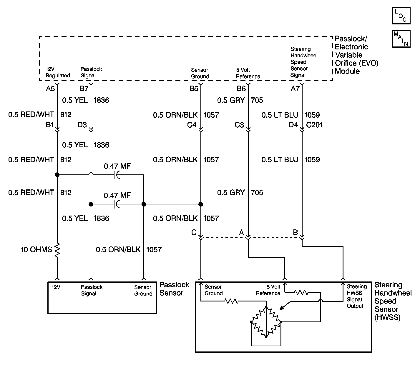
Object Number: 284794  Size: LF
Steering Controls Components
Steering Assist Schematics

Circuit Description

The electronic variable orifiec (EVO)/Passlock™ module supplies a 5.0 volt reference and a ground circuit to the steering handwheel speed (HWSS) sensor. The HWSS returns a voltage signal to the EVO/Passlock™ module. The voltage signal indicates the steering wheel rate of steer. When the steering wheel is turns one quarter revolution (90 degrees) the HWSS returns a voltage of 0.2--4.9 volts. The EVO/Passlock™ module monitors the HWSS signal voltage in order to control a percentage duty cycle (PWM) current to the steering assist control solenoid.

Conditions for Setting the DTC

The HWSS signal circuit voltage is greater than 4.9 volts for 1 second or longer.

Action Taken When the DTC Sets

The EVO/Passlock™ module will not send any current to the steering assist control solenoid. This will cause the solenoid valve to retract. The retraction will provide the maximum fluid flow and the full power steering assist at all times.

Conditions for Clearing the MIL/DTC

    • A history DTC will clear after 100 consecutive ignition cycles occur without the fault reoccurring.
    • Use the scan tool in order to clear the history and the current DTC(s).

Diagnostic Aids

The scan tool will read the steering wheel position in volts. The voltage reading should be 0.2--4.9 volts when the following conditions exist:

    • The ignition switch is in the ON position.
    • The HWSS rotates.

Turning the wheel one quarter revolution (90 degrees) in either direction will increase the voltage at a steady rate up to 4.9 volts.

Test Description

The number(s) below refer to the step number(s) on the diagnostic table.

  1. This step will prompt the technician to complete some basic checks and store the snapshot data. This creates an electronic copy of the data that is taken when the fault occurs. The information stored in the scan tool can be referred to later. The EVO/Passlock™ module uses the voltage in order to detect changes in the rate of steering. The system voltage should increase and decrease proportionately to the steering wheel rotational speed. If the voltage is not within the specifications, an appropriate DTC will set. Check for binding, grinding, or a damaged HWSS. Refer to Steering Wheel Position Sensor or Steering Shaft Lower Bearing Replacement .

  2. This step probes the ground circuit. This step checks the circuit for high resistance which will cause a DTC C0473 to set.

  3. This step verifies that a shorted 5.0 volt reference circuit may also set additional DTCs.

Step

Action

Value(s)

Yes

No

1

Did you perform the Diagnostic System Check?

--

Go to Step 2

Go to Variable Effort Steering System Check

2

  1. Turn the ignition switch to the ON position.
  2. Connect the scan tool.
  3. Select from the CHASSIS MENU, ELECTRONIC VARIABLE ORIFICE DATA DISPLAY.
  4. Turn the steering wheel one quarter revolution (90 degrees).
  5. Check the scan tool.
  6. Slowly return the steering wheel to the center position.
  7. Record a quick snapshot while turning the steering wheel.
  8. Review the snapshot.

Did the HWSS value increase and decrease steadily to the specified value when rotating the steering wheel?

0.2--4.9 volts

Go to Variable Effort Steering System Check

Go to Step 3

3

Operate the vehicle within the snapshot conditions for setting the DTC.

Is the HWSS voltage greater than the specified value?

4.9 volts

Go to Step 4

Go to Variable Effort Steering System Check

4

  1. Turn the ignition switch to the OFF position.
  2. Disconnect the HWSS electrical connector.
  3. Monitor the scan tool values.

Is the HWSS voltage greater than the specified value?

0.2 volts

Go to Step 12

Go to Step 5

5

  1. Use a J 39200 digital multimeter (DMM) in order to connect the negative lead to ground.
  2. Use the positive lead in order to probe the signal CKT 1059 (LT BLU) at the HWSS harness connector.

Is the HWSS voltage greater than the specified value?

5.0 volts

Go to Step 6

Go to Step 7

6

Repair the short to voltage in the HWSS signal CKT 1059 (LT BLU).

Is the repair complete?

--

Go to Variable Effort Steering System Check

Go to Step 12

7

  1. Use a J 39200 DMM in order to connect the negative lead to ground.
  2. Use the positive lead in order to probe the sensor return CKT 1057 (ORN/BLK) of the HWSS harness connector.

Is the HWSS voltage greater than the specified value?

5.0 volts

Go to Step 10

Go to Step 8

8

  1. Use a J 39200 DMM in order to connect the negative lead to ground.
  2. Use the positive lead in order to probe the 5 volt reference CKT 705 (GRY) of the HWSS harness connector.

Is the HWSS voltage greater than the specified value?

5.0 volts

Go to Step 12

Go to Step 9

9

Test for a short to voltage in the HWSS CKT 705 (GRY).

Is the repair complete?

--

Go to Variable Effort Steering System Check

Go to Step 12

10

Test for a short to voltage in the HWSS CKT 1057 (ORN/BLK).

Is the repair complete?

--

Go to Variable Effort Steering System Check

Go to Step 11

11

Replace the HWSS.

Refer to Steering Wheel Position Sensor or Steering Shaft Lower Bearing Replacement .

Is the replacement complete?

--

Go to Variable Effort Steering System Check

--

12

Replace the EVO/Passlock™ module.

Refer to Elec Variable Orifice Passlock Module Replacement .

Is the replacement complete?

--

Go to Variable Effort Steering System Check

--