GM Service Manual Online
For 1990-2009 cars only
Figure 1:

Battery Wiring (RWD)


Object Number: 181452  Size: MF
(1)Underhood Fuse-Relay Center
(2)Battery
(3)G102
(4)Starter Motor
(5)Starter Solenoid
(6)G103
Figure 2:

Battery Wiring (A4WD)


Object Number: 181454  Size: MF
(1)Underhood Fuse-Relay Center
(2)Battery
(3)G102
(4)Starter Motor
(5)Starter Solenoid
(6)G103
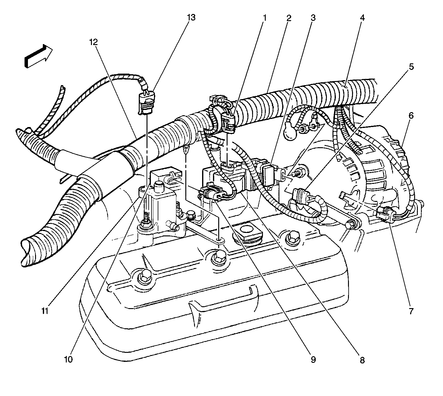
Figure 3:

Engine Wiring, RH Side


Object Number: 211877  Size: LF
(1)Ignition Coil Connector
(2)S122
(3)Ignition Control Module
(4)S120
(5)Ignition Control Module Connector
(6)Generator
(7)Generator Connector
(8)Ignition Coil
(9)Map Sensor Connector
(10)Map Sensor
(11)Evaporative Emission Canister Purge Solenoid Valve
(12)S123
(13)Evaporative Emission Canister Purge Solenoid Valve Connector
Figure 4:

I/P Fuse Block/Convenience Center Wiring


Object Number: 181450  Size: MF
(1)Convenience Center
(2)Turn/Hazard Flasher Module
(3)Horn Relay
(4)DRL Relay
(5)I/P Fuse Block
(6)C213
(7)C212
(8)Audio Alarm Module
Figure 5:

Transmission Wiring (RWD)


Object Number: 211899  Size: LF
(1)S333
(2)Transmission Connector
(3)Vehicle Speed Sensor
(4)Vehicle Speed Sensor Connector
(5)Vehicle Speed Sensor Shield (taped)
(6)Adapter
(7)Park/Neutral Position and Backup Lamp Switch 4-way Connector
(8)Park/Neutral Position and Backup Lamp Switch 7-way Connector
(9)Park/Neutral Position and Backup Lamp Switch
(10)Auto Transmission
Figure 6:

Transmission Wiring (A4WD)


Object Number: 211900  Size: LF
(1)Auto Transmission
(2)Transmission Connector
(3)Transfer Case
(4)Vehicle Speed Sensor
(5)Vehicle Speed Sensor Connector
(6)Vehicle Speed Sensor Shield (taped)
(7)S333
(8)C304
(9)Park/Neutral Position and Backup Lamp Switch 4-way Connector
(10)Park/Neutral Position and Backup Lamp Switch 7-way Connector
(11)Park/Neutral Position and Backup Lamp Switch
Figure 7:

Underhood Fuse-Relay Center


Object Number: 211913  Size: LF
(1)Upfitter Battery Power Stud
(2)Upfitter Ignition Power Stud
(3)Battery Feed
(4)D100
(5)D101
Figure 8:

Forward Lamps Harness, Left Side


Object Number: 181459  Size: LF
(1)C100
(2)P100
(3)C101
(4)S135
(5)C102
(6)C104
(7)LH Front Park/Turn Lamp Connector
(8)LH Front Park/Turn Lamp
(9)S106
(10)S105
(11)LH Front Side Marker Lamp Connector
(12)S104
(13)LH Front Side Marker Lamp
(14)S103
(15)S102
(16)Front End Discriminating Sensor Connector
(17)Front End Discriminating Sensor
(18)S107
(19)LH Hi/Low Beam Headlamp (Sealed Beam)
Figure 9:

Interior Lamp Modules, DLC Wiring


Object Number: 181460  Size: LF
(1)C211
(2)C201
(3)Interior Lamp Control Module
(4)Data Link Connector
(5)S208
Figure 10:

Bulkhead/Underhood Fuse-Relay Center Wiring


Object Number: 211879  Size: LF
(1)S111
(2)S113
(3)S114
(4)S110
(5)S112
(6)S109
(7)S108
(8)S115
Figure 11:

Crankshaft Position Sensor Wiring


Object Number: 211875  Size: LF
(1)Crankshaft Position Sensor
(2)Crankshaft Position Sensor Connector
Figure 12:

Instrument Cluster Wiring


Object Number: 211888  Size: LF
(1)S217
(2)S216
(3)Headlamp and Panel Dimmer Switch
(4)S215
(5)S214
(6)S213
(7)S211
(8)S207
(9)Daytime Running Lamps Module
(10)Daytime Running Lamps Module Connector
(11)S212
(12)S218
(13)S219
(14)S220
(15)S221
(16)S222
(17)S204