GM Service Manual Online
For 1990-2009 cars only
Figure 1:

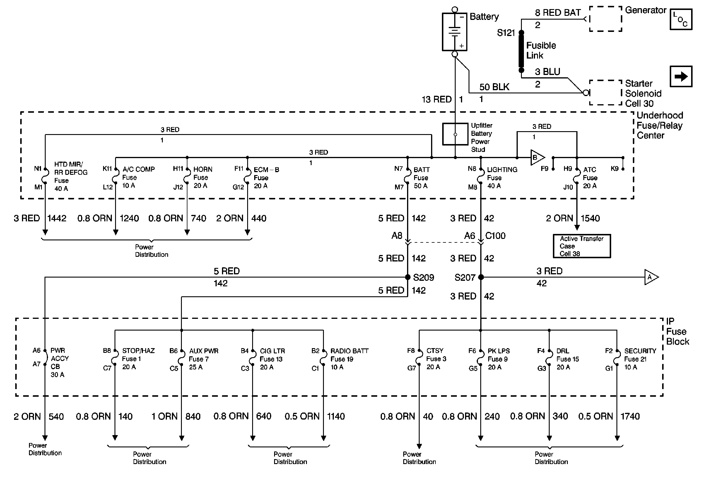
B+ Bus


Object Number: 365299  Size: FS
Power and Grounding Components
B+ Bus, Ignition Switch, Run Bus
B+ Bus, Ignition Switch, Run Bus
Cell 38: Power, Ground, Motor Controls and Data Link
HTD MIR/RR DEFOG, A/C COMP, HORN, ECM-B Fuses
B+ Bus, Ignition Switch, Run Bus
PWR ACCY Fuse
STOP/HAZ, AUX PWR Fuses
CIG LTR, RADIO BATT, CRANK Fuses
CTSY Fuse
CTSY (cont), PK LPS, DRL, SECURITY Fuses
Figure 2:

B+ Bus, Ignition Switch, Run Bus


Object Number: 365301  Size: FS
Power and Grounding Components
Ignition Switch, Run, Run/Start, Off/Run/Start Bus
B+ Bus
B+ Bus
Ignition Switch, Run, Run/Start, Off/Run/Start Bus
Ignition Switch, Run, Run/Start, Off/Run/Start Bus
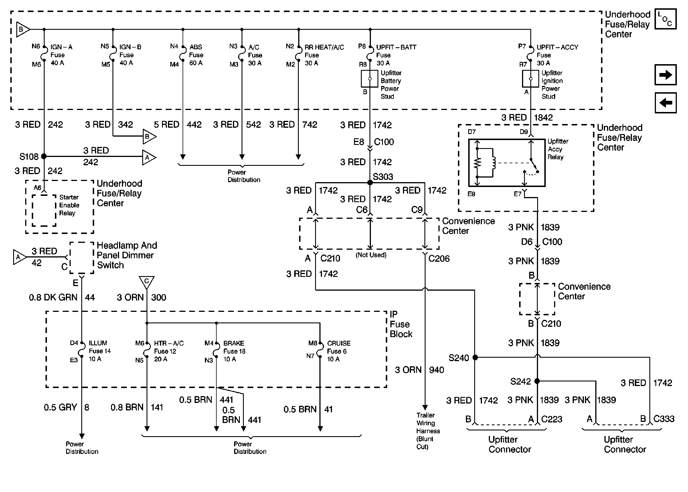
ABS, A/C, RR HEAT-A/C Fuses
B+ Bus
Ignition Switch, Run, Run/Start, Off/Run/Start Bus
ILLUM Fuse
HTR-A/C, BRAKE, CRUISE Fuses
Trailer Wiring
Inline Harness Connector End Views
Inline Harness Connector End Views
Figure 3:

Ignition Switch, Run, Run/Start, Off/Run/Start Bus


Object Number: 365305  Size: FS
Power and Grounding Components
Ignition Switch, Run/ACC, Run/Start Bus
B+ Bus, Ignition Switch, Run Bus
B+ Bus, Ignition Switch, Run Bus
Ignition Switch, Run/ACC, Run/Start Bus
B+ Bus, Ignition Switch, Run Bus
B+ Bus, Ignition Switch, Run Bus
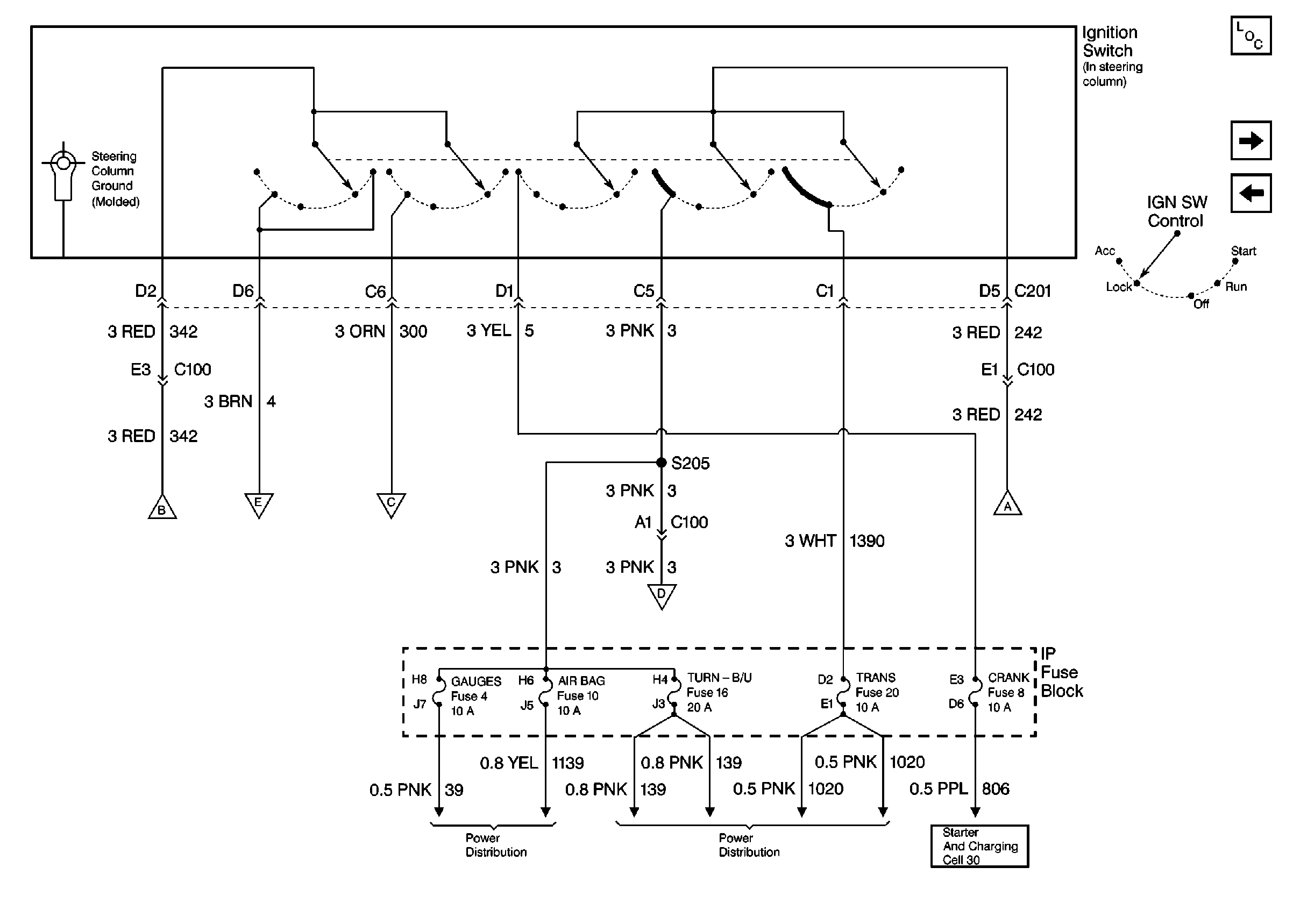
Ignition Switch, Run/ACC, Run/Start Bus
GAUGES, AIR BAG Fuses
TURN-B/U, TRANS Fuses, and WINDOWS Circuit Breaker
Engine Electrical Starter
Figure 4:

Ignition Switch, Run/ACC, Run/Start Bus


Object Number: 365308  Size: FS
Power and Grounding Components
HTD MIR/RR DEFOG, A/C COMP, HORN, ECM-B Fuses
Ignition Switch, Run, Run/Start, Off/Run/Start Bus
Ignition Switch, Run, Run/Start, Off/Run/Start Bus
Cell 14 (G104)
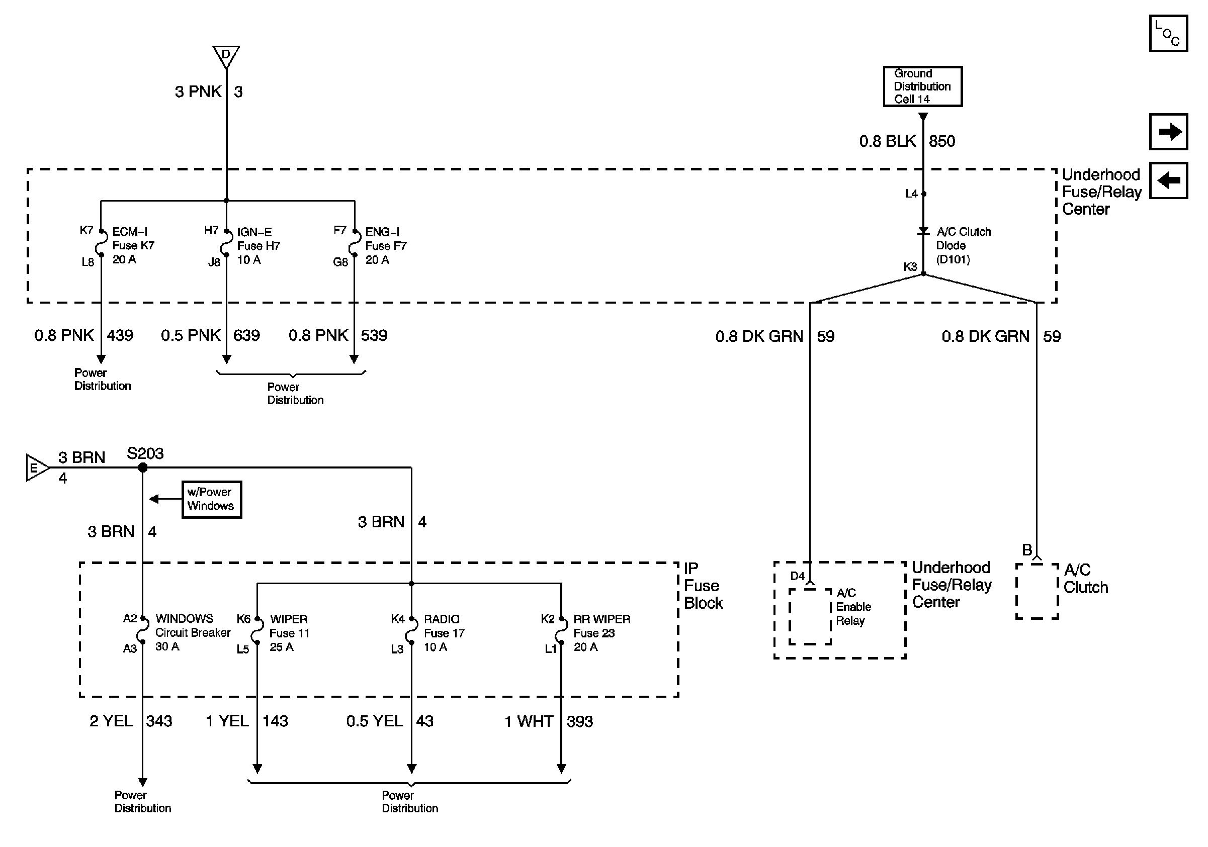
ECM-I Fuse
IGN-E, ENG-I Fuses
Ignition Switch, Run, Run/Start, Off/Run/Start Bus
TURN-B/U, TRANS Fuses, and WINDOWS Circuit Breaker
WIPER, RADIO, RR WIPER Fuses
Handling ESD Sensitive Parts Notice
Handling ESD Sensitive Parts Notice
Figure 5:

HTD MIR/RR DEFOG, A/C COMP, HORN, ECM-B Fuses


Object Number: 365327  Size: FS
Power and Grounding Components
ABS, A/C, RR HEAT-A/C Fuses
Ignition Switch, Run/ACC, Run/Start Bus
Handling ESD Sensitive Parts Notice
Handling ESD Sensitive Parts Notice
Figure 6:

ABS, A/C, RR HEAT-A/C Fuses


Object Number: 365377  Size: FS
Power and Grounding Components
ECM-I Fuse
HTD MIR/RR DEFOG, A/C COMP, HORN, ECM-B Fuses
HTD MIR/RR DEFOG, A/C COMP, HORN, ECM-B Fuses
Handling ESD Sensitive Parts Notice
Figure 7:

ECM-I Fuse


Object Number: 365380  Size: FS
Power and Grounding Components
IGN-E, ENG-I Fuses
ABS, A/C, RR HEAT-A/C Fuses
Ignition Switch, Run/ACC, Run/Start Bus
Handling ESD Sensitive Parts Notice
Figure 8:

IGN-E, ENG-I Fuses


Object Number: 365383  Size: FS
Power and Grounding Components
PWR ACCY Fuse
ECM-I Fuse
Ignition Switch, Run/ACC, Run/Start Bus
Figure 9:

PWR ACCY Fuse


Object Number: 365384  Size: FS
Power and Grounding Components
STOP/HAZ, AUX PWR Fuses
IGN-E, ENG-I Fuses
Handling ESD Sensitive Parts Notice
Handling ESD Sensitive Parts Notice
Figure 10:

STOP/HAZ, AUX PWR Fuses


Object Number: 299595  Size: FS
Power and Grounding Components
CIG LTR, RADIO BATT, CRANK Fuses
PWR ACCY Fuse
CIG LTR, RADIO BATT, CRANK Fuses
Handling ESD Sensitive Parts Notice
Figure 11:

CIG LTR, RADIO BATT, CRANK Fuses


Object Number: 299596  Size: FS
Power and Grounding Components
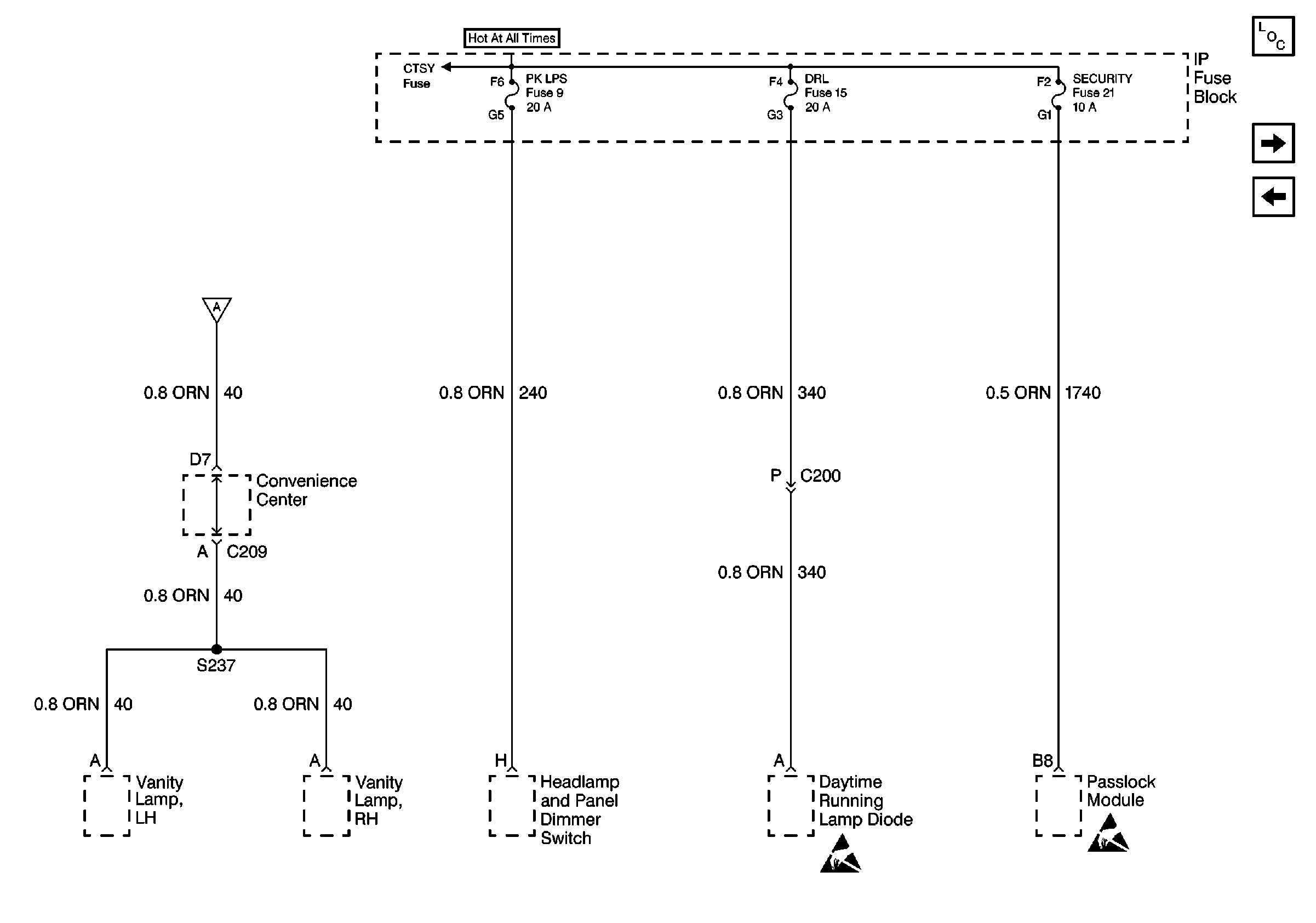
CTSY Fuse
STOP/HAZ, AUX PWR Fuses
STOP/HAZ, AUX PWR Fuses
Handling ESD Sensitive Parts Notice
Figure 12:

CTSY Fuse


Object Number: 299597  Size: FS
Power and Grounding Components
CTSY (cont), PK LPS, DRL, SECURITY Fuses
CIG LTR, RADIO BATT, CRANK Fuses
CTSY (cont), PK LPS, DRL, SECURITY Fuses
Figure 13:

CTSY (cont), PK LPS, DRL, SECURITY Fuses


Object Number: 299599  Size: FS
Power and Grounding Components
ILLUM Fuse
CTSY Fuse
CTSY Fuse
B+ Bus
Handling ESD Sensitive Parts Notice
Handling ESD Sensitive Parts Notice
Figure 14:

ILLUM Fuse


Object Number: 299600  Size: FS
Power and Grounding Components
HTR-A/C, BRAKE, CRUISE Fuses
CTSY (cont), PK LPS, DRL, SECURITY Fuses
Handling ESD Sensitive Parts Notice
Handling ESD Sensitive Parts Notice
Handling ESD Sensitive Parts Notice
Handling ESD Sensitive Parts Notice
Figure 15:

HTR-A/C, BRAKE, CRUISE Fuses


Object Number: 365416  Size: FS
Power and Grounding Components
GAUGES, AIR BAG Fuses
ILLUM Fuse
Handling ESD Sensitive Parts Notice
Handling ESD Sensitive Parts Notice
Handling ESD Sensitive Parts Notice
Handling ESD Sensitive Parts Notice
Handling ESD Sensitive Parts Notice
Figure 16:

GAUGES, AIR BAG Fuses


Object Number: 299603  Size: FS
Power and Grounding Components
HTD MIR, RR DEFOG Fuses
HTR-A/C, BRAKE, CRUISE Fuses
TURN-B/U, TRANS Fuses, and WINDOWS Circuit Breaker
Handling ESD Sensitive Parts Notice
Handling ESD Sensitive Parts Notice
Handling ESD Sensitive Parts Notice
Handling ESD Sensitive Parts Notice
Handling ESD Sensitive Parts Notice
Handling ESD Sensitive Parts Notice
Handling ESD Sensitive Parts Notice
Handling ESD Sensitive Parts Notice
Figure 17:

HTD MIR, RR DEFOG Fuses


Object Number: 365398  Size: FS
Power and Grounding Components
TURN-B/U, TRANS Fuses, and WINDOWS Circuit Breaker
GAUGES, AIR BAG Fuses
Figure 18:

TURN-B/U, TRANS Fuses, and WINDOWS Circuit Breaker


Object Number: 299604  Size: FS
Power and Grounding Components
WIPER, RADIO, RR WIPER Fuses
HTD MIR, RR DEFOG Fuses
GAUGES, AIR BAG Fuses
Handling ESD Sensitive Parts Notice
Figure 19:

WIPER, RADIO, RR WIPER Fuses


Object Number: 365415  Size: FS
Power and Grounding Components
TURN-B/U, TRANS Fuses, and WINDOWS Circuit Breaker
Handling ESD Sensitive Parts Notice
Handling ESD Sensitive Parts Notice
Handling ESD Sensitive Parts Notice