GM Service Manual Online
For 1990-2009 cars only
Makes
🢒
Chevrolet
🢒
1999
🢒
Astro - 2WD
🢒
Transmission/Transaxle
🢒
Automatic Transmission - 4L60-E
🢒 Automatic Transmission Controls Schematics
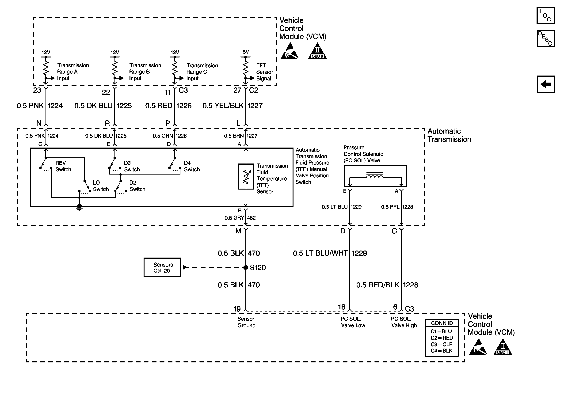
Figure
1:
Transmission Shift Controls
Automatic Transmission Components
Electronic Component Description
Transmission Switch Input Controls
EBCM Power Supply and Communication
Automatic Transmission Schematic Icons
TURN-B/U, TRANS Fuses, and WINDOWS Circuit Breaker
HTR-A/C, BRAKE, CRUISE Fuses
HTR-A/C, BRAKE, CRUISE Fuses
Cell 34 Cruise Control
Figure
2:
Transmission Switch Input Controls
Automatic Transmission Components
Electronic Component Description
Transmission Shift Controls
Automatic Transmission Schematic Icons
Automatic Transmission Schematic Icons
Fuel Mixture Input Controls