GM Service Manual Online
For 1990-2009 cars only
Figure 1:

Cell 150 Radio/Audio Systems Base Radio


Object Number: 363810  Size: FS
Ignition Switch, Run/ACC, Run/Start Bus
WIPER, RADIO, RR WIPER Fuses
B+ Bus
Cell 117 (IP Fuse Block, Headlamp and Panel Dimmer Switch, ConveNience Center, Overhead Console, Rear Radio Control Module)
Cell 117 (Headlamp and Panel Dimmer Switch, Remote CD/Cassette Tape Player)
Cell 14 (G200)
Entertainment Components
Radio/Audio System Circuit Description
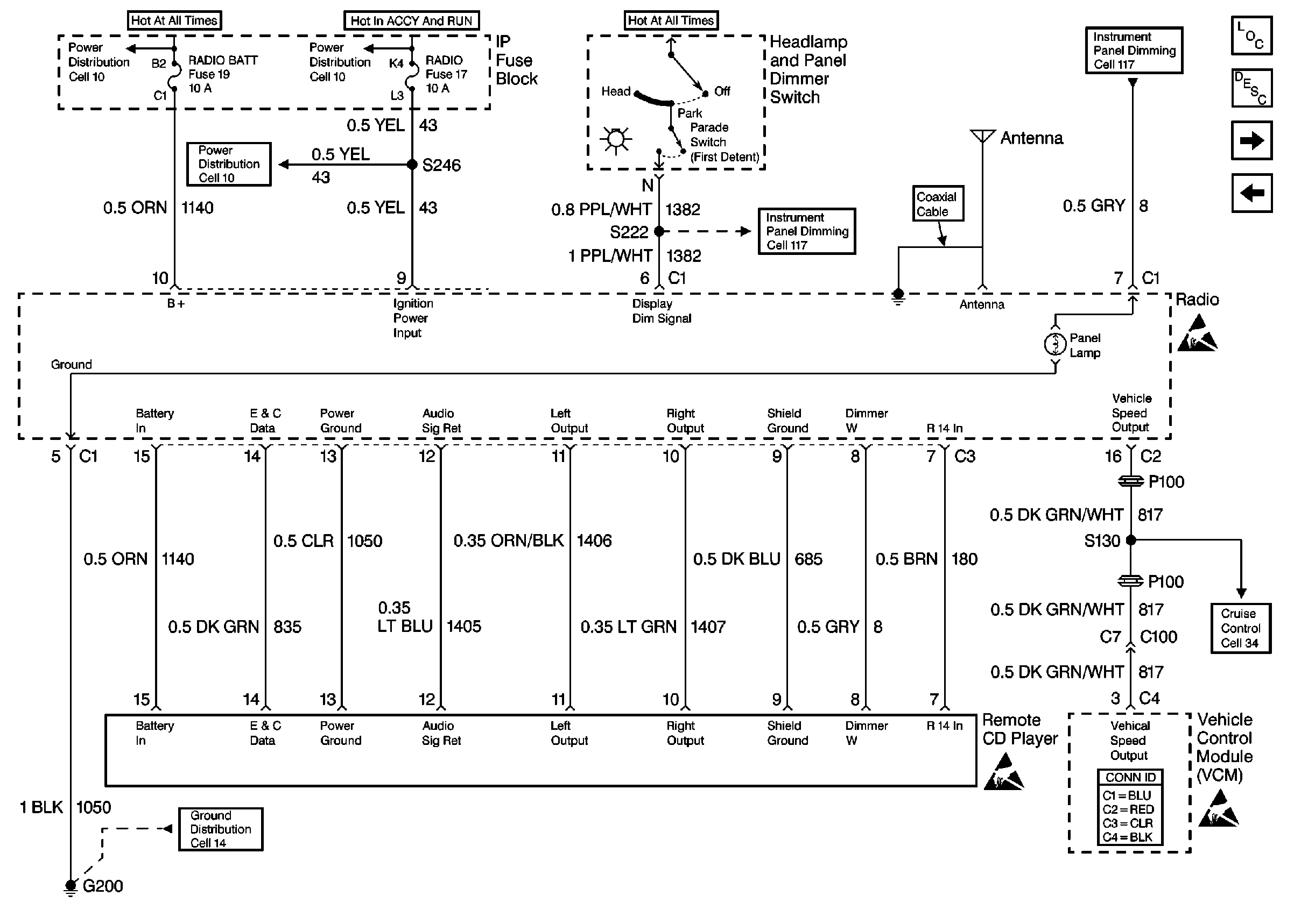
Cell 150 Radio/Audio Systems Premium Radio with Speed Compensated Volume(1 of 2)
Handling ESD Sensitive Parts Notice
Figure 2:

Cell 150 Radio/Audio Systems Premium Radio with Speed Compensated Volume (1 of 2)


Object Number: 363815  Size: FS
CIG LTR, RADIO BATT, CRANK Fuses
WIPER, RADIO, RR WIPER Fuses
WIPER, RADIO, RR WIPER Fuses
Cell 14 (G200)
Cell 117 (IP Fuse Block, Headlamp and Panel Dimmer Switch, ConveNience Center, Overhead Console, Rear Radio Control Module)
Cell 117 (Headlamp and Panel Dimmer Switch, Remote CD/Cassette Tape Player)
Cell 34 Cruise Control
Entertainment Components
Radio/Audio System Circuit Description
Cell 150 Radio/Audio Systems Premium Radio with Speed Compensated Volume(2 of 2)
Cell 150 Radio/Audio Systems Base Radio
Handling ESD Sensitive Parts Notice
Handling ESD Sensitive Parts Notice
Handling ESD Sensitive Parts Notice
Figure 3:

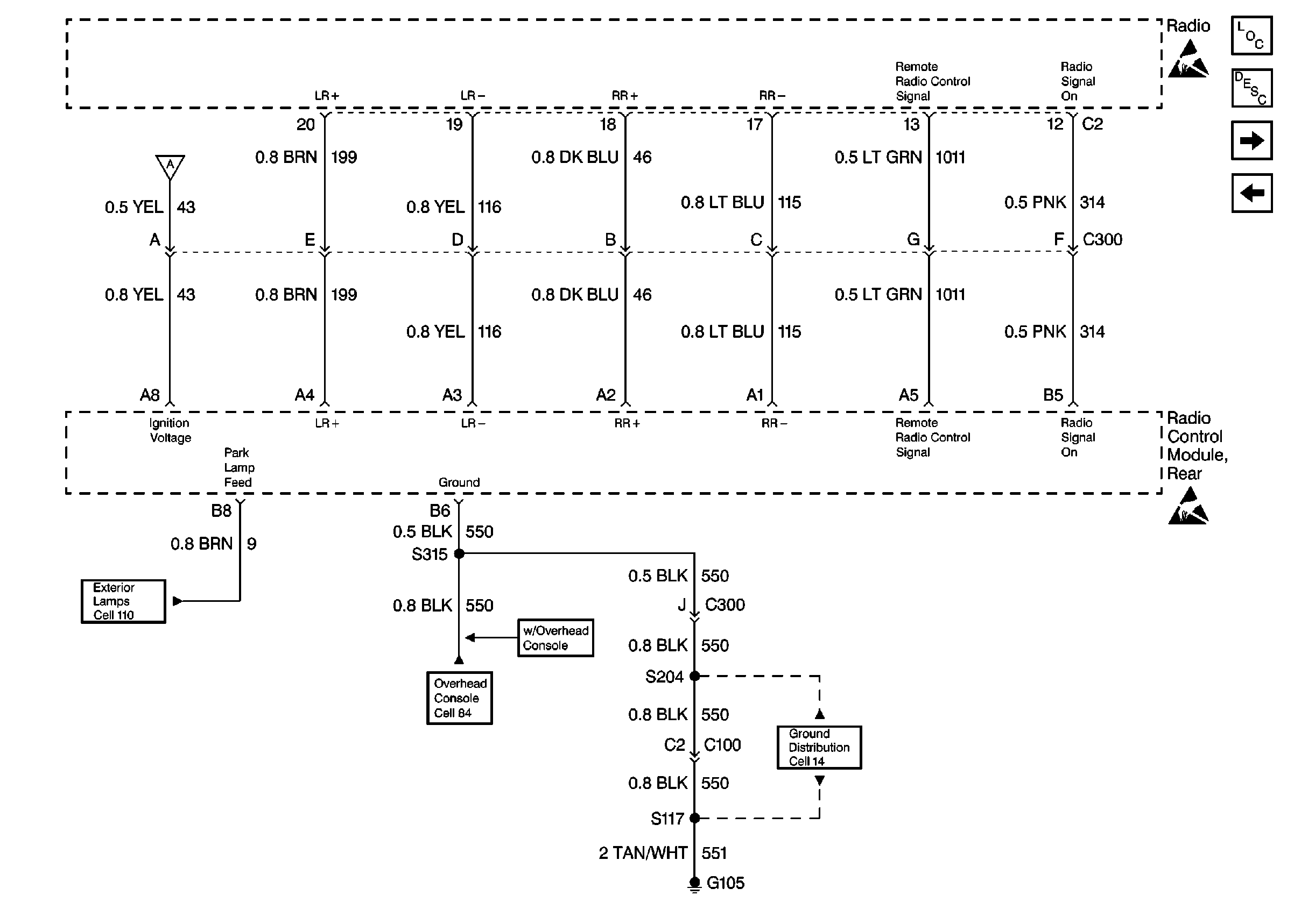
Cell 150 Radio/Audio Systems Premium Radio with Speed Compensated Volume (2 of 2)


Object Number: 300661  Size: FS
STOP/HAZ, AUX PWR Fuses
STOP/HAZ, AUX PWR Fuses
Cell 114 (IP Fuse Block, Cigarette Lighter, Front Auxiliary Power Outlet#1, Rear Auxiliary Power Outlet, Sub-Woofer Amplified)
LH Front Seat
Entertainment Components
Radio/Audio System Circuit Description
Cell 150 Radio/Audio Systems Premium Radio with Rear Control (1 of3)
Cell 150 Radio/Audio Systems Premium Radio with Speed Compensated Volume(1 of 2)
Handling ESD Sensitive Parts Notice
Handling ESD Sensitive Parts Notice
Figure 4:

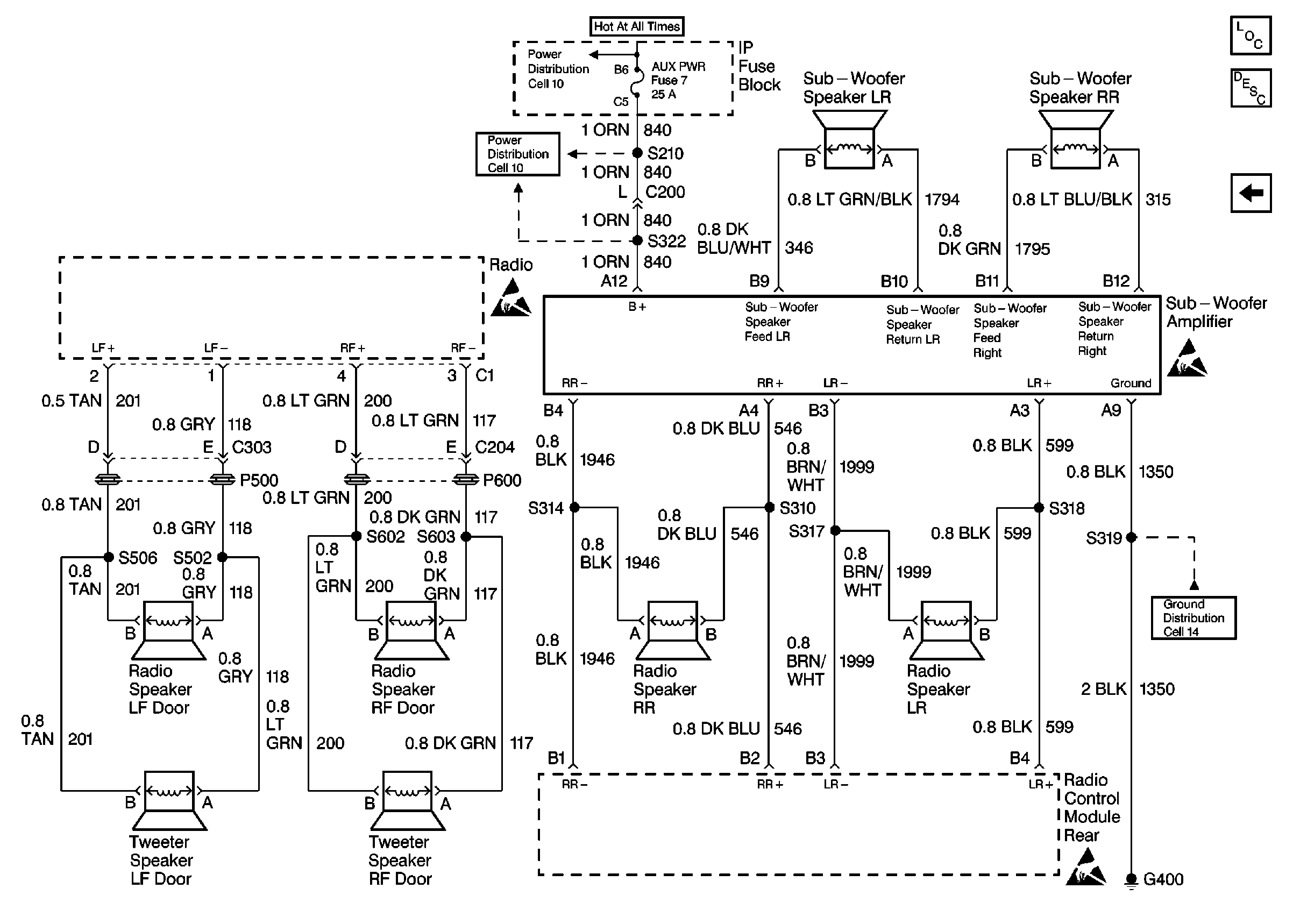
Cell 150 Radio/Audio Systems Premium Radio with Rear Control (1 of 3)


Object Number: 363823  Size: FS
CIG LTR, RADIO BATT, CRANK Fuses
WIPER, RADIO, RR WIPER Fuses
Cell 150 Radio/Audio Systems Premium Radio with Rear Radio Control(2 of 3)
Cell 34 Cruise Control
Handling ESD Sensitive Parts Notice
Handling ESD Sensitive Parts Notice
Cell 117 (IP Fuse Block, Headlamp and Panel Dimmer Switch, ConveNience Center, Overhead Console, Rear Radio Control Module)
Cell 117 (Headlamp and Panel Dimmer Switch, Remote CD/Cassette Tape Player)
Cell 14 (G200)
Entertainment Components
Radio/Audio System Circuit Description
Cell 150 Radio/Audio Systems Premium Radio with Rear Radio Control(2 of 3)
Cell 150 Radio/Audio Systems Premium Radio with Speed Compensated Volume(2 of 2)
Handling ESD Sensitive Parts Notice
Figure 5:

Cell 150 Radio/Audio Systems Premium Radio with Rear Radio Control (2 of 3)


Object Number: 414987  Size: FS
Cell 150 Radio/Audio Systems Premium Radio with Rear Control (1 of3)
CHMSL, License, Rear Marker, Tail/Stop, and Turn Signal Lamps
Cell 84 Electronic Compass with Temperature Display
Cell 14 (G107, G105)
Handling ESD Sensitive Parts Notice
Handling ESD Sensitive Parts Notice
Entertainment Components
Radio/Audio System Circuit Description
Cell 150 Radio/Audio Systems Premium Radio with Rear Control (2 of2)
Cell 150 Radio/Audio Systems Premium Radio with Rear Control (1 of3)
Figure 6:

Cell 150 Radio/Audio Systems Premium Radio with Rear Control (2 of 2)


Object Number: 363826  Size: FS
STOP/HAZ, AUX PWR Fuses
STOP/HAZ, AUX PWR Fuses
Handling ESD Sensitive Parts Notice
Handling ESD Sensitive Parts Notice
Handling ESD Sensitive Parts Notice
LH Front Seat
Entertainment Components
Radio/Audio System Circuit Description
Cell 150 Radio/Audio Systems Premium Radio with Rear Radio Control(2 of 3)