GM Service Manual Online
For 1990-2009 cars only

Removal Procedure

Tools Required

J 36202 Torsion Bar Unloading/Loading Tool

  1. Raise the vehicle. Refer to Lifting and Jacking the Vehicle in General Information.

  2. Object Number: 165122  Size: SH
  3. Remove the adjustment assemblies on the torsion bar. Mark the adjustment bolt setting.

  4. Object Number: 165126  Size: SH
  5. Using the J 36202 , increase the tension on the adjustment arm.

  6. Object Number: 165119  Size: SH
  7. Remove the adjustment bolt and the retaining nut.
  8. Move the tool aside.

  9. Object Number: 165128  Size: SH
  10. Remove the torsion bar adjustment arm.
  11. 6.1. Slide the torsion bar forward.
    6.2. Remove the adjustment arm.

    Object Number: 165137  Size: SH
  12. Slide the torsion bar back partially through the crossmember.
  13. Important: Note the L for left and the R for right on the front end of the torsion bar because there are different bars for the left and right sides.


    Object Number: 165135  Size: SH
  14. Drop the front end of the torsion bar down and slide the bar forward.

Installation Procedure

    Important: Note the L for left or R for right on the front end of the torsion bar because there are different bars for the left and right sides.


    Object Number: 165137  Size: SH
  1. Install the torsion bar.

  2. Object Number: 165119  Size: SH
  3. Lubricate the adjuster assembly with axle with axle grease on the adjuster arm and the bolt.

  4. Object Number: 165113  Size: SH
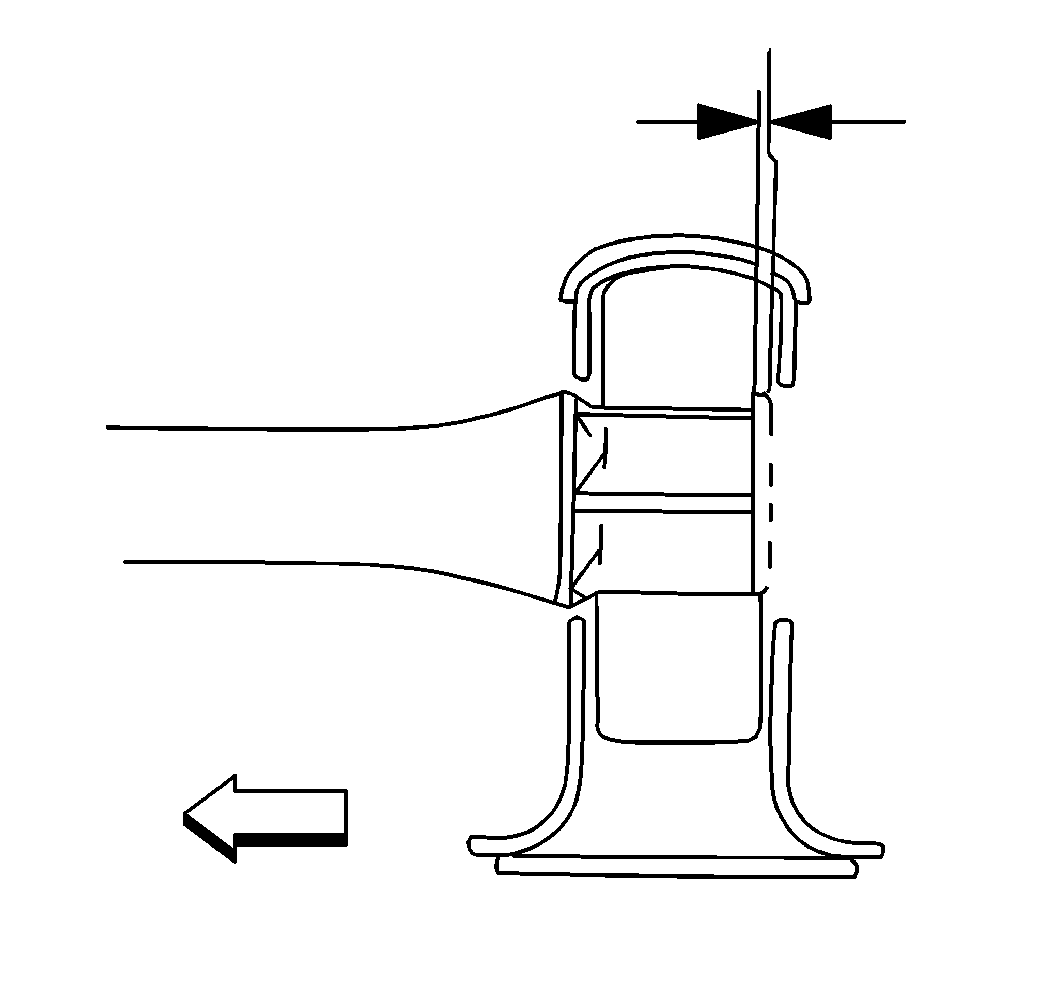
  5. Install the torsion bar adjuster arm.
  6. The rear face of the torsion bar should be within 1.0-2.0 mm (0.04-0.10 in) of the rear face of the adjuster arm when both are fully installed.


    Object Number: 165126  Size: SH
  7. Install the adjustment retaining nut and the adjustment bolt. Using the J 36202 , increase the tension on the torsion bar.

  8. Object Number: 165119  Size: SH
  9. Install the retaining nut and the adjustment bolt.

  10. Object Number: 165122  Size: SH
  11. Set the adjustment bolt to the marked setting.

  12. Object Number: 165126  Size: SH
  13. Using the J 36202 , release the tension on the torsion bar until the load is taken up by the adjustment bolt.
  14. Remove the J 36202 .
  15. Lower the vehicle.
  16. Check the Z height. Refer to Trim Height Inspection in Suspension General Diagnosis.