GM Service Manual Online
For 1990-2009 cars only

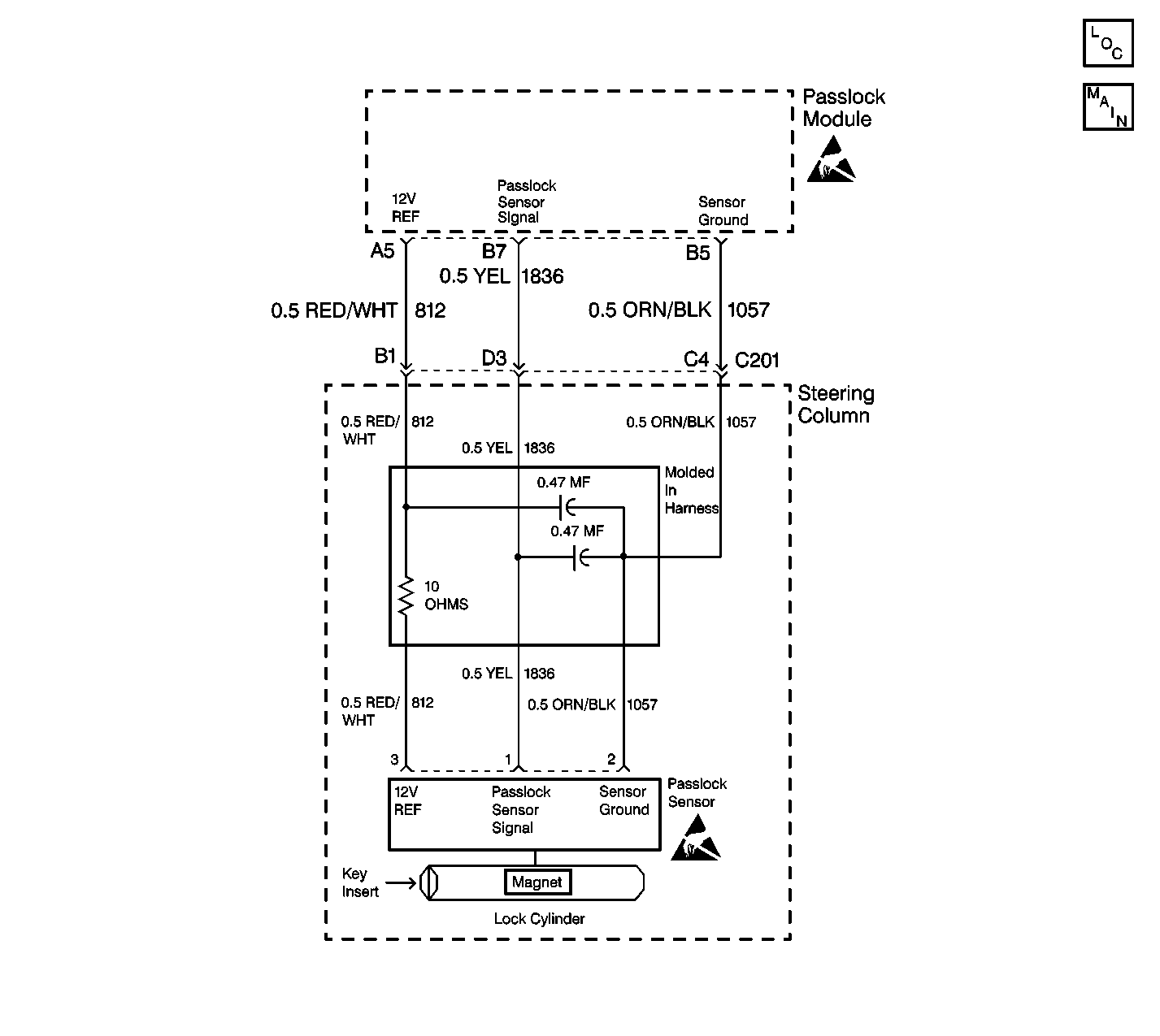
Object Number: 381483  Size: LF
Theft Deterrent System Components
Theft Deterrent System Schematics
Theft Deterrent System Schematic Icons
Theft Deterrent System Schematic Icons

Circuit Description

The Passlock module will read an analog voltage from the Passlock sensor. Based on an internal reference, the Passlock module will determine if the measured voltage is open, shorted to ground, a valid code, or a tamper code. In this case, the Passlock module is reading a tamper code.

Conditions for Setting the DTC

    • The Passlock module will inspect for a tamper code when the ignition is rotated from ON to crank.
    • The Passlock module is reading a tamper code form the Passlock sensor for longer than 1.0 second.

Action Taken When the DTC Sets

    • The vehicle will not run. The security telltale will be flashing.
    • The Passlock state is Tamper.

Conditions for Clearing the DTC

    • The DTC will clear after an ignition cycle has occurred without the fault.
    • Passlock module history codes will be cleared after 100 ignition cycles with no current codes active.
    • Using a scan tool.

Diagnostic Aids

    • Prior to replacing a Passlock module, ensure all the diagnostics have been completed, Refer to Diagnostic Trouble Code (DTC) Displaying for troubleshooting priority.
    • Perform a visual inspection of the wiring and the connectors.
    • Inspect the Passlock sensor harness for an intermittent or poor connections (including the in-line connector). Refer to Intermittents and Poor Connections .

Test Description

The numbers below refer to the numbers on the diagnostic table.

  1. This step test if DTC B3033 is intermittent.

  2. This test inspects for a mechanical condition.

  3. This step will determine if the condition is in the Passlock module or the Passlock sensor.

Step

Action

Value(s)

Yes

No

1

Did you perform the VTD Diagnostic System Check?

--

Go to Step 2

Go to Diagnostic System Check - Theft Deterrent

2

  1. Turn the ignition switch ON.
  2. Use a scan tool in order to clear the Passlock DTCs.
  3. Turn the ignition switch OFF.
  4. Turn the ignition switch ON again.
  5. Use a scan tool in order to read the Passlock DTCs.

Did DTC B3033 set?

--

Go to Step 3

Go to Intermittents and Poor Connections

3

Inspect the ignition cylinder mechanical assembly.

Is there binding or has the cylinder magnet, located at the side of the lock cylinder, been damaged?

--

Go to Step 7

Go to Step 5

4

Replace the Passlock sensor in the electronic column lock module assembly using the appropriate procedure from the following list:

    • With Tilt Wheel
       - To disassemble the lock module assembly, refer to Electronic Column Lock Module - Disassemble - Off Vehicle in Steering Wheel and Column-Tilt.
       - To assemble the lock module assembly, refer to Electronic Column Lock Module - Assemble - Off Vehicle in Steering Wheel and Column-Tilt.
    • With Standard Wheel
       - To disassemble the lock module assembly, refer to Electronic Column Lock Module - Disassemble - Off Vehicle in Steering Wheel and Column-Standard.
       - To assemble the lock module assembly, refer to Electronic Column Lock Module - Assemble - Off Vehicle in Steering Wheel and Column-Standard.

Is the repair complete?

--

Go to Step 8

--

5

  1. Turn the ignition switch to the OFF position.
  2. Disconnect C201 at the base of the steering column.
  3. Turn the ignition switch ON.
  4. Use a J 39200 digital multimeter (DMM) in order to measure the voltage from C201 terminal D3 to ground.

Is the voltage within the specified range?

4.9-5.0 volts

Go to Step 4

Go to Step 6

6

Replace the Passlock module. Refer to Theft Deterrent Module Replacement .

Is the repair complete?

--

Go to Step 8

--

7

Replace the ignition lock cylinder. Refer to Ignition Lock Cylinder Replacement - On Vehicle in Steering Wheel and Column

Is the repair complete?

--

Go to Diagnostic System Check - Theft Deterrent

--

8

  1. Reconnect all the previously disconnected connectors and the components.
  2. Turn the ignition switch ON.
  3. Connect the can tool.
  4. Clear the DTCs.
  5. Perform one of the following Passlock reprogramming procedures:

Is the repair complete?

--

Go to Diagnostic System Check - Theft Deterrent

--