GM Service Manual Online
For 1990-2009 cars only

Idler Arm Replacement RWD

Tools Required

    •  J 24319-B Steering Linkage and Tie Rod Puller
    •  J 29193 Steering Linkage Installer (12 mm)

Removal Procedure

Important: Use the proper tool in order to separate all of the ball joints.

  1. Raise the vehicle. Refer to Lifting and Jacking the Vehicle in General Information.

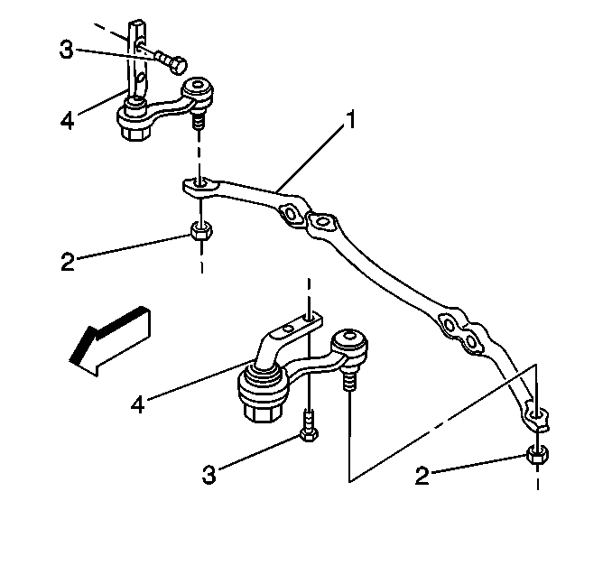
  2. Object Number: 284525  Size: SH
  3. Remove the bolts (3) from the idler arm (4).
  4. Remove the prevailing torque nut (2) from the idler arm (4) ball stud.
  5. Discard the prevailing torque nut (2).

  6. Use the J 24319-B in order to remove the relay rod (1) from the idler arm (4).
  7. Remove the idler arm (4).
  8. Inspect the ball stud threads for damage.
  9. Inspect the ball stud seal for cuts or other damage.
  10. Clean the threads on the ball stud and in the ball stud nut.

Installation Procedure


    Object Number: 284525  Size: SH
  1. Install the idler arm (4) to the frame.
  2. Notice: Use the correct fastener in the correct location. Replacement fasteners must be the correct part number for that application. Fasteners requiring replacement or fasteners requiring the use of thread locking compound or sealant are identified in the service procedure. Do not use paints, lubricants, or corrosion inhibitors on fasteners or fastener joint surfaces unless specified. These coatings affect fastener torque and joint clamping force and may damage the fastener. Use the correct tightening sequence and specifications when installing fasteners in order to avoid damage to parts and systems.

  3. Install the idler arm to frame mounting bolts (3).
  4. Tighten
    Tighten the idler arm to frame mounting bolts to 105 N·m (77 lb ft).


    Object Number: 689037  Size: SH
  5. Use the J 29193 in order to install the relay rod to the idler arm ball stud.
  6. Ensure that the seal is on the stud.

    Tighten
    Tighten the J 29193 to 54 N·m (40 lb ft) in order to seat the tapers.

  7. Remove the J 29193 .

  8. Object Number: 284525  Size: SH
  9. Install the new prevailing torque nut (2) to the idler arm (4) ball stud.
  10. Tighten
    Tighten the prevailing torque nut to 47 N·m (35 lb ft).

  11. Lower the vehicle.
  12. Adjust the toe-in. Refer to Front Toe Adjustment in Wheel Alignment.

Idler Arm Replacement AWD

Tools Required

    •  J 24319-B Steering Linkage and Tie Rod Puller
    •  J 29193 Steering Linkage Installer (12 mm)

Removal Procedure

Use the proper tool in order to separate all of the ball joints.

  1. Raise the vehicle. Refer to Lifting and Jacking the Vehicle in General Information.

  2. Object Number: 375572  Size: SH
  3. Remove the bolts (2) from the idler arm (1).
  4. Remove the prevailing torque nut (5) from the idler arm (1) ball stud.
  5. Discard the prevailing torque nut (5).

  6. Use the J 24319-B in order to remove the relay rod (4) from the idler arm (5).
  7. Remove the idler arm (5).
  8. Inspect the ball stud threads for damage.
  9. Inspect the ball stud seal for cuts or other damage.
  10. Clean the threads on the ball stud and in the ball stud nut.

Installation Procedure


    Object Number: 375572  Size: SH
  1. Install the idler arm (1) to the frame.
  2. Notice: Use the correct fastener in the correct location. Replacement fasteners must be the correct part number for that application. Fasteners requiring replacement or fasteners requiring the use of thread locking compound or sealant are identified in the service procedure. Do not use paints, lubricants, or corrosion inhibitors on fasteners or fastener joint surfaces unless specified. These coatings affect fastener torque and joint clamping force and may damage the fastener. Use the correct tightening sequence and specifications when installing fasteners in order to avoid damage to parts and systems.

  3. Install the bolts (2).
  4. Tighten
    Tighten the bolts to 105 N·m (77 lb ft).


    Object Number: 689037  Size: SH
  5. Use the J 29193 in order to install the relay rod to the idler arm ball stud.
  6. Ensure that the seal is on the stud.

    Tighten
    Tighten the J 29193 to 54 N·m (40 lb ft) in order to seat the tapers.

  7. Remove the J 29193 .

  8. Object Number: 375572  Size: SH
  9. Install the new prevailing torque nut to the idler arm (5) ball stud.
  10. Tighten
    Tighten the prevailing torque nut to 47 N·m (35 lb ft).

  11. Lower the vehicle.
  12. Adjust the toe-in. Refer to Front Toe Adjustment in Wheel Alignment.