GM Service Manual Online
For 1990-2009 cars only

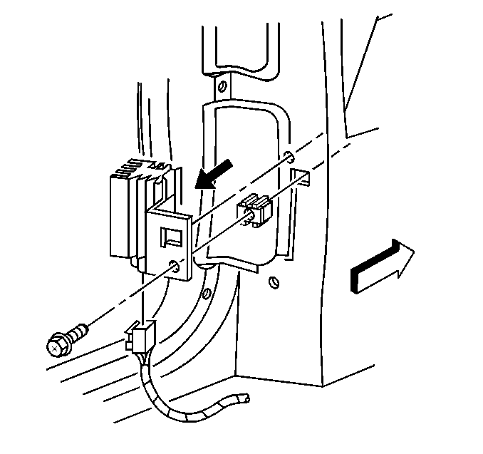
Removal Procedure


    Object Number: 296143  Size: SH
  1. Remove the body side front lower trim panel.
  2. Refer to Body Side Front Lower Trim Panel Vent Replacement in Interior Trim.

  3. Remove the screw that retains the diode to the body lock pillar.
  4. Disconnect the electrical connector from the diode.
  5. Remove the diode from the vehicle.

Installation Procedure


    Object Number: 344931  Size: SH
  1. Install the diode to the vehicle.
  2. Connect the electrical connector to the diode.
  3. Notice: Refer to Fastener Notice in the Preface section.

  4. Install the screw that retains the diode to the body lock pillar.
  5. Tighten
    Tighten the screw that retains the diode to the body lock pillar to 6 N·m (53 lb in).

  6. Install the body side front lower trim panel. Refer to Body Side Front Lower Trim Panel Vent Replacement in Interior Trim.