GM Service Manual Online
For 1990-2009 cars only
Figure 1:

Power and Ground


Object Number: 526482  Size: FS
Body Control Module Components
Body Control System Description
RAP, Door Locks, and Headlights DRL
BATT and LIGHTING Fuse
IGN-A Fuse and Ignition Switch
Handling ESD Sensitive Parts Notice
IGN-B Fuse and Ignition Switch
CTSY Fuse 3, PK LPS Fuse 9, TBC Fuse 15, and PWR MIR Fuse 21
GAUGES Fuse 4, AIR BAG Fuse 10 and TURN-B/U Fuse 16
HTR-A/C Fuse 12, BRAKE Fuse 18 and CRUISE Fuse 6
ILLUM Fuse 14
G105 and G107
Figure 2:

RAP, Door Locks, and Headlights DRL


Object Number: 526587  Size: FS
Body Control Module Components
Body Control System Description
Theft, Auto Trans, Audible Warnings, Brake Warning, and Interior Lights
Power and Ground
(RAP Fuse, Body Control Module)
Handling ESD Sensitive Parts Notice
(RAP Fuse, Body Control Module)
Power Door Lock Schematics (1 of 4)
Headlamp and Panel Dimmer Switch, Ambient Light Sensor, Headlamp Relay
Data Link Schematics (1 of 2)
DRL Relay, DRL Diode D300
Figure 3:

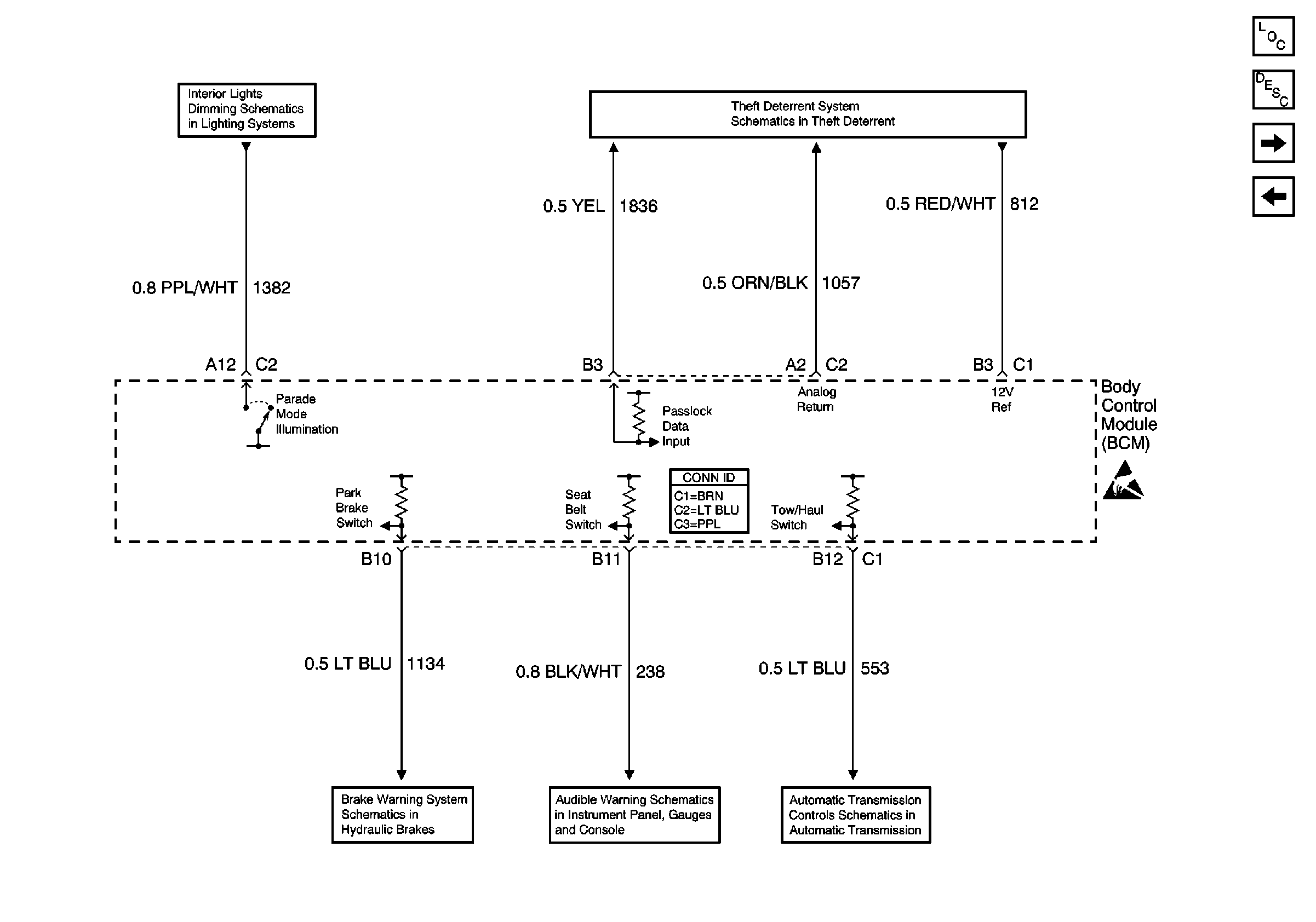
Theft, Auto Trans, Audible Warnings, Brake Warning, and Interior Lights


Object Number: 526591  Size: FS
Body Control Module Components
Body Control System Description
Horns, Interior Lights, Exterior Lights, RKE, and Instrument Cluster
RAP, Door Locks, and Headlights DRL
Dimming Rheostat
Theft Deterrent Schematics
Handling ESD Sensitive Parts Notice
Park Brake Indicator Switch
Power, Seat Belt Switch, Key-In Warning Switch, and Door Jamb Switch
Automatic Transmission Schematics (3 of 3)
Figure 4:

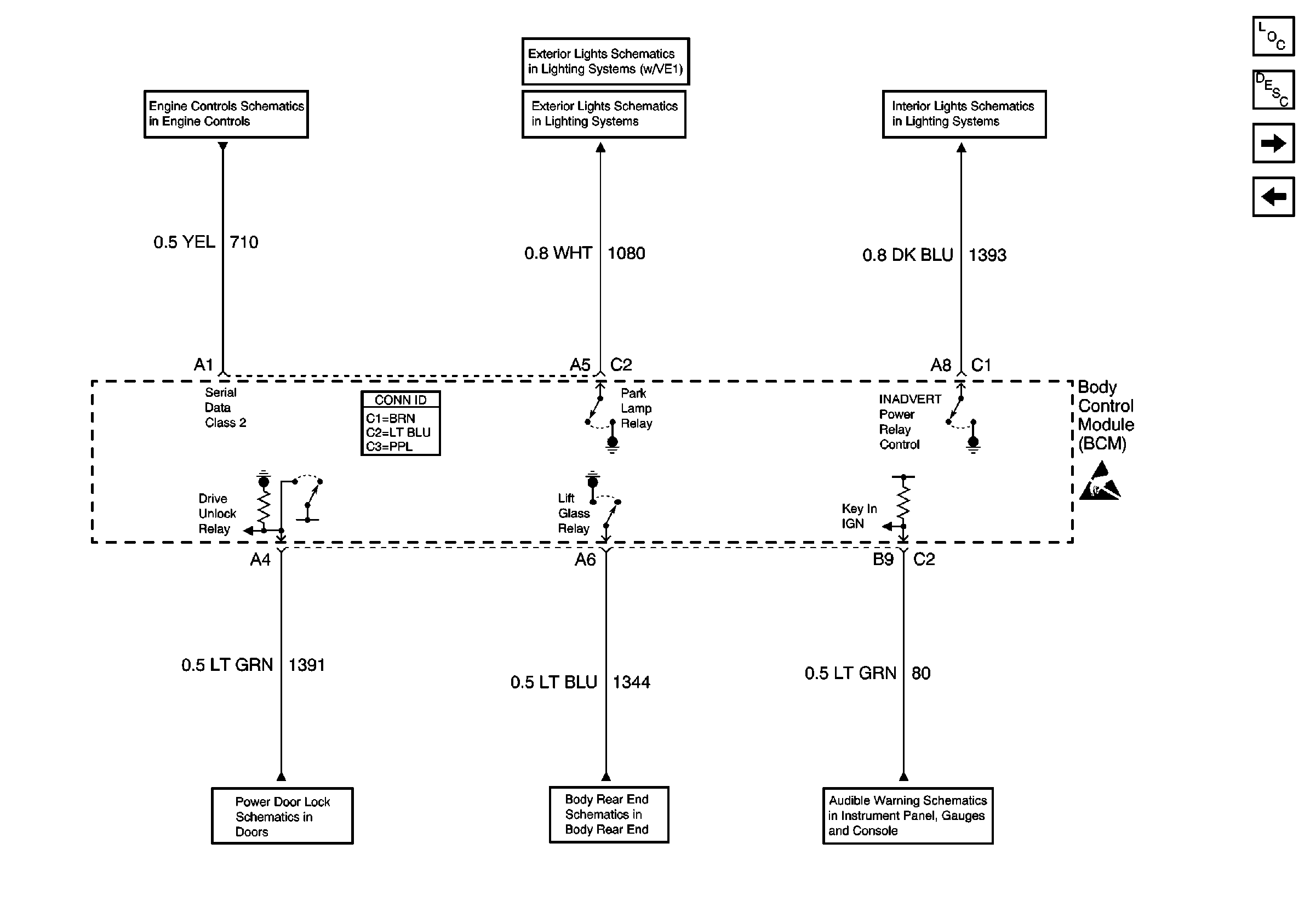
Horns, Interior Lights, Exterior Lights, RKE, and Instrument Cluster


Object Number: 526598  Size: FS
Body Control Module Components
Body Control System Description
Engine Controls, Exterior Lights, Interior Lights, Door Locks, Body Rear End, and Audible Warnings
Theft, Auto Trans, Audible Warnings, Brake Warning, and Interior Lights
ILLUM, TRANS, and GAUGES Fuse, and Grounds
Handling ESD Sensitive Parts Notice
Turn Indicators, Park/Turn Signal Lamps, Front Side Marker Lamps
Remote Keyless Entry Schematic
Horn Schematics
Window and Door Lock Switches
Park Lamp Relay
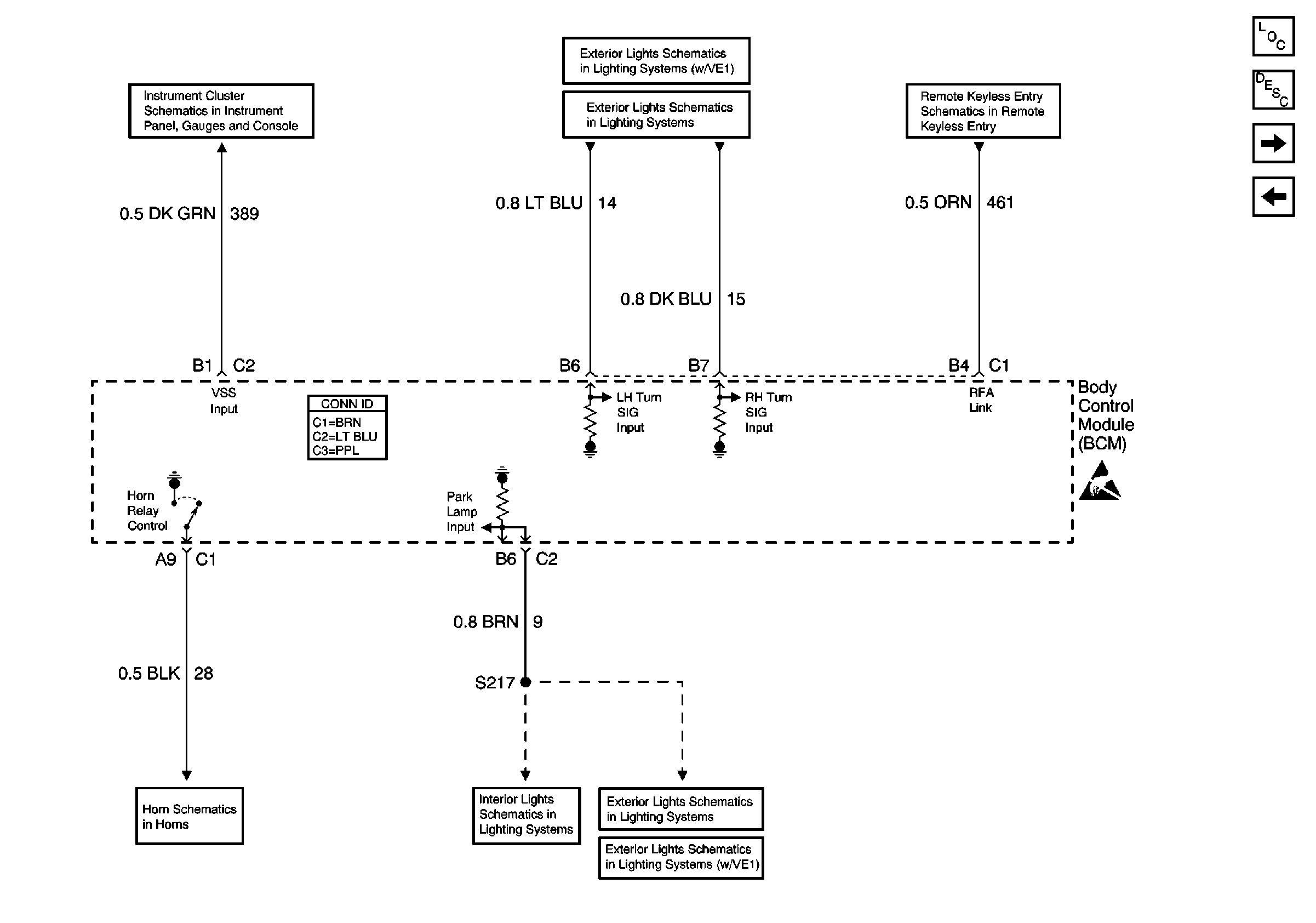
Figure 5:

Engine Controls, Exterior Lights, Interior Lights, Door Locks, Body Rear End, and Audible Warnings


Object Number: 526605  Size: FS
Body Control Module Components
Body Control System Description
Headlights DRL and Interior Lights
Horns, Interior Lights, Exterior Lights, RKE, and Instrument Cluster
Transmission Range, Tow/Haul Switch Input Controls
Handling ESD Sensitive Parts Notice
Park Lamp Relay
Inadvertent Power Relay, Vanity Lamps
Power Door Lock Schematics (4 of 4)
Rear Liftgate Window Release (2 of 2)
Power, Seat Belt Switch, Key-In Warning Switch, and Door Jamb Switch
Park Lamp Relay
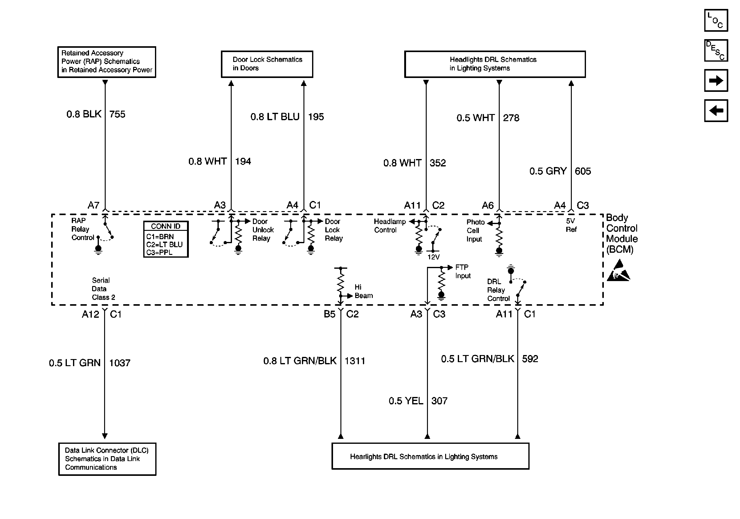
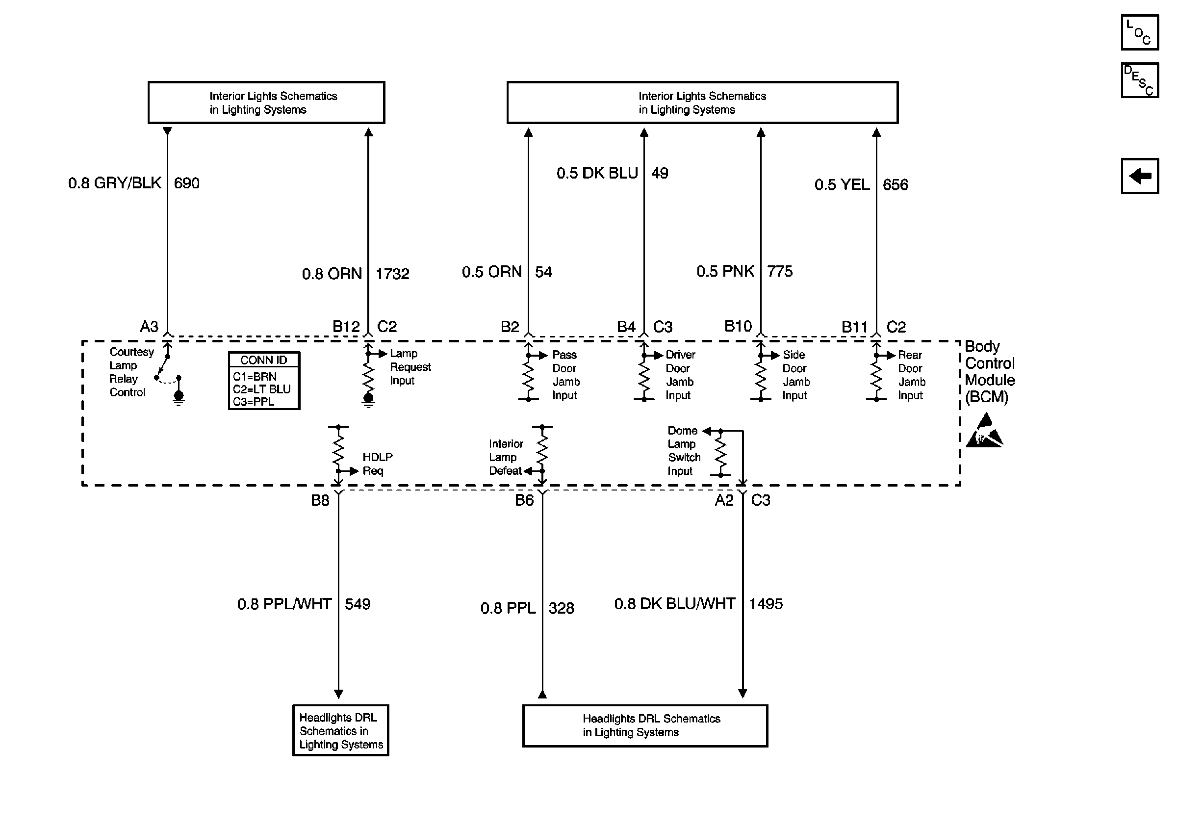
Figure 6:

Headlights DRL and Interior Lights


Object Number: 526613  Size: FS
Body Control Module Components
Body Control System Description
Engine Controls, Exterior Lights, Interior Lights, Door Locks, Body Rear End, and Audible Warnings
Courtesy Lamp Relay
Door Jamb Switches, Liftgate Strut Switch
Handling ESD Sensitive Parts Notice
Headlamp and Panel Dimmer Switch, Ambient Light Sensor, Headlamp Relay
Headlamp and Panel Dimmer Switch, Ambient Light Sensor, Headlamp Relay