GM Service Manual Online
For 1990-2009 cars only
Makes
🢒
Chevrolet
🢒
2000
🢒
Astro - 2WD
🢒
Body and Accessories
🢒
Keyless Entry
🢒 Keyless Entry Schematics
Keyless Entry Components
Keyless Entry System Circuit Description
CTSY Fuse 3, PK LPS Fuse 9, TBC Fuse 15, and PWR MIR Fuse 21
CTSY Fuse 3, PK LPS Fuse 9, TBC Fuse 15, and PWR MIR Fuse 21
Ground Distribution Schematics
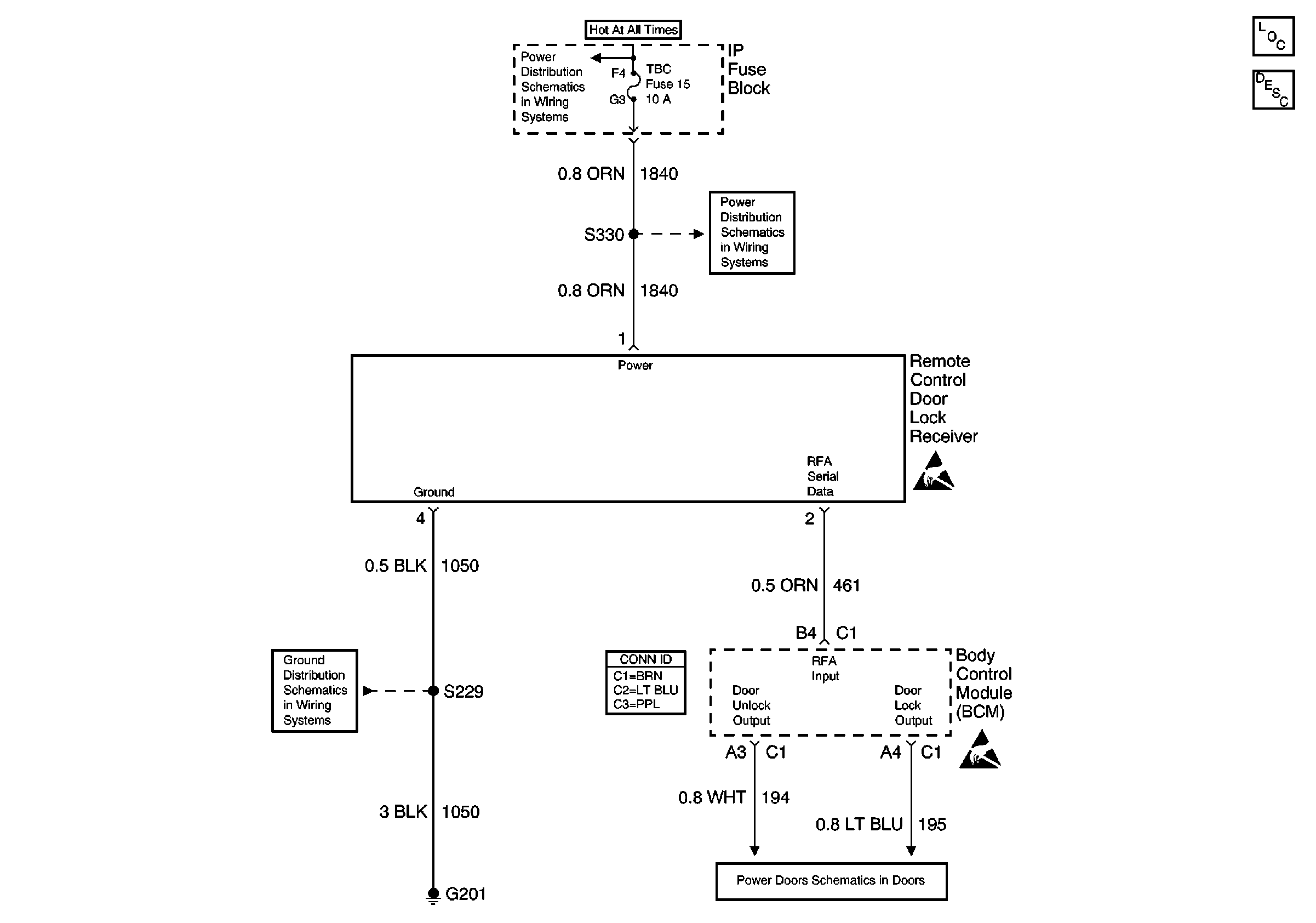
Power Door Lock Schematics (1 of 4)
Keyless Entry Schematic Icons
Keyless Entry Schematic Icons