GM Service Manual Online
For 1990-2009 cars only
Makes
🢒
Chevrolet
🢒
2000
🢒
Astro - 2WD
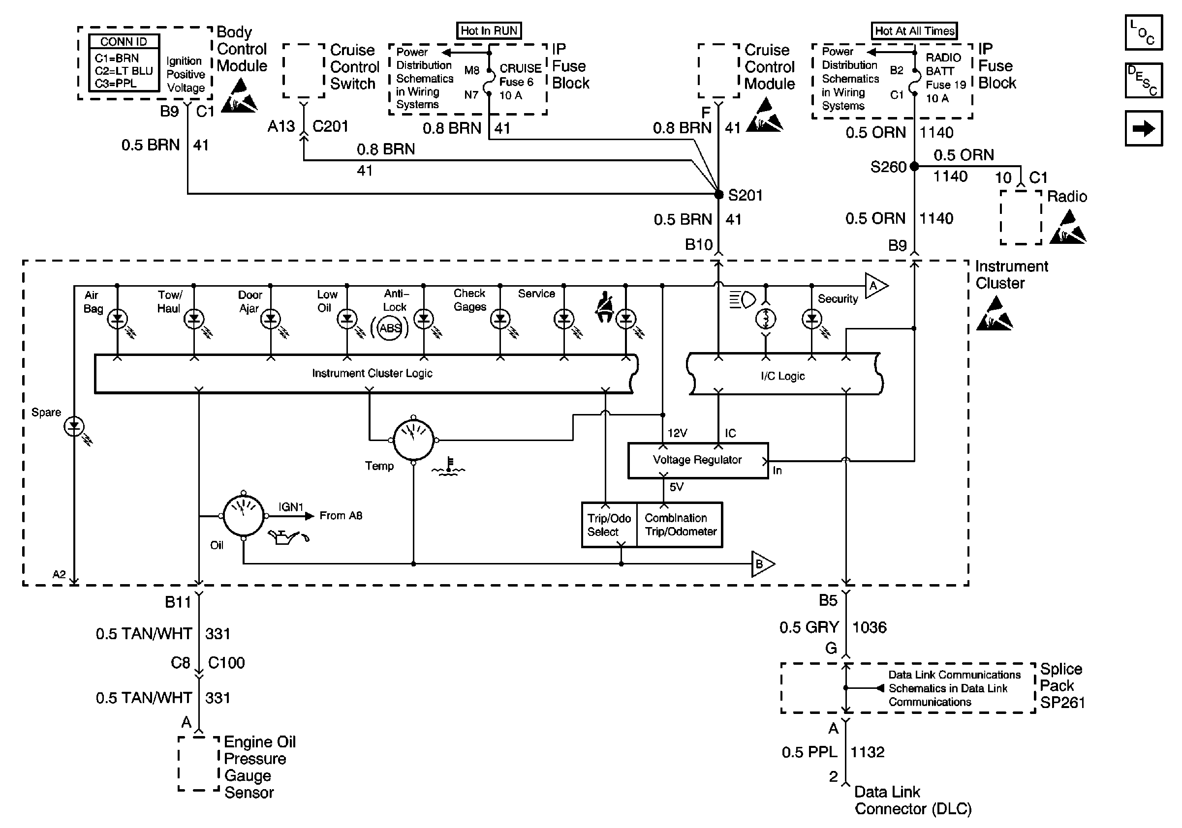
🢒 RADIO BATT Fuse, Data Link, and CRUISE Fuse
RADIO BATT Fuse, Data Link, and CRUISE Fuse
RADIO BATT Fuse, Data Link, and CRUISE Fuse
Instrument Cluster Components
Instrument Cluster Description
ILLUM, TRANS, and GAUGES Fuse, and Grounds
IGN-B Fuse and Ignition Switch
BATT and LIGHTING Fuse
Handling ESD Sensitive Parts Notice
Handling ESD Sensitive Parts Notice
Handling ESD Sensitive Parts Notice
Handling ESD Sensitive Parts Notice
ILLUM, TRANS, and GAUGES Fuse, and Grounds
ILLUM, TRANS, and GAUGES Fuse, and Grounds
Data Link Schematics (1 of 2)