GM Service Manual Online
For 1990-2009 cars only

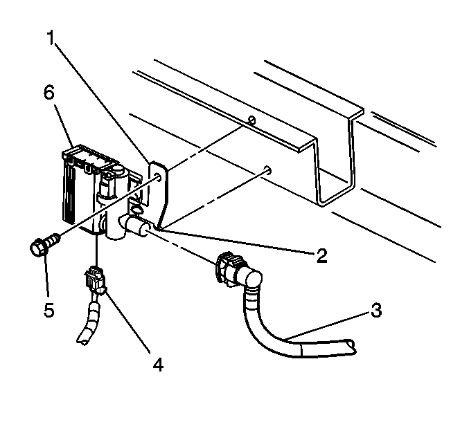
Removal Procedure

  1. Raise the vehicle. Refer to Lifting and Jacking the Vehicle in General Information.

  2. Object Number: 710867  Size: SH
  3. Remove the evaporative emission (EVAP) canister vent valve bracket bolt (5) from the vent valve bracket (1).
  4. Disconnect the vent valve harness connector (4) from the vent valve (6).
  5. Disconnect the vent pipe (3) from the vent valve (6).
  6. Remove the vent valve.
  7. Remove the vent valve from the bracket.

Installation Procedure


    Object Number: 710867  Size: SH
  1. Install the vent valve on the bracket.
  2. Install the EVAP canister vent pipe (3) on the EVAP canister vent valve (6).
  3. Connect the EVAP canister vent valve harness connector (4) to the EVAP canister vent valve.
  4. Notice: Use the correct fastener in the correct location. Replacement fasteners must be the correct part number for that application. Fasteners requiring replacement or fasteners requiring the use of thread locking compound or sealant are identified in the service procedure. Do not use paints, lubricants, or corrosion inhibitors on fasteners or fastener joint surfaces unless specified. These coatings affect fastener torque and joint clamping force and may damage the fastener. Use the correct tightening sequence and specifications when installing fasteners in order to avoid damage to parts and systems.

  5. Install the EVAP canister vent valve bracket (1) and the vent valve bracket bolt (5).
  6. Tighten
    Tighten the retaining bolt to 10 N·m (89 lb in).

  7. Lower the vehicle.