GM Service Manual Online
For 1990-2009 cars only
Makes
🢒
Chevrolet
🢒
2001
🢒
Astro - 2WD
🢒
Brakes
🢒
Antilock Brake System
🢒 Antilock Brake System Schematics
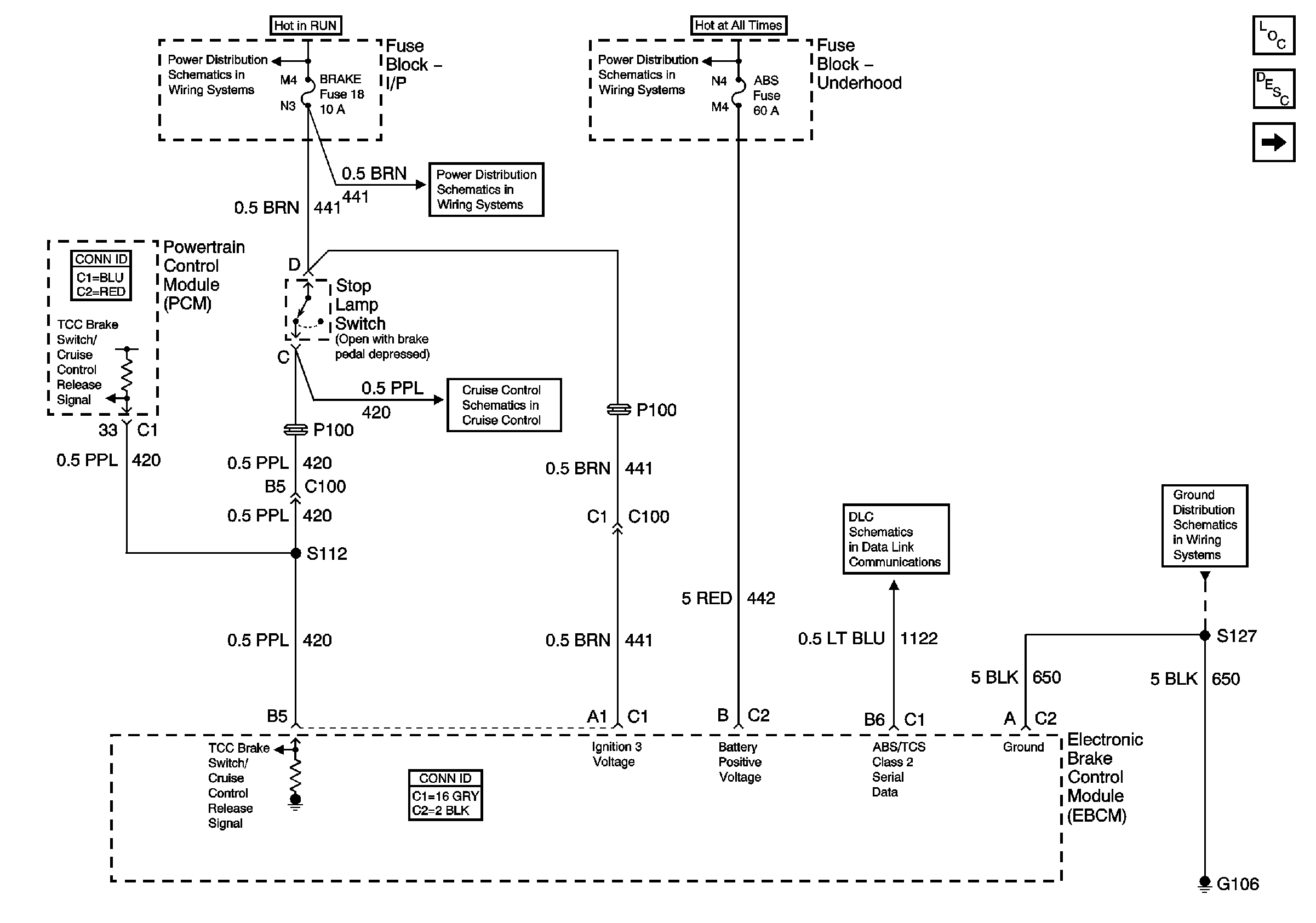
Figure
1:
EBCM Power Supply and Communication
Master Electrical Component List
ABS Description and Operation
EBCM Ground Supply and Controls
ING-B Fuse and Ignition Switch
Battery and Underhood Fuse Block
HTR-A/C Fuse 12, BRAKE Fuse 18, and CRUISE Fuse 6
Cruise Control Schematics
Transmission Shift Controls
Class 2 Data
G101, G106 and G302
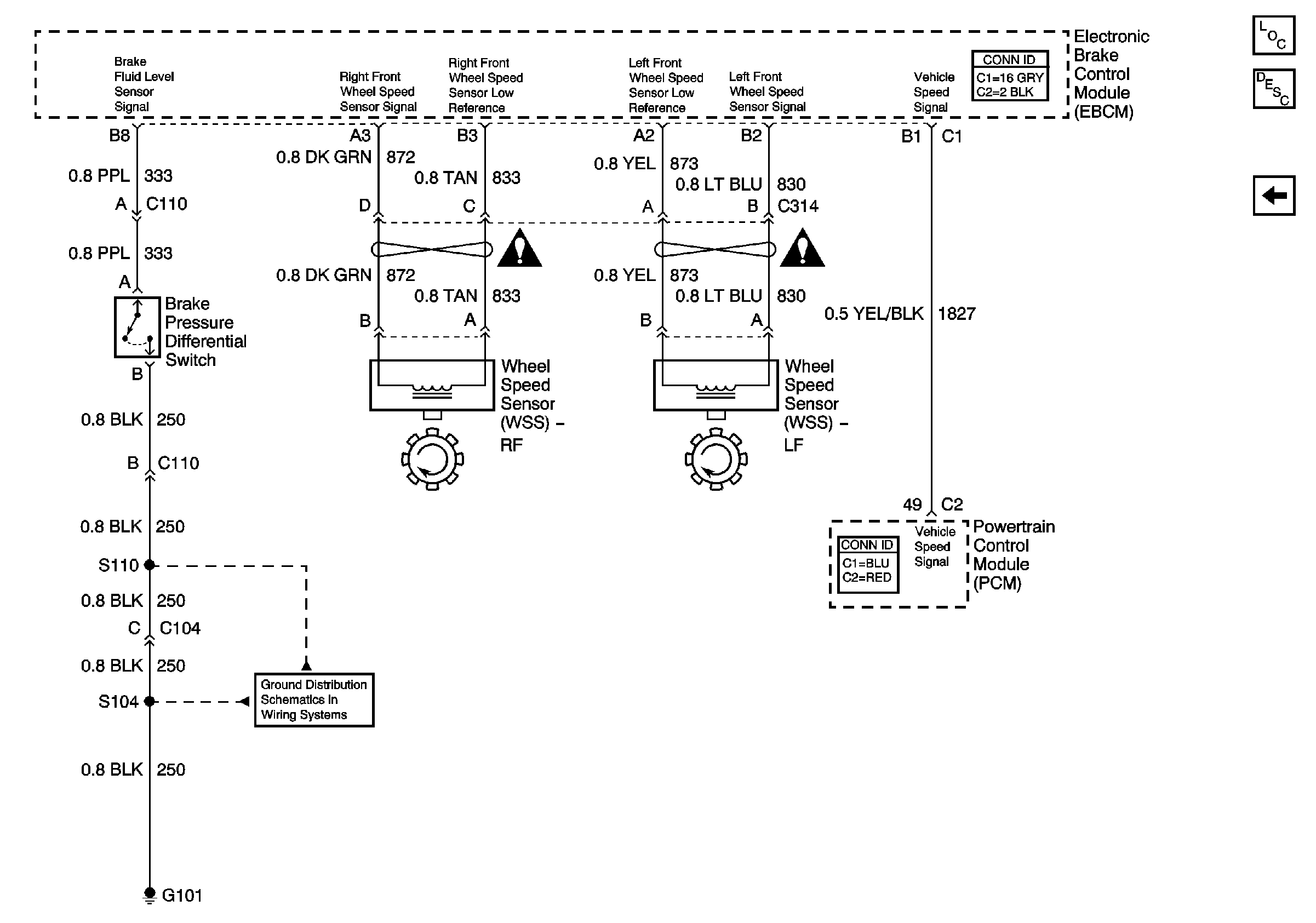
Figure
2:
EBCM Ground Supply and Controls
Master Electrical Component List
ABS Description and Operation
EBCM Power Supply and Communication
G101, G106 and G302