GM Service Manual Online
For 1990-2009 cars only
Makes
🢒
Chevrolet
🢒
2001
🢒
Astro - 2WD
🢒
Transmission/Transaxle
🢒
Automatic Transmission - 4L60-E
🢒 Automatic Transmission Controls Schematics
Figure
1:
Stop Lamp Switch and Valve Controls
Master Electrical Component List
Electronic Component Description
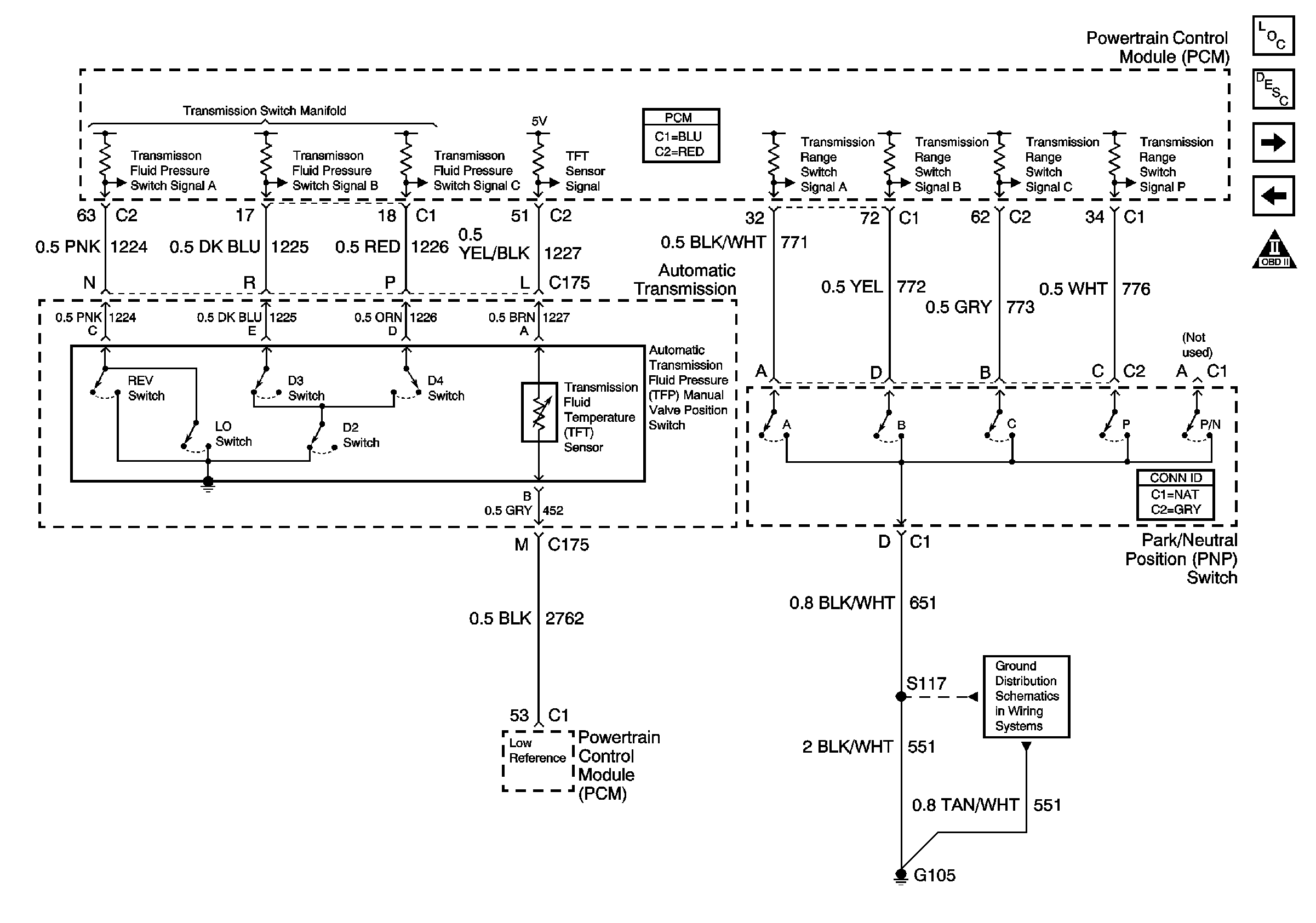
Switch Inputs and PNP Switch
ING-B Fuse and Ignition Switch
HTR-A/C Fuse 12, BRAKE Fuse 18, and CRUISE Fuse 6
TRANS Fuse 20 and WINDOWS Circuit Breaker
Cruise Control Schematics
EBCM Power Supply and Communication
Figure
2:
Switch Inputs and PNP Switch
Master Electrical Component List
Electronic Component Description
Tow/Haul Switch and VSS Inputs
Stop Lamp Switch and Valve Controls
G105 and G107
Figure
3:
Tow/Haul Switch and VSS Inputs
Master Electrical Component List
Electronic Component Description
Switch Inputs and PNP Switch
G110 (1 of 2)
G101, G106 and G302