GM Service Manual Online
For 1990-2009 cars only
Makes
🢒
Chevrolet
🢒
2001
🢒
Astro - 2WD
🢒
Body and Accessories
🢒
Stationary Windows
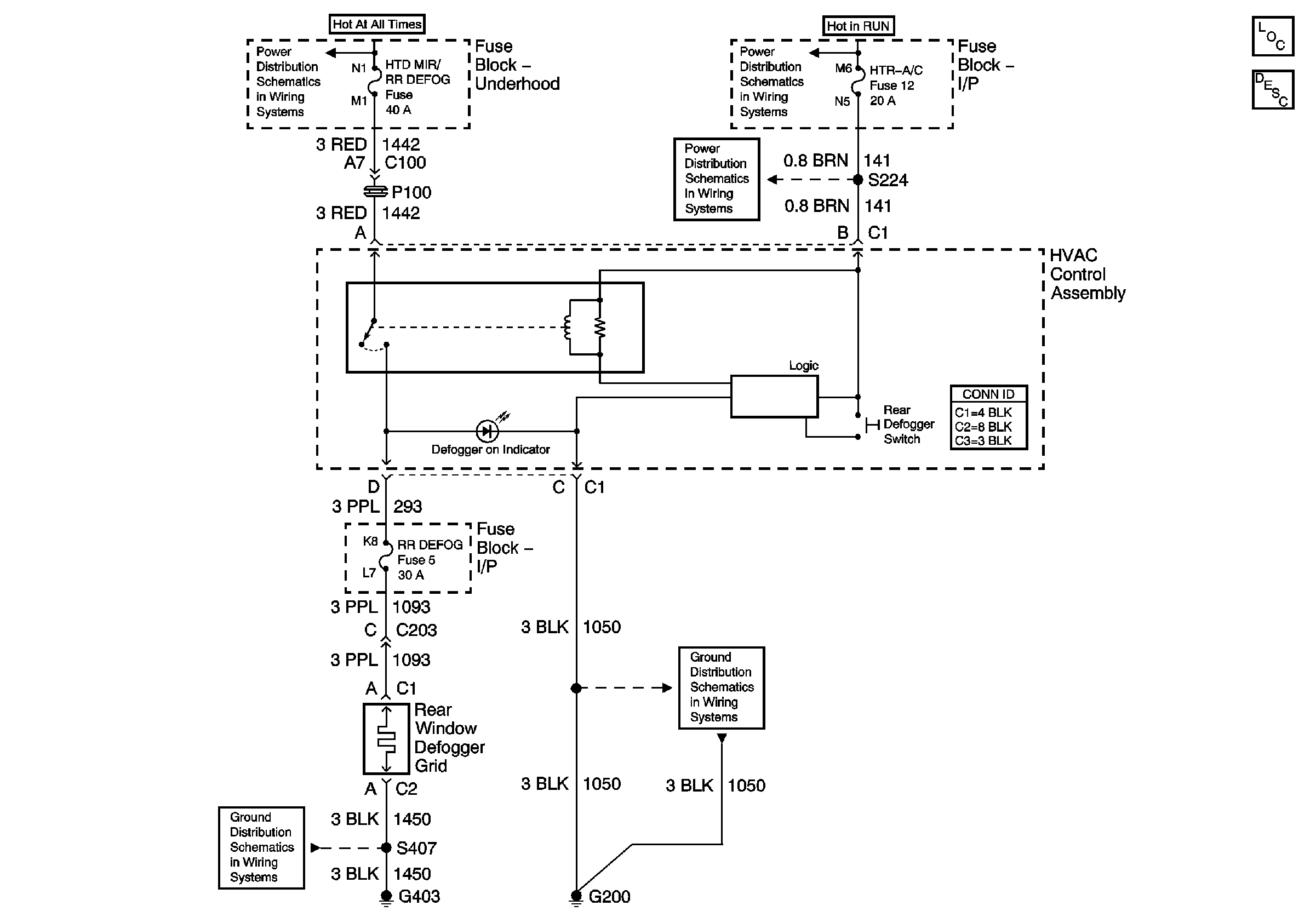
🢒 Defogger Schematics
ING-B Fuse and Ignition Switch
HTR-A/C Fuse 12, BRAKE Fuse 18, and CRUISE Fuse 6
G300, G401 and G403
G200
Battery and Underhood Fuse Block
Master Electrical Component List
Rear Window Defogger Description and Operation