Removal Procedure
- Remove the front door window belt filler.
- Remove the sound insulator patch.
- Disconnect the electrical connector, if equipped.
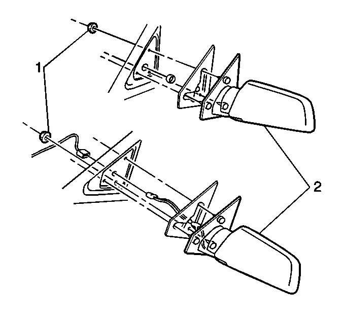
- Remove the nuts (1)
from the mirror.
- Remove the mirror (2) from the door.
Installation Procedure
- Install the mirror (2)
to the door.
Notice: Refer to Fastener Notice in the Preface section.
- Install the nuts (1) to the mirror.
Tighten
Tighten the nuts (1) to the mirror to 10 N·m (88 lb in).
- Connect the electrical connector, if equipped.
- Install the sound insulator patch.
- Install the front door window belt filler.