GM Service Manual Online
For 1990-2009 cars only
Makes
🢒
Chevrolet
🢒
2001
🢒
Astro - 2WD
🢒
Body and Accessories
🢒
Doors
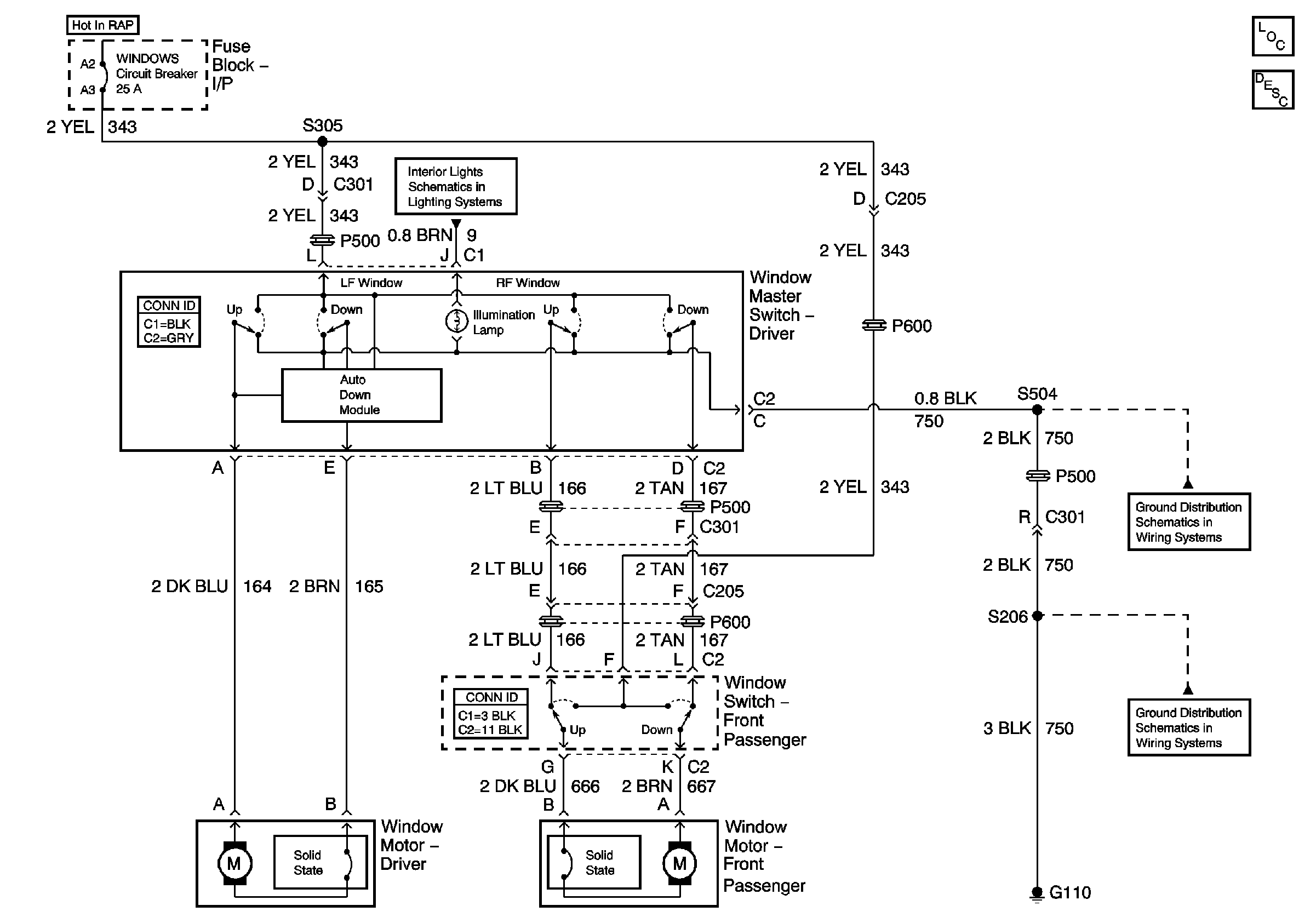
🢒 Power Window Schematics
Courtesy, Reading, Dome, and Stepwells Lamps
G110 (2 of 2)
G110 (1 of 2)
Master Electrical Component List
Power Windows Description and Operation