GM Service Manual Online
For 1990-2009 cars only
Makes
🢒
Chevrolet
🢒
2001
🢒
Astro - 2WD
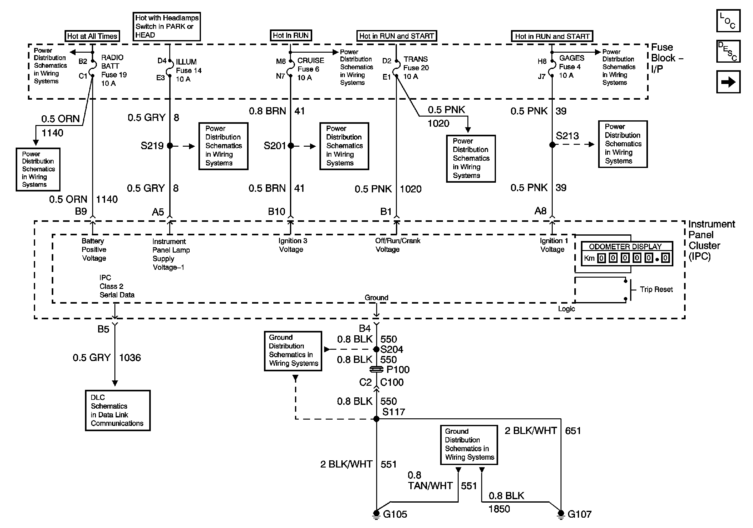
🢒 RADIO BATT Fuse, Data Link, and CRUISE Fuse
RADIO BATT Fuse, Data Link, and CRUISE Fuse
RADIO BATT Fuse, Data Link, and CRUISE Fuse
Master Electrical Component List
Instrument Cluster Description and Operation
ILLUM, TRANS, and GAUGES Fuse, and Grounds (1 of 2)
ING-B Fuse and Ignition Switch
BATT and LIGHTING Fuse
CIG LTR Fuse 13, RADIO BATT Fuse 19 and CRANK Fuse 8
ILLUM Fuse 14
ING-A Fuse and Ignition Switch
HTR-A/C Fuse 12, BRAKE Fuse 18, and CRUISE Fuse 6
TRANS Fuse 20 and WINDOWS Circuit Breaker
GAUGES Fuse 4, AIR BAG Fuse 10, and TURN-B/U Fuse 16
Class 2 Data
G105 and G107
G105 and G107