GM Service Manual Online
For 1990-2009 cars only
Makes
🢒
Chevrolet
🢒
2001
🢒
Astro - 2WD
🢒 Backup Lights
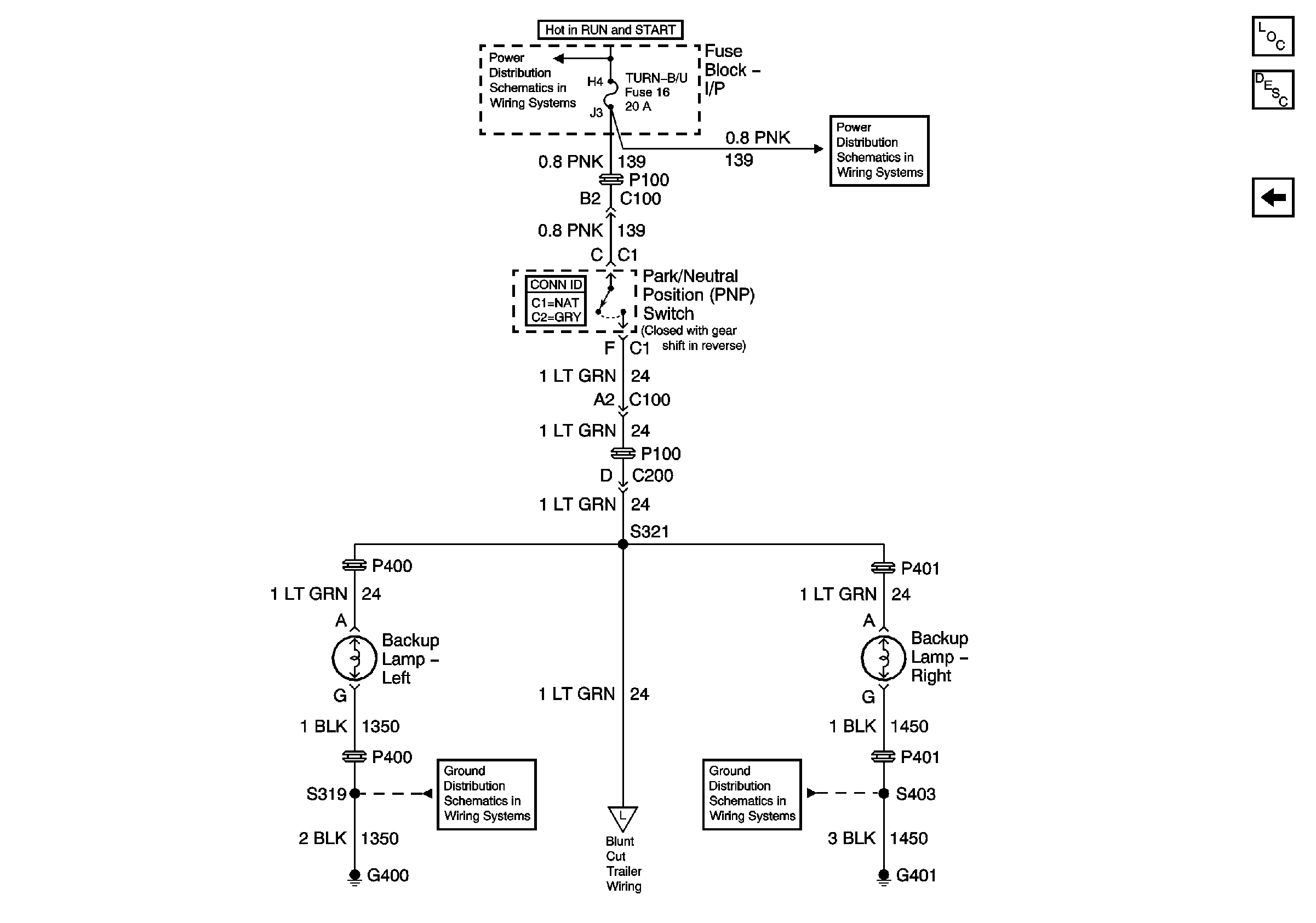
Backup Lights
Backup Lights
Master Electrical Component List
Exterior Lighting Systems Description and Operation
Park Lamp Relay
ING-A Fuse and Ignition Switch
GAUGES Fuse 4, AIR BAG Fuse 10, and TURN-B/U Fuse 16
G300, G303, G400 and G404
Trailer Wiring Harness Connections
G300, G401 and G403