GM Service Manual Online
For 1990-2009 cars only

New lock cylinders are available as replacement parts. If the door lock cylinders require replacement for any reason, apply a coating of lubricant. Use GM P/N 12346241, Canadian P/N 10953474, or the equivalent, inside the lock case and the cylinder keyway prior to assembling and installing the cylinder.

Refer to Lock Cylinder Binding in Doors in order to repair a binding lock cylinder. Refer to Key and Lock Cylinder Coding in General Information in order to code a new lock cylinder.

Removal Procedure

  1. Remove the trim panel and the access cover. Refer to Rear Door Trim Panel Replacement .
  2. Remove the Water Deflector. Refer to Water Deflector Replacement .

  3. Object Number: 705741  Size: SH
  4. Use the following procedure in order to remove the control rod from the outside handle:
  5. 3.1. Pry the clip anchor out of the hole.
    3.2. Push the clip away from the lever.
    3.3. Pull the rod (1) and the clip away from the lever.

    Object Number: 705729  Size: SH
  6. Remove the outside handle nuts.
  7. Remove the outside handle.
  8. Disconnect the license lamp wiring.
  9. Remove the license plate housing bolts.
  10. Remove the license plate housing.
  11. Remove the door lock shield.

  12. Object Number: 326174  Size: SH
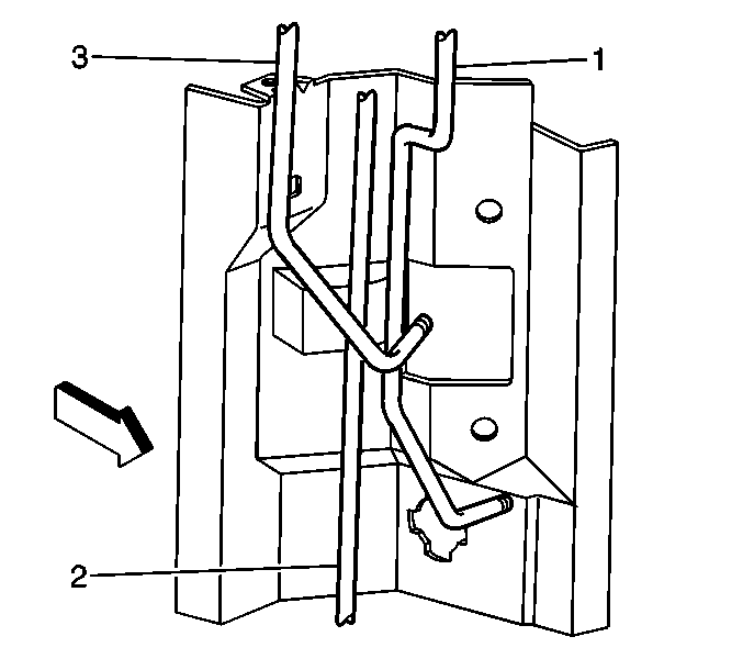
  13. Use the following procedure in order to remove the control rod from the lock cylinder (3):
  14. 10.1. Pry the clip anchor out of the hole.
    10.2. Push the clip away from the lever.
    10.3. Pull the rod and the clip away from the lever.
  15. Remove the lock cylinder retainer (1).
  16. Remove the lock cylinder.

Installation Procedure


    Object Number: 326174  Size: SH
  1. Install the clip to the lock cylinder (3).
  2. Install the lock cylinder to the door.
  3. Install the lock cylinder retainer (1).
  4. Install the control rod to the lock cylinder through the clip.
  5. Install the door lock shield.
  6. Install the license plate housing.
  7. Notice: Refer to Fastener Notice in the Preface section.

  8. Install the license plate housing bolts.
  9. Tighten
    Tighten the bolts to 4 N·m (35 lb in).

  10. Install the license lamp bolts.
  11. Tighten
    Tighten the bolts to 4 N·m (35 lb in).


    Object Number: 705729  Size: SH
  12. Install the clip to the outside handle.
  13. Install the outside handle to the door.
  14. Install the outside handle nuts.
  15. Tighten
    Tighten the nuts to 7 N·m (62 lb in).


    Object Number: 705741  Size: SH
  16. Install the control rod (1) to the outside handle through the clip.
  17. Install the water deflector. Refer to Water Deflector Replacement .
  18. Install the trim panel. Refer to Rear Door Trim Panel Replacement .