GM Service Manual Online
For 1990-2009 cars only
Makes
🢒
Chevrolet
🢒
2005
🢒
Astro - 2WD
🢒
Body
🢒
Body Rear End
🢒 Body Rear End Schematics
Figure
1:
Rear Door Unlock Relay Control
Master Electrical Component List
Rear Hatch/Gate Description and Operation
Liftglass Lock/Unlock Release Switch and Relay
PWR ACCY Circuit Breaker
Door Unlock Relays
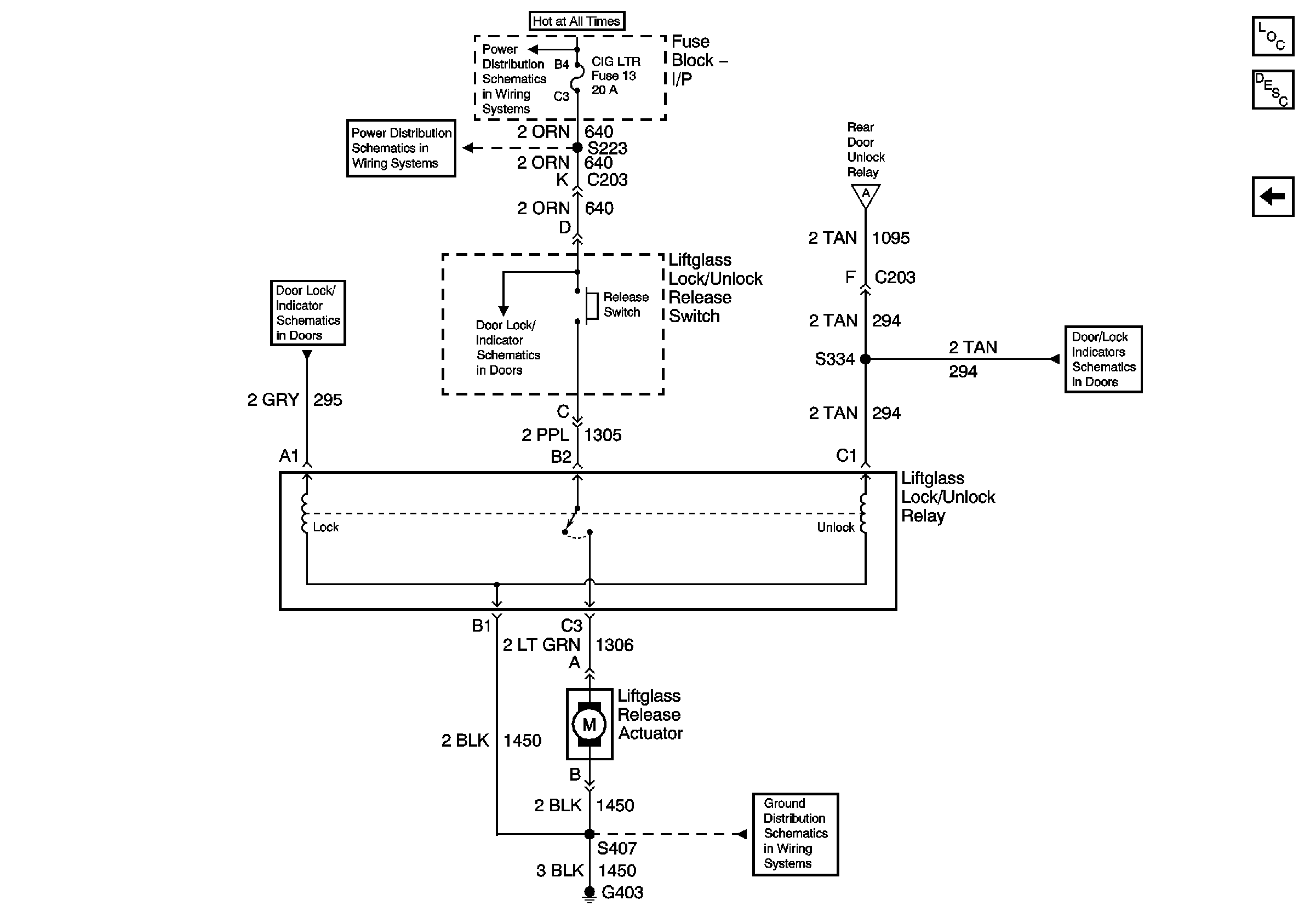
Liftglass Lock/Unlock Release Switch and Relay
Figure
2:
Liftglass Lock/Unlock Release Switch and Relay
Master Electrical Component List
Rear Hatch/Gate Description and Operation
Rear Door Unlock Relay Control
B+ Bus
CIG LTR, CRANK, and RADIO BATT Fuses
Rear Door Unlock Relay Control
Door Lock Actuators - E54
Door Lock Actuators - E54
Door Lock Actuators - E54
G300, G401, and G403