GM Service Manual Online
For 1990-2009 cars only
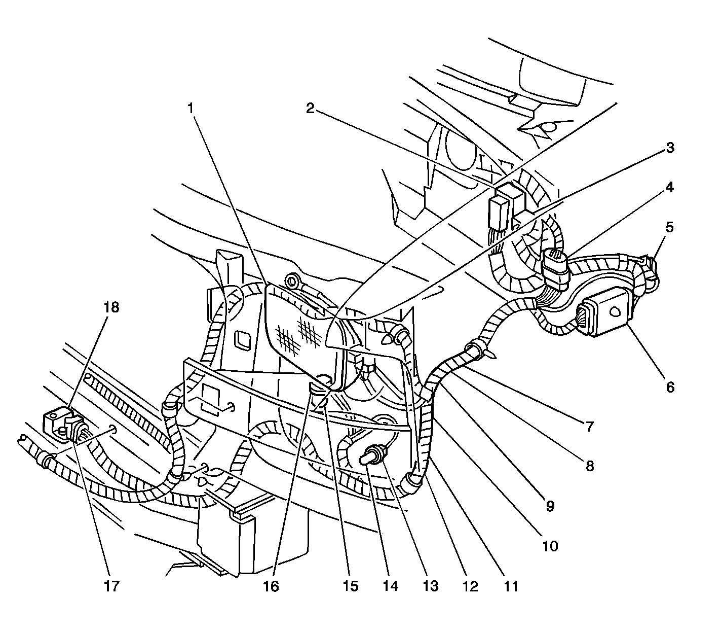
Figure 1:

Forward Lamps Harness, Left Side


Object Number: 786763  Size: LF
(1)Headlamp - LH - Sealed
(2)C100
(3)P100
(4)C104
(5)C109
(6)C102
(7)S132
(8)S131
(9)S103
(10)S102
(11)S105
(12)S104
(13)Marker Lamp - LF Connector
(14)Marker Lamp - LF
(15)Park/Turn Signal Lamp - LF
(16)Park/Turn Signal Lamp - LF Connector
(17)Inflatable Restraint Front End Discriminating Sensor Connector
(18)Inflatable Restraint Front End Discriminating Sensor
Figure 2:

Forward Lamp Harness, Right Side


Object Number: 582030  Size: LF
(1)Rear Window Washer Fluid Pump
(2)S101
(3)Park/Turn Signal Lamp - RF
(4)Park/Turn Signal Lamp - RF Connector
(5)Marker Lamp - RF Connector
(6)Marker Lamp - RF
(7)S106
(8)S100
(9)Headlamp - Right - Sealed
(10)G100
(11)Blower Motor
(12)Windshield Washer Fluid Pump
(13)Blower Motor Resistor Assembly
Figure 3:

Headlamp - LH (RH Similar)


Object Number: 297866  Size: MF
(1)Headlamp - High Beam - Left - Composite
(2)Headlamp - Low Beam - Left - Composite
Figure 4:

Forward Lamp Harness - Left Side


Object Number: 781545  Size: LF
(1)Radiator Support
(2)G101
(3)Repeater Lamp - Left Connector
(4)S104
(5)S105
(6)S102
Figure 5:

Forward Lamp Harness - Right Side


Object Number: 781537  Size: LF
(1)Radiator Support
(2)S100
(3)S106
(4)Repeater Lamp - Right Connector
(5)S101
(6)G100
Figure 6:

Stop Lamp Switch


Object Number: 297850  Size: MF
(1)Stop Lamp Switch Connector
(2)Stop Lamp Switch
Figure 7:

Fuse Block - I/P Wiring


Object Number: 597158  Size: MF
(1)Convenience Center
(2)Turn Signal/Hazard Flasher Module
(3)Horn Relay
(4)Fuse Block - I/P
(5)C213
(6)C212
Figure 8:

I/P Wiring To Front Passenger Door


Object Number: 781531  Size: LF
(1)Door Lock Relay
(2)G200
(3)Door Jamb Switch - Front Passenger
(4)C205
(5)C203
(6)S232
Figure 9:

Instrument Panel Cluster (IPC) Wiring


Object Number: 582011  Size: LF
(1)Body Control Module (BCM)
(1)Body Control Module (BCM)
(2)HVAC Control Assembly
(3)S219
(4)S217
(5)S211
(6)S257
(7)S213
(8)Headlamp and Panel Dimmer Switch
(9)S256
(10) Headlamp and Panel Dimmer Switch Connector
(11)Remote Control Door Lock Receiver (RCDLR)
(12)S210
(13)S254
(14)S209
(15)S255
(16)S212
(17)S218
(18)S221
(19)Instrument Panel Cluster (IPC) Connector
(20)S258
(21)S222
(22)S225
(23)Radio Connectors
(24)Body Control Module (BCM) Connectors
Figure 10:

Dome Lamp Defeat Switch


Object Number: 281314  Size: SF
(1)Dome Lamp Defeat Switch
(2)Dome Lamp Switch (Part of the Headlamp Switch)
Figure 11:

Ambient Light Sensor


Object Number: 558990  Size: SH
(1)Ambient Light Sensor
(2)Ambient Light Sensor Connector
Figure 12:

Tilt Column Shift Steering Column


Object Number: 366103  Size: LF
(1)Upper Shroud
(2)Lower Shroud
(3)Auto Transmission Control Lever Assembly
(4)Shift Lever Screw
(5)Shift Lever Seal
(6)Flanged Prevailing Torque Nut
(7)Bearing Retainer
(8)Inflatable Restraint Steering Wheel Module Coil
(9)Wave Washer
(10)Ring Retainer
(11)Shaft Lock Shield Assembly
(12)Turn Signal Cancel CAM Assembly
(13)Upper Bearing Spring
(14)Upper Bearing Inner Race Seat
(15)Inner Race
(16)Pan Head Tapping Screws
(17)TORX® Head Screw
(18)Lock Module Assembly
(19)Pan Head Tapping Screw
(20)Tapping Screws
(21)Ignition & Key Alarm Switch
(22)Steering Column Tilt Head Assembly
(23)TORX® Head Screw
(24)Wire Harness Strap
(25)Bolt Lock Spring
(26)Lock Bolt Assembly
(27)Spring Guide
(28)Tilt Spring
(29)Shroud Protector
(30)Shroud Mounting Stud
(31)Tilt Lever Assembly
(32)Pan Head Tapping Screw
(33)Pan Head Tapping Screw
(34)Multifunction Turn Signal Lever
(35)Axial Position Assurance Connector
(36)Wire Harness Strap
(37)Lower Steering Shaft Assembly
(38)Joint Preload Spring
(39)Centering Sphere
(40)Race & Upper Shaft Assembly
(41)Linear Shift Assembly
(42)Shift Lever Clevis
(43)Flat Head 6-Lobed Socket Tapping Screw
(44)Cable Shift CAM Assembly
(45)Ball & Actuator Assembly
(46)CAM Bushing
(47)Hexagon Flange Head Bolt
(48)Oval Head 6-Lobed Socket Tapping Screw
(49)Park Lock Cable Assembly
(50)Gear Shift Lever Assembly Support Bracket
(51)TORX® Head Screws
(52)Pivot Pin
(53)Steering Column Support Assembly
(54)Steering Column Jacket Assembly
(55)Adapter & Bearing Assembly
(56)Steering Column Seal
(57)A/T Shift Lock Control Solenoid
Figure 13:

Left Front Interior Wiring


Object Number: 582024  Size: LF
(1)C200
(2)S240
(3)S200
(4)S201
(5)C223
(6)C202
(7)Inflatable Restraint I/P Module
(8)Auxiliary Power Outlet Front #1 Connector
(9)Auxiliary Power Outlet Front #2 Connector
(10)Cigar Lighter Connector
(11)S234
(12)Engine Cover Ground (G201)
(13)Inflatable Restraint Sensing and Diagnostic Module
(14)Inflatable Restraint Sensing and Diagnostic Module Connector
(15)C333
(16)S242
(17)C300
(18)S325
(19)Center High Mounted Stop Lamp (CHMSL) Resistor
(20)S326
(21)S324
(22)S327
(23)Park Brake Switch
(24)S303
(25)S330
(26)S246
(27)S305
(28)S246
Figure 14:

Vanity Mirror Wiring


Object Number: 582022  Size: LF
(1)S237
(2)Vanity Mirror Lamp Connectors
(3)Vanity Mirror Lamp - Right
(4)Convenience Center Connector C6
(5)C200
(6)S236
Figure 15:

Kick Panel - Driver, Wiring


Object Number: 582018  Size: LF
(1)G300
(2)C301
(3)C303
(4)Door Jamb Switch - Driver
Figure 16:

Daytime Running Lamps (DRL) Diode Location View


Object Number: 881094  Size: LF
(1)S307
(2)S301
(3)Daytime Running Lamps (DRL) Diode
(4)Left B Pillar
(5)Daytime Running Lamps (DRL) Diode Connector
(6)S315
(7)S322
Figure 17:

Courtesy Lamp - Left Wiring


Object Number: 581991  Size: LF
(1)Daytime Running Lamps (DRL) Diode
(2)S328
(3)Courtesy Lamp - Left
Figure 18:

I/P Wiring To Front Passenger Door


Object Number: 781531  Size: LF
(1)Door Lock Relay
(2)G200
(3)Door Jamb Switch - Front Passenger
(4)C205
(5)C203
(6)S232
Figure 19:

Side Door Contact Plate And Side Door Jamb Switch Wiring


Object Number: 297705  Size: MH
(1)Right B-Pillar
(2)Side Door Jamb Switch Connectors
(3)Side Door Jamb Switch
(4)Side Door Contact Plate
Figure 20:

Right B Pillar Wiring (Passenger Van)


Object Number: 297822  Size: MH
(1)Stepwell Lamp Right
(2)Courtesy Lamp - Right
Figure 21:

Right B Pillar Wiring (Cargo Van)


Object Number: 297830  Size: MH
(1)Stepwell Lamp Right
(2)Courtesy Lamp - Right
Figure 22:

Dome/Reading Lamp Wiring


Object Number: 297818  Size: MF
(1)Dome Lamp (Front Shown, Center and Rear Similar)
(2)Courtesy/Reading Lamps (Front Shown, Center and Rear Similar)
(1)Dome Lamp (Front Shown, Center and Rear Similar)
(3)Reading Lamps (Front Shown, Center and Rear Similar)
Figure 23:

Center High Mounted Stoplamp (CHMSL)


Object Number: 786967  Size: MF
(1)Center High Mounted Stop Lamp (CHMSL) Connector
(2)Center High Mounted Stop Lamp (CHMSL)
Figure 24:

Door Location View - RR


Object Number: 781527  Size: LF
(1)Door Jamb Switch - Rear
(2)Door Lock Actuator - Rear
(3)License Lamp
(4)Speaker - RR Door (Base Radio) Speaker - RR Subwoofer (Premium Radio)
Figure 25:

License Plate Wiring


Object Number: 297808  Size: MF
(1)License Lamp Connector
(2)License Lamp
Figure 26:

Rear Lamps Wiring (Left Shown, Right Similiar) - Except Export


Object Number: 297806  Size: MF
(1)Tail/Stop and Turn Signal Lamp - Left
(2) Marker Lamp - LR
(3)Backup Lamp - Left