GM Service Manual Online
For 1990-2009 cars only
Makes
🢒
Chevrolet
🢒
2005
🢒
Astro - 2WD
🢒
Body
🢒
Seats
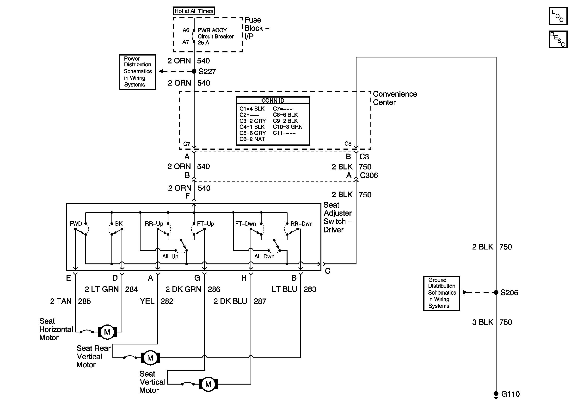
🢒 Driver Seat Schematics
Master Electrical Component List
Power Seats System Description and Operation
PWR ACCY Circuit Breaker
G110 - Page 1 of 2