GM Service Manual Online
For 1990-2009 cars only
Makes
🢒
Chevrolet
🢒
2005
🢒
Astro - 2WD
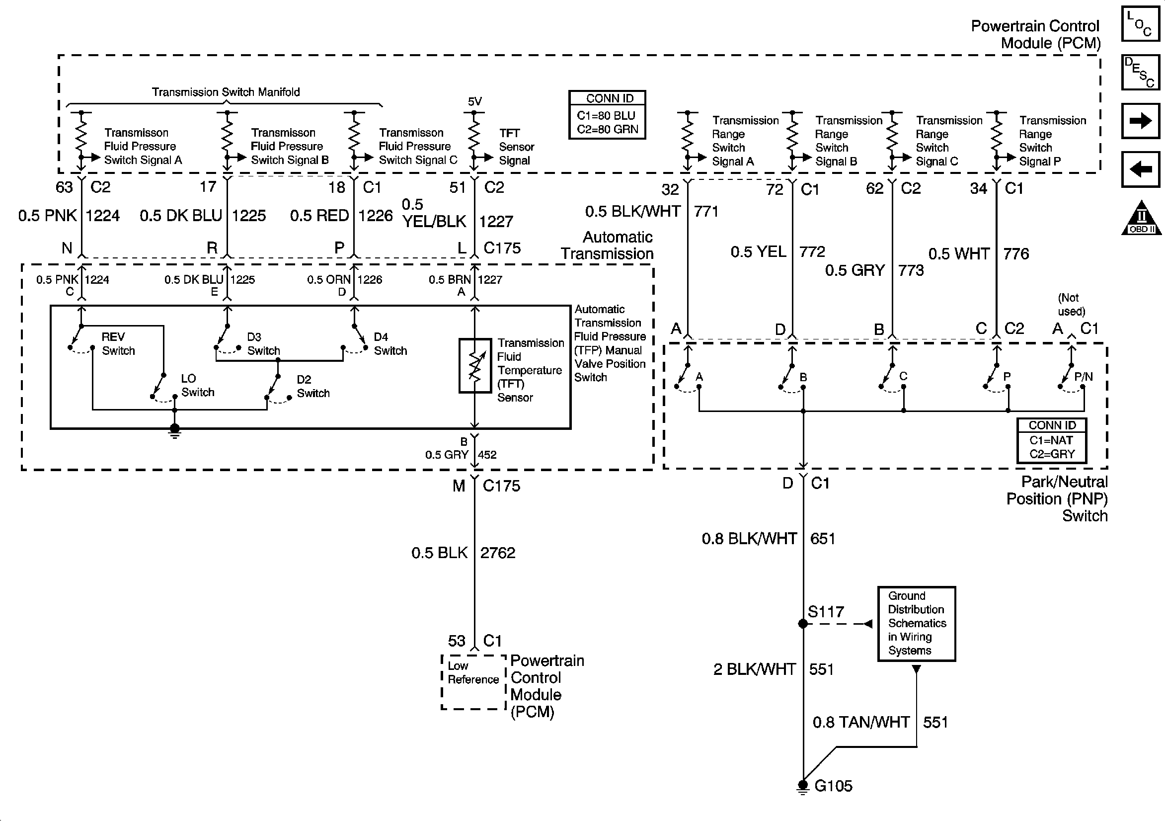
🢒 Switch Inputs and PNP Switch
Switch Inputs and PNP Switch
Switch Inputs and PNP Switch
Master Electrical Component List
Transmission Component and System Description
Tow/Haul Switch and VSS Inputs
Stop Lamp Switch and Valve Controls
OBD II Symbol Description Notice
G105 and G107