GM Service Manual Online
For 1990-2009 cars only

Installation Procedure


    Object Number: 8203  Size: SH
  1. Inspect the forward sprag assembly for the following conditions:
  2. • Wear or damage
    • Weak or broken springs
  3. Inspect the forward clutch outer race for the following conditions:
  4. • Race wear or damage
    • Spline wear
    • Surface finish damage

    Object Number: 8204  Size: SH
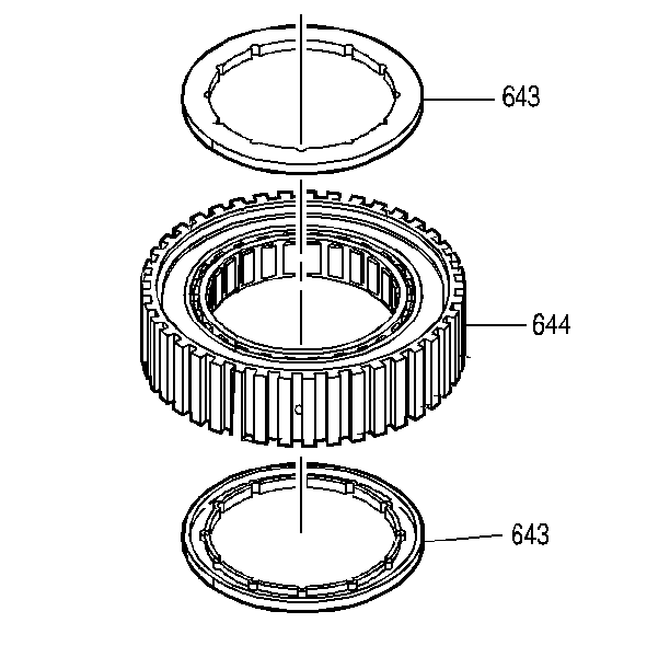
  5. Inspect the sprag assembly retainer rings for wear or damage.
  6. Install the sprag assembly retainer rings into the forward clutch sprag assembly.
  7. Inspect the sprag retainer and race assembly for the following conditions:
  8. • Spline damage
    • Ring groove damage
    • Surface finish damage
    • Loose retainer

    Object Number: 8205  Size: SH
  9. Install the sprag retainer and race assembly into the forward sprag and outer race assembly.
  10. Inspect the overrun clutch hub for the following conditions:
  11. • Spline damage
    • Plugged lubrication holes
    • Damaged tangs
    • Cracks

    Object Number: 8206  Size: SH
  12. Install the overrun clutch hub into the retainer and race assembly.
  13. Install the overrun hub retaining snap ring.
  14. Test the assembly for proper operation. If the assembly operates backwards, you have installed the sprag backwards. Reassemble the sprag correctly.

  15. Object Number: 8208  Size: SH
  16. Install the forward clutch sprag into the input clutch housing.
  17. Index the overrun clutch hub into the overrun clutch plates.