GM Service Manual Online
For 1990-2009 cars only
Makes
🢒
Chevrolet
🢒
1997
🢒
Astro - 4WD
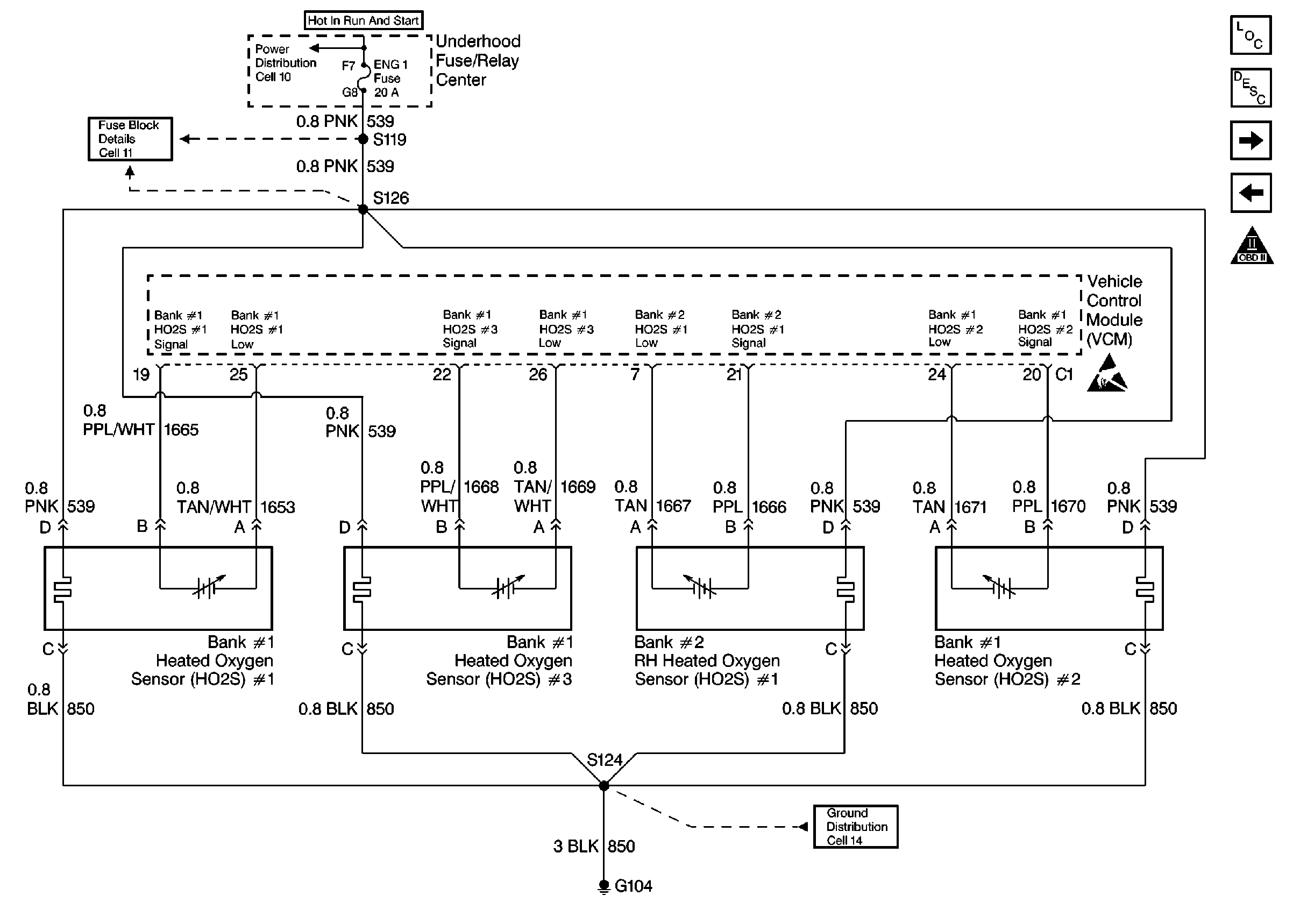
🢒 Oxygen Sensor
Oxygen Sensor
Oxygen Sensor
Engine Controls Components
Vehicle Control Module VCM
Speed and Cruise Controls
Emission Controls
OBD II ICON