GM Service Manual Online
For 1990-2009 cars only

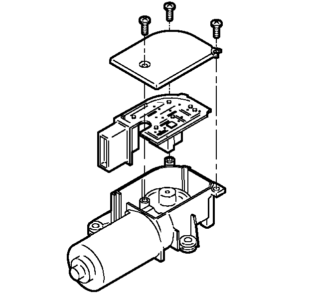
Windshield Wiper System Module Replacement Front

Removal Procedure


    Object Number: 429905  Size: SH
  1. Disconnect the electrical connector from the wiper motor.
  2. Remove the wiper motor cover screws.
  3. Remove the wiper motor cover.
  4. Remove the wiper motor module.

Installation Procedure

Notice: Use the correct fastener in the correct location. Replacement fasteners must be the correct part number for that application. Fasteners requiring replacement or fasteners requiring the use of thread locking compound or sealant are identified in the service procedure. Do not use paints, lubricants, or corrosion inhibitors on fasteners or fastener joint surfaces unless specified. These coatings affect fastener torque and joint clamping force and may damage the fastener. Use the correct tightening sequence and specifications when installing fasteners in order to avoid damage to parts and systems.


    Object Number: 429905  Size: SH
  1. Install the wiper motor module.
  2. Install the wiper motor cover.
  3. Install the wiper motor cover screws.
  4. Tighten
    Tighten the screws to 2.6 N·m (23 lb in).

  5. Connect the electrical connector to the wiper motor.

Windshield Wiper System Module Replacement Rear

Removal Procedure


    Object Number: 439172  Size: SH
  1. Remove the liftgate garnish molding. Refer to Liftgate Garnish Molding Replacement .
  2. Disconnect the two electrical connectors from the controller module assembly.
  3. Drill the heads from the rivets with an appropriate drill bit.
  4. Remove two rivets and the controller assembly from the liftgate.

Installation Procedure


    Object Number: 439172  Size: SH
  1. Install the controller module assembly onto the liftgate.
  2. Install two new rivets with a hand-held rivet gun.
  3. Connect the two electrical connectors to the controller assembly.
  4. Install the liftgate garnish molding. Refer to Liftgate Garnish Molding Replacement .