GM Service Manual Online
For 1990-2009 cars only

Removal Procedure

Tools Required

M 39010 Heavy Duty Rivet Gun

  1. Remove the trim panel. Refer to Rear Door Trim Panel Replacement .
  2. Use a sharp-bladed tool, if needed, in order to separate the water deflector at the perforations. Refer to Water Deflector Replacement .

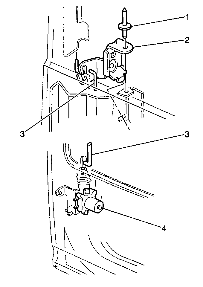
  3. Object Number: 324240  Size: MH
  4. Remove the control rods from the lever (3).
  5. Grind the head of the rivet (1) in order to remove the lever to door rivet.
  6. Remove the lever from the door.

Installation Procedure


    Object Number: 324240  Size: MH
  1. Install the lever to the door.
  2. Use M 39010 in order to install the lever to door rivets (1).
  3. Install the control rods to the lever (3) .
  4. Install the water deflector. Refer to Water Deflector Replacement .
  5. Install the trim panel. Refer to Rear Door Trim Panel Replacement .