GM Service Manual Online
For 1990-2009 cars only

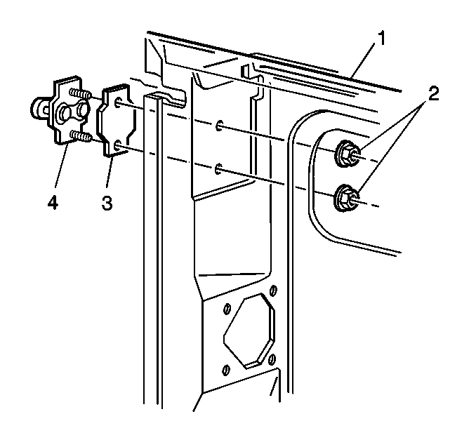
Removal Procedure

  1. Remove the trim panel. Refer to Rear Door Trim Panel Replacement .
  2. Separate the water deflector at the perforations. Use a sharp-bladed tool if needed. Refer to Water Deflector Replacement .

  3. Object Number: 324254  Size: SH
  4. Remove the nuts from the striker (2).
  5. Remove the insulator (3).
  6. Remove the striker (4).

Installation Procedure


    Object Number: 324254  Size: SH
  1. Install the striker to the door (4).
  2. The narrow part on the wedge plate of the striker should point toward the rear of the vehicle.

  3. Install the insulator (3).
  4. Notice: Refer to Fastener Notice in the Preface section.

  5. Install the nuts to the striker (2).
  6. Tighten
    Tighten the nuts to the striker to 30 N·m (22 lb ft).

  7. Install the water deflector. Refer to Water Deflector Replacement .
  8. Install the trim panel. Refer to Rear Door Trim Panel Replacement .