GM Service Manual Online
For 1990-2009 cars only

Removal Procedure


    Object Number: 361686  Size: SH
  1. Disconnect the power steering cooler hose from the steering pump.
  2. Raise the vehicle. Refer to Lifting and Jacking the Vehicle in General Information.
  3. Install a drain pan under the vehicle.
  4. Disconnect the power steering cooler pipe hose from the steering gear.

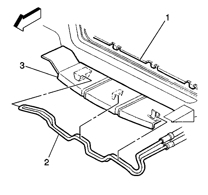
  5. Object Number: 284255  Size: SH
  6. Remove the power steering cooler pipe (2) from the air baffle (3).
  7. Remove the power steering cooler pipe from the vehicle.

Installation Procedure


    Object Number: 284255  Size: SH
  1. Install the power steering cooler pipe to the vehicle.
  2. Install the power steering cooler pipe (2) to the air baffle (3).

  3. Object Number: 361686  Size: SH

    Notice: Use the correct fastener in the correct location. Replacement fasteners must be the correct part number for that application. Fasteners requiring replacement or fasteners requiring the use of thread locking compound or sealant are identified in the service procedure. Do not use paints, lubricants, or corrosion inhibitors on fasteners or fastener joint surfaces unless specified. These coatings affect fastener torque and joint clamping force and may damage the fastener. Use the correct tightening sequence and specifications when installing fasteners in order to avoid damage to parts and systems.

  4. Connect the power steering cooler pipe to the steering gear.
  5. Tighten
    Tighten the power steering cooler pipe to the steering gear to 27 N·m (20 lb ft).

  6. Lower the vehicle.
  7. Connect the power steering cooler hose to the steering pump.
  8. Bleed the power steering system. Refer to Power Steering System Bleeding .