GM Service Manual Online
For 1990-2009 cars only

Removal Procedure

  1. Raise the vehicle. Refer to Lifting and Jacking the Vehicle in General Information.

  2. Object Number: 179845  Size: SH
  3. Remove the brake pipe retainers as necessary.

  4. Object Number: 179853  Size: SH
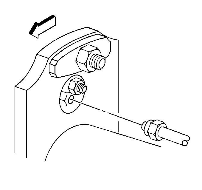
  5. Disconnect the brake pipe from the wheel cylinder.

  6. Object Number: 179855  Size: SH
  7. Disconnect the brake pipe from the junction block.
  8. Remove the brake pipe from the vehicle.

Installation Procedure

Caution: Always use double-walled steel brake pipe when replacing brake pipes. The use of any other pipe is not recommended and may cause brake system failure. Carefully route and retain replacement brake pipes. Always use the correct fasteners and in the original location for replacement brake pipes. Failure to properly route and retain brake pipes may cause damage to the brake pipes and brake system resulting in personal injury.

Important: Brake pipes that run parallel to each other must maintain a 6 mm (0.25 in) clearance.

  1. Install the brake pipe to the vehicle.

  2. Object Number: 179855  Size: SH
  3. Loosely install the brake pipe nuts to the junction block.

  4. Object Number: 179853  Size: SH

    Notice: Use the correct fastener in the correct location. Replacement fasteners must be the correct part number for that application. Fasteners requiring replacement or fasteners requiring the use of thread locking compound or sealant are identified in the service procedure. Do not use paints, lubricants, or corrosion inhibitors on fasteners or fastener joint surfaces unless specified. These coatings affect fastener torque and joint clamping force and may damage the fastener. Use the correct tightening sequence and specifications when installing fasteners in order to avoid damage to parts and systems.

  5. Loosely install the brake pipe nut to the wheel cylinder.
  6. Tighten
    Tighten the brake pipe nuts to 17 N·m (13 lb ft).


    Object Number: 179845  Size: SH
  7. Install the brake pipe retainers as necessary.
  8. Lower the vehicle.
  9. Bleed the brake system. Refer to Hydraulic Brake System Bleeding .