|
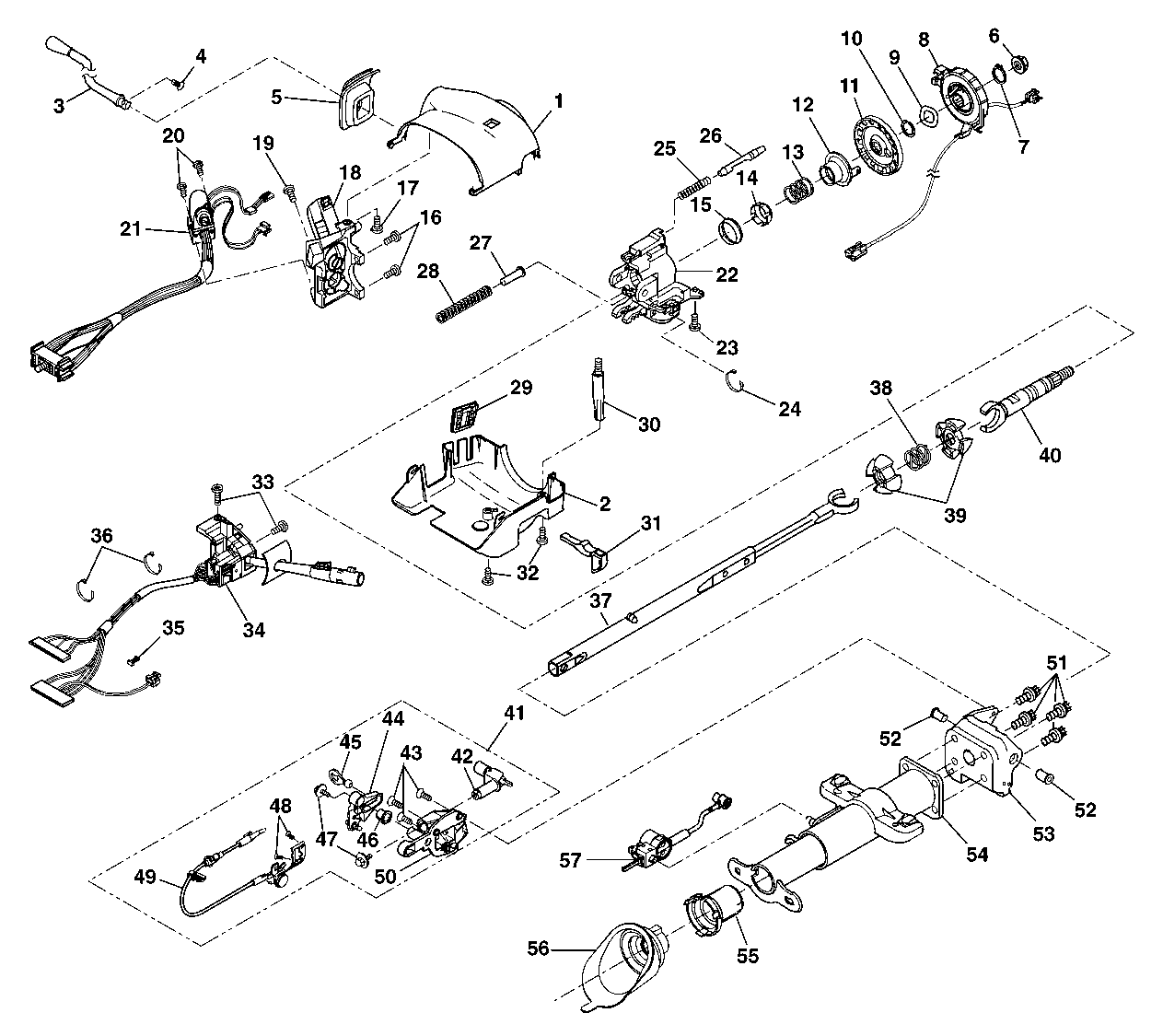
| (1) | Upper Shroud |
| (2) | Lower Shroud |
| (3) | Auto Transmission Control Lever Assembly |
| (4) | Shift Lever Screw |
| (5) | Shift Lever Seal |
| (6) | Flanged Prevailing Torque Nut |
| (7) | Bearing Retainer |
| (8) | SIR Coil Assembly |
| (9) | Wave Washer |
| (10) | Ring Retainer |
| (11) | Shaft Lock Shield Assembly |
| (12) | Turn Signal Cancel CAM Assembly |
| (13) | Upper Bearing Spring |
| (14) | Upper Bearing Inner Race Seat |
| (15) | Inner Race |
| (16) | Pan Head Tapping Screws |
| (17) | TORX® Head Screw |
| (18) | Lock Module
Assembly |
| (19) | Pan Head Tapping Screw |
| (20) | Tapping Screws |
| (21) | Ignition & Key Alarm Switch Assembly |
| (22) | Steering Column Tilt Head Assembly |
| (23) | TORX® Head Screw |
| (24) | Wire Harness
Strap |
| (25) | Bolt Lock Spring |
| (26) | Lock Bolt Assembly |
| (27) | Spring Guide |
| (28) | Tilt Spring |
| (29) | Shroud Protector |
| (30) | Shroud Mounting
Stud |
| (31) | Tilt Lever Assembly |
| (32) | Pan Head Tapping Screw |
| (33) | Pan Head Tapping Screw |
| (34) | Turn Signal
& Multifunction Switch Assembly |
| (35) | Axial Position Assurance Connector |
| (36) | Wire Harness Strap |
| (37) | Lower Steering Shaft Assembly |
| (38) | Joint Preload Spring |
| (39) | Centering
Sphere |
| (40) | Race & Upper Shaft Assembly |
| (41) | Linear Shift Assembly |
| (42) | Shift Lever
Clevis |
| (43) | Flat Head 6-Lobed Socket Tapping Screw |
| (44) | Cable Shift
CAM Assembly |
| (45) | Ball & Actuator Assembly |
| (46) | CAM Bushing |
| (47) | Hexagon Flange Head Bolt |
| (48) | Oval Head 6-Lobed Socket Tapping Screw |
| (49) | Park Lock Cable Assembly |
| (50) | Gear Shift Lever Assembly Support Bracket |
| (51) | TORX® Head Screws |
| (52) | Pivot Pin |
| (53) | Steering Column Support Assembly |
| (54) | Steering Column Jacket Assembly |
| (55) | Adapter & Bearing Assembly |
| (56) | Steering Column Seal |
| (57) | Electrical
(BTSI) Actuator |