GM Service Manual Online
For 1990-2009 cars only

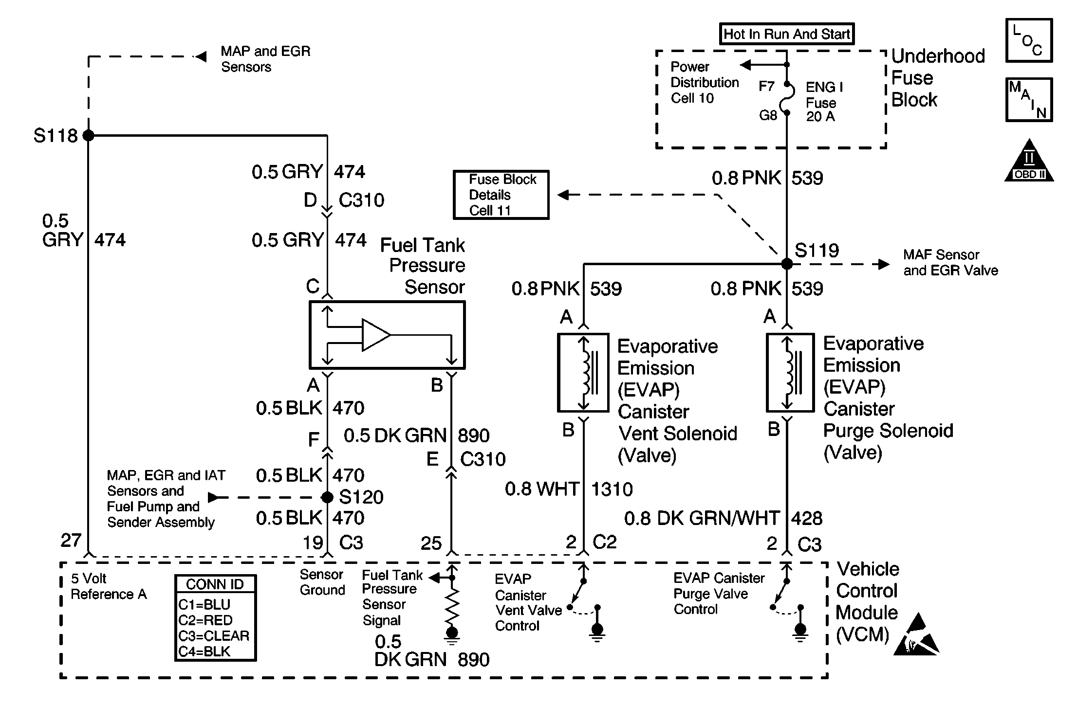
Object Number: 600572  Size: MF
Engine Controls Components
Emission Controls
OBD II Symbol Description Notice
Handling ESD Sensitive Parts Notice

Circuit Description

The evaporative system includes the following components:

    • The fuel tank
    • The evaporative emission (EVAP) vent valve
    • The fuel tank pressure (FTP) sensor
    • The fuel pipes and hoses
    • The vapor lines
    • The fuel cap
    • The EVAP canister
    • The purge lines
    • The EVAP purge valve

The evaporative leak detection diagnostic strategy is based on applying a vacuum to the EVAP system and monitoring the vacuum decay rate. The vehicle control module (VCM) monitors the vacuum level via the FTP sensor input. At an appropriate time, the EVAP purge valve and the EVAP vent valve turn ON, allowing the engine vacuum to draw a small vacuum on the entire EVAP system. If a sufficient vacuum level cannot be achieved, a large leak or an EVAP system malfunction is indicated. The following conditions may cause this problem:

    • A disconnected or malfunctioning FTP sensor
    • A missing, malfunctioning, or improperly installed fuel cap
    • A disconnected, damaged, pinched, or blocked EVAP purge line
    • A disconnected or damaged EVAP vent hose
    • A disconnected, damaged, pinched, or blocked fuel tank vapor line
    • A disconnected or malfunctioning EVAP purge valve
    • A disconnected or malfunctioning EVAP vent valve
    • An open ignition feed circuit to the EVAP vent or purge valves
    • A damaged EVAP canister
    • A leaking fuel sender assembly O-ring
    • A leaking fuel tank or fuel filler neck

Any of the above conditions can set DTC P0440.

Conditions for Running the DTC

    • No active manifold absolute pressure (MAP) sensor DTCs
    • No active throttle position (TP) sensor DTCs
    • No active vehicle speed sensor (VSS) DTCs
    • No active heated oxygen sensor (HO2S) DTCs
    • No active engine coolant temperature (ECT) sensor DTCs
    • No active intake air temperature (IAT) sensor DTCs
    • DTC P0125 is not active
    • The system voltage is between 10 and 17 volts.
    • The fuel level is between 12.5 percent and 87 percent.
    • The ECT is between 4°C and 30°C (39°F- 86°F).
    • The IAT is between 4°C and 30°C (39°F- 86°F).
    • The cold start temperature difference (ECT minus IAT) is more than:
        1.5°C (35°F) when the IAT is more than the ECT.
        OR:
        8°C (46°F) when the ECT is more than the IAT.
    • The barometric pressure (BARO) is more than 73 kPa.

Conditions for Setting the DTC

The EVAP system is unable to generate a vacuum of more than a calibrated value over a specified period of time.

Action Taken When the DTC Sets

    • This is a type A DTC that behaves like a B type, in which the VCM illuminates the malfunction indicator lamp (MIL) during the second key cycle.
    • The VCM stores the conditions that were present when the DTC set as Freeze Frame and Failure Records data.

Conditions for Clearing the MIL or DTC

    • The control module turns OFF the MIL after 3 consecutive drive trips when the test has run and passed.
    • A history DTC will clear if no fault conditions have been detected for 40 warm-up cycles. A warm-up cycle occurs when the coolant temperature has risen 22°C (40°F) from the startup coolant temperature and the engine coolant reaches a temperature that is more than 70°C (158°F) during the same ignition cycle.
    • Use a scan tool in order to clear the DTCs.

Diagnostic Aids

Important: An accurate indication of the fuel level is required for the VCM to properly pass or fail this DTC. Always diagnose any fuel level sensor DTCs before performing this diagnostic. Always check for fuel level sensor DTCs stored in history.

Inspect for the following conditions:

    • A missing, damaged, incorrect, or improperly installed fuel cap
    • Any missing or damaged O-rings at the fuel vapor and purge line fittings of the EVAP canister
    • A cracked or punctured EVAP canister
    • A damaged or disconnected EVAP purge line, vent hose, or fuel tank vapor line
    • Any incorrectly routed or defective EVAP system purge and vapor lines
    • A poor connection at the VCM
        Inspect the harness connectors for the following conditions:
       - Backed-out terminals
       - Improper mating
       - Broken locks
       - Improperly formed or damaged terminals
       - Faulty terminal-to-wire connection
    • A damaged harness. Inspect the wiring harness to the EVAP vent valve, the EVAP purge valve, and the FTP sensor for an intermittent, open, or short circuit.
    • A kinked, pinched, or plugged EVAP purge or fuel tank vapor line.

Refer to Evaporative Emission System Cleaning before starting repairs.

Reviewing the Failure Records vehicle mileage since the diagnostic test last failed may help determine how often the condition that caused the DTC to set occurs. This may assist in diagnosing the condition.

Test Description

The numbers below refer to the step numbers on the diagnostic table.

  1. Inspect the service port. Make sure that the valve core is not damaged. If the service port is suspect of leakage perform the following procedure:

    Disconnect the purge line from the EVAP purge valve.

    Connect a hand vacuum pump to the service port by placing the hose/adaptor over the unthreaded end portion of the service port.

    Apply vacuum to 5 inches Hg. If the vacuum does not hold replace the entire purge line which contains the service port.

  2. If the vehicle passes the Service Bay Test, then an intermittent leak or restriction had occurred. Inspect the fuel tank cap for a condition that may have caused this DTC to set.

    If the Service Bay Test can not be run, proceed to Step 5. If a fault is not currently present the diagnostic table steps will return you to Step 3.

  3. Refer to the information supplied with the EVAP pressure/purge diagnostic cart on correct setup and adjustment procedures.

  4. With pressure applied it may be necessary to disconnect the EVAP lines at the components to verify that a line or component is not restricted. A restriction would prevent a vacuum, or the Step 9 test pressure, from forming in the fuel tank.

  5. An EVAP pressure sensor that does not correctly respond to vacuum will cause this DTC to set.

    The EVAP pressure sensor monitors a range of -7.5 inches H2O of pressure to 17.5 inches H2O of pressure.

Step

Action

Values

Yes

No

1

Did you perform the Powertrain On-board Diagnostic (OBD) System check?

--

Go to Step 2

Go to Powertrain On Board Diagnostic (OBD) System Check

2

Inspect for DTCs P0442, P0446, P0452, P0453, P0461, P0462, P0463 and P1441.

Are any of the above EVAP system DTCs stored in History?

--

Go to the applicable DTC tables

Go to Step 3

3

  1. Inspect the EVAP system for the following conditions:
  2. • A loose, incorrect, or missing fuel tank cap
    • Any improperly routed, kinked or damaged EVAP system purge lines
    • A damaged EVAP system component
    • A loose, missing, or damaged service port dust cap and/or Schrader valve.
  3. Repair the EVAP system if needed.

Was a repair made to the EVAP system?

--

Go to Step 25

Go to Step 4

4

Important: Before proceeding with the Service Bay Test the vehicle MUST meet the operating criteria.

  1. Ensure the following conditions are met:
  2. • Clear the DTC information.
    • The battery voltage is between 10.5 and 17.5 volts.
    • The fuel level is between 15 percent and 85 percent.
    • The key-ON engine temperature is more than 80°C (176°F).
    • If any of the conditions are not met the scan tool will display Test Aborted upon activating the Service Bay Test:
  3. Record the data stored when the DTC set and clear the DTCs.
  4. Using the scan tool, perform the Service Bay Test for the EVAP system.

Does the vehicle pass the Service Bay Test?

--

Go to Diagnostic Aids

Go to Step 5

5

  1. Turn OFF the ignition.
  2. Connect a vacuum gauge that will measure inches Hg. directly to the purge connection of the EVAP purge valve.
  3. Start and idle the engine.
  4. Using a scan tool command the EVAP purge valve to 100 percent purge.

Is the vacuum more than or equal to the specified value?

12 in. Hg

Go to Step 6

Go to Step 11

6

  1. Turn the ignition OFF.
  2. Disconnect the fuel tank vapor and the EVAP purge line from the EVAP vapor canister.
  3. Plug the canister fitting for the fuel tank vapor line.
  4. Connect a hand vacuum pump to the EVAP purge line canister fitting.
  5. With the ignition ON, command the EVAP vent valve ON with the scan tool.
  6. Using the hand vacuum pump apply vacuum up to the specified value.

Can the specified vacuum be obtained and held?

5 in. Hg

Go to Step 9

Go to Step 7

7

  1. Leave system connected as in Step 6.
  2. Disconnect the vent line at the EVAP vent valve.
  3. Plug the vent line.
  4. Using the hand vacuum pump apply vacuum up to the specified value.

Can the specified vacuum be obtained and held?

5 in Hg

Go to Step 15

Go to Step 8

8

  1. Inspect the EVAP vent line from the canister to the EVAP vent valve for leaks.
  2. Replace if necessary.

Was a problem found and repaired?

--

Go to Step 25

Go to Step 21

9

    Important: The following steps require the J 41413 EVAP pressure/purge diagnostic station and the J 41416 ultrasonic leak detector .

    Always zero the EVAP pressure and vacuum (inches H2O) gauges on the EVAP pressure/purge diagnostic station before proceeding with diagnosis.

  1. Turn the ignition OFF.
  2. Remove the plug and the hand vacuum pump.
  3. Reconnect the EVAP vapor canister purge and tank vent lines.
  4. Connect the J 41413 EVAP pressure/purge diagnostic station to the EVAP system service port.
  5. Using a scan tool, command the EVAP vent valve closed.
  6. Important: DO NOT apply more than 15 inches H2O of pressure to the EVAP system.

  7. Continuously attempt to pressurize the EVAP system by leaving the EVAP pressure/purge diagnostic station control knob in the pressurize position.
  8. Using the J 41416 ultrasonic leak detector, locate and repair EVAP system leak.

Was a leak found and repaired?

--

Go to Step 25

Go to Step 10

10

  1. Inspect the EVAP system for restrictions.
  2. Repair as necessary.

Was a problem found and repaired?

--

Go to Step 25

Go to Step 22

11

  1. Turn ON the ignition, leaving the engine OFF.
  2. Disconnect the EVAP purge valve connector.
  3. Connect a test lamp between the ignition feed circuit of the purge valve and a known good engine ground.

Does the test lamp illuminate?

--

Go to Step 12

Go to Step 13

12

  1. Connect the test lamp between the ignition feed circuit and the control circuit of the EVAP purge valve.
  2. Use the scan tool to command the EVAP purge valve ON.

Does the test lamp illuminate?

--

Go to Step 19

Go to Step 14

13

  1. Inspect for the cause of no power to the ignition feed circuit of the EVAP purge valve . Possible causes include the following:
  2. • An open ignition feed circuit
    • A shorted ignition feed circuit
    • A shorted EVAP purge valve
    • No power to the EVAP purge valve fuse
  3. Repair as necessary.

Is the repair complete?

--

Go to Step 25

--

14

  1. Test the control circuit of the EVAP purge valve for an open condition.
  2. Repair as necessary.

Was a problem found and repaired?

--

Go to Step 25

Go to Step 24

15

  1. Turn ON the ignition, leaving the engine OFF.
  2. Disconnect the EVAP canister vent valve connector.
  3. Connect a test lamp between the ignition feed circuit of the EVAP canister vent valve and ground.

Does the test lamp illuminate?

--

Go to Step 16

Go to Step 17

16

  1. Connect the test lamp between the ignition feed circuit and the control circuit of the EVAP canister vent valve.
  2. Use the scan tool to command the EVAP canister vent valve ON.

Does the test lamp illuminate?

--

Go to Step 20

Go to Step 18

17

  1. Inspect for the cause for no-power to the ignition feed circuit of the EVAP canister vent valve . Possible causes include the following:
  2. • An open ignition feed circuit
    • A shorted ignition feed circuit
    • A shorted EVAP canister vent valve
    • No power to the vent valve fuse
  3. Repair as necessary.

Is the repair complete?

--

Go to Step 25

--

18

  1. Inspect the control circuit of the EVAP canister vent valve for an open condition.
  2. Repair as necessary.

Was problem found and repaired?

--

Go to Step 25

Go to Step 24

19

Important: Inspect the EVAP purge valve and the purge line for carbon contamination. Refer to Diagnostic Aids.

Replace the EVAP purge valve. Refer to Evaporative Emission Canister Purge Solenoid Valve Replacement .

Is the replacement complete?

--

Go to Step 25

--

20

Replace the EVAP vent valve. Refer to Evaporative Emission Vent Valve Replacement .

Is the replacement complete?

--

Go to Step 25

--

21

Replace the EVAP vapor canister. Refer to Evaporative Emission Canister Replacement .

Is the replacement complete?

--

Go to Step 25

--

22

  1. Relieve all system pressure.
  2. Using the scan tool, use the purge/seal function to turn the EVAP purge valve ON to varying vacuum levels with the engine running and quickly seal the system with the scan tool. Leaving the EVAP purge valve ON for higher percents or longer times will allow a higher amount of vacuum to develop. A maximum of 8.5 inches H2O of vacuum can be applied to the EVAP system using the scan tool.
  3. While the system is sealed, compare the EVAP pressure/purge diagnostic station's vacuum gauge (inches H2O) to the vacuum shown on the scan tool by the FTP sensor. Allow a few seconds for the system to stabilize.

Do the values indicate the same amount of vacuum in the EVAP system to within the specified value?

2 in. H2O

Go to Step 3

Go to Step 23

23

Replace the fuel tank pressure sensor. Refer to Fuel Tank Pressure Sensor Replacement .

Is the replacement complete?

--

Go to Step 25

--

24

Important: The replacement VCM must be programmed.

Replace the VCM. Refer to VCM Replacement/Programming .

Is the action complete?

--

Go to Step 25

--

25

  1. Using the scan tool, clear the DTCs.
  2. Start the engine.
  3. Allow the engine to idle until the engine reaches a normal operating temperature.
  4. Select the DTC and the Specific DTC functions.
  5. Enter the DTC number which was set.
  6. Operate the vehicle within the Conditions for Setting the DTC until the scan tool indicates the diagnostic Ran.

Does the scan tool indicate the diagnostic Passed?

--

Go to Step 26

--

26

Does the scan tool display any additional undiagnosed DTCs?

--

Go to applicable DTC table

System OK